申請日2016.05.11
公開(公告)日2016.07.06
IPC分類號E04H5/02
摘要
本發明公開了一種景觀花園式污水廠,污水處理池分隔成一級處理池、二級處理池、三級處理池以及清水池,三級處理池內的水能經過第三隔墻流往清水池以形成瀑布景觀;將污水處理池沿污水處理流動的方向分隔成一級處理池、二級處理池、三級處理池以及清水池,采用一體化設計,使污水處理廠的結構緊湊、布局科學合理,空間利用高,且在污水處理池的外側和縱向參觀通道兩側設有綠化帶以及在三級處理池與清水池之間形成瀑布景觀,使得本發明污水處理廠形成一景觀,具有生態園林特色,有效改變人們對污水處理廠中臟、臭、亂的印象,另外人們通過縱向參觀通道可以觀察污水處理的流程,便于管理維護人員作業,也可進一步向觀賞者普及環保意識,具有意義重大的特點。
權利要求書
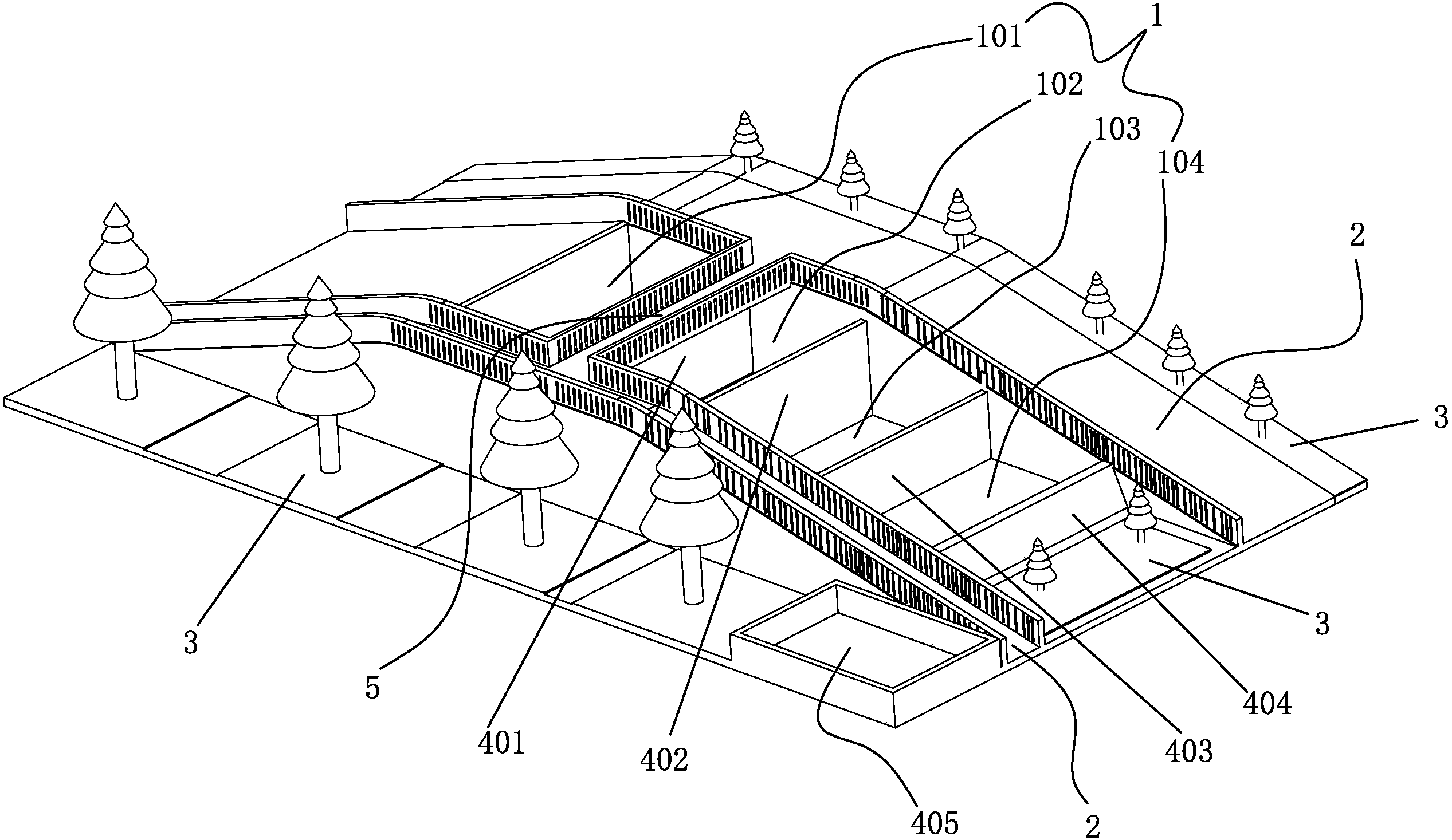
1.一種景觀花園式污水廠,其特征在于包括污水處理池(1)和設于所述污水處理池(1)外側的縱向參觀通道(2),所述的污水處理池(1)外側和縱向參觀通道(2)兩側設有綠化帶(3),所述的污水處理池(1)內設有將所述污水處理池(1)分隔成一級處理池(101)、二級處理池(102)、三級處理池(103)以及清水池(104)的第一隔墻(401)、第二隔墻(402)、第三隔墻(403)和第四隔墻(404),所述的第四隔墻(404)低于所述的第三隔墻(403)使得三級處理池(103)內的水能經過第三隔墻(403)流往清水池(104)以形成瀑布景觀。
2.根據權利要求1所述的一種景觀花園式污水廠,其特征在于所述的縱向參觀通道(2)包含與入口地面相連的斜坡A(201),與所述斜坡A(201)相連的平直段(202)以及連接所述平直段(202)和出口地面之間的斜坡B(203)。
3.根據權利要求1或2所述的一種景觀花園式污水廠,其特征在于所述的污水處理池(1)上跨設有連接污水處理池(1)兩側縱向參觀通道(2)的橫向通道(5)。
4.根據權利要求3所述的一種景觀花園式污水廠,其特征在于所述的橫向通道(5)跨設在所述的一級處理池(101)與二級處理池(102)之間。
5.根據權利要求1所述的一種景觀花園式污水廠,其特征在于所述的第三隔墻(403)低于所述的第二隔墻(402)使得二級處理池(102)內的水能經過第二隔墻(402)流往三級處理池(103)以形成水簾。
6.根據權利要求1所述的一種景觀花園式污水廠,其特征在于所述的清水池(104)一側設有與所述清水池(104)通過暗管連通的景觀池(105),所述的景觀池(105)與排水通道連通。
7.根據權利要求1所述的一種景觀花園式污水廠,其特征在于所述的一級處理池(101)和二級處理池(102)之間通過暗管連通。
8.根據權利要求1所述的一種景觀花園式污水廠,其特征在于所述的清水池(104)內設有用于制造噴泉的噴泉裝置。
說明書
一種景觀花園式污水廠
【技術領域】
本發明涉及污水處理廠,尤其是一種景觀花園式污水廠。
【背景技術】
污水中含有大量的不溶于水的懸浮物、有機物以及溶于水的化合物,目前處理污水的方法大多采用物理、化學和生物三種方法結合;現有的污水處理廠普遍存在臟、亂、臭等缺點,因此,一般選址都比較偏僻,人們都忌諱靠近污水處理廠工作或生活。特別是對廠區環境衛生要求高的食品廠、化工廠及其他企業,以及要求對人影響盡量小的醫院、小型城市污水廠等。
本發明即針對現有技術的不足而研究提出。
【發明內容】
本發明要解決的技術問題是提供一種景觀花園式污水廠,包括污水處理池和設于污水處理池外側的縱向參觀通道,污水處理池外側和縱向參觀通道兩側均設有綠化帶,污水處理池內分隔成一級處理池、二級處理池、三級處理池以及清水池,且三級處理池內的水能經過第三隔墻流往清水池以形成瀑布景觀;將污水處理池沿污水處理流動的方向分隔成呈階梯結構一級處理池、二級處理池、三級處理池以及清水池,使污水處理廠的結構緊湊、布局合理,不僅能高效地利用空間,減少土地資源的浪費,而且在污水處理池的外側和縱向參觀通道兩側設有綠化帶以及在三級處理池與清水池之間形成瀑布景觀,使得本發明污水處理廠形成一景觀,采用一體化設計,具有生態園林特色,有效改變人們對污水處理廠中臟、臭、亂的印象,同時人們通過縱向參觀通道可以觀察污水處理的流程,便于管理維護人員作業,也可進一步向觀賞者普及環保意識,具有意義重大的特點。
為解決上述技術問題,本發明一種景觀花園式污水廠,包括污水處理池和設于所述污水處理池外側的縱向參觀通道,所述的污水處理池外側和縱向參觀通道兩側設有綠化帶,所述的污水處理池內設有將所述污水處理池分隔成一級處理池、二級處理池、三級處理池以及清水池的第一隔墻、第二隔墻、第三隔墻和第四隔墻,所述的第四隔墻低于所述的第三隔墻使得三級處理池內的水能經過第三隔墻流往清水池以形成瀑布景觀。
如上所述的一種景觀花園式污水廠,所述的縱向參觀通道包含與入口地面相連的斜坡A,與所述斜坡A相連的平直段以及連接所述平直段和出口地面之間的斜坡B。
如上所述的一種景觀花園式污水廠,所述的污水處理池上跨設有連接污水處理池兩側縱向參觀通道的橫向通道。
如上所述的一種景觀花園式污水廠,所述的橫向通道跨設在所述的一級處理池與二級處理池之間。
如上所述的一種景觀花園式污水廠,所述的第三隔墻低于所述的第二隔墻使得二級處理池內的水能經過第二隔墻流往三級處理池以形成水簾。
如上所述的一種景觀花園式污水廠,所述的清水池一側設有與所述清水池通過暗管連通的景觀池,所述的景觀池與排水通道連通。
如上所述的一種景觀花園式污水廠,所述的一級處理池和二級處理池之間通過暗管連通。
如上所述的一種景觀花園式污水廠,所述的清水池內設有用于制造噴泉的噴泉裝置。
與現有技術相比,本發明的一種景觀花園式污水廠,具有如下優點:
1、通過第一隔墻、第二隔墻、第三隔墻和第四隔墻將污水處理池分隔成一級處理池、二級處理池、三級處理池以及清水池,采用一體化設計,使污水處理廠的結構緊湊、布局科學合理,能高效地利用空間,減少土地資源的浪費;在污水處理池的外側和縱向參觀通道兩側設有綠化帶以及在三級處理池與清水池之間形成瀑布景觀,使得本發明具有生態園林特色的景觀式污水處理廠,有效改變人們對污水處理廠中臟、臭、亂的印象。
2、在污水處理池的外側設有包含斜坡A、平直段和斜坡B的縱向參觀通道,同時人們通過縱向參觀通道可以觀察污水處理的流程,便于管理維護人員對一級處理池、二級處理池和三級處理池內的沉積物進行打撈清理作業,并運輸出去,使景觀花園式污水廠維護起來更加便捷;也可進一步向觀賞者普及環保意識,具有意義重大的特點。
3、為進一步方便管理維護人員工作,在污水處理池上跨設有連接污水處理池兩側縱向參觀通道的橫向通道。
4、通過綠化以及將處理達標后的污水通過瀑布、水簾、噴泉等形式進行造景,有效改善了管理維護人員的工作環境。



