申請日2016.05.04
公開(公告)日2016.09.21
IPC分類號C02F9/12
摘要
本實用新型公開了一種用于水處理的過濾裝置,采用磁化池、電磁鐵和晶體團排污口的結構構成了一個磁化系統,實現了使水磁化并且水垢污染物結晶的目的,當水流經電磁場時,水中的離子在電磁場的作用下,失去化學性、物理性和相互吸引的能力,逐漸形成晶體團沉入底部,從晶體團排污口排出,從而達到防垢的目的,采用保安過濾器、高壓泵、高壓水箱和反滲透膜的結構真正完成了對污水的過濾和凈化,使磁化水在壓力的作用下滲透過孔徑只有0.0001微米的反滲透膜,病毒體無法通過并從第二排污口排出,整個裝置設計合理新穎,高效且經濟,還為企業節省了不少人力,較之傳統的裝置更好。
權利要求書
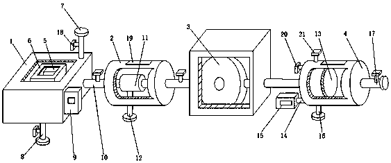
1.一種用于水處理的過濾裝置,包括磁化池(1)、保安過濾器(2)、高壓泵(3)和高壓水箱(4),其特征在于:所述磁化池(1)的內壁底面上安裝有電磁鐵(5),所述電磁鐵(5)的外圍設有一層密封罩(6),所述磁化池(1)的上表面設有進水口(7),所述磁化池(1)的底部設有晶體團排污口(8),所述磁化池(1)的外壁一側安裝有控制器(9),所述磁化池(1)通過管道(10)連接保安過濾器(2),所述磁化池(1)和保安過濾器(2)之間的管道(10)貫穿保安過濾器(2)一側的外壁并連接保安過濾器(2)內部的濾芯(11),所述濾芯(11)的底部通過管道(10)連接保安過濾器(2)下方的第一排污口(12),所述濾芯(11)的一側通過管道(10)連接高壓泵(3)的進口,所述高壓泵(3)的出口通過管道(10)連接高壓水箱(4),所述高壓水箱(4)的內部設有反滲透膜(13),所述高壓水箱(4)的內部設有水壓計(14),所述水壓計(14)貫穿高壓水箱(4)的外壁并連接水壓顯示調節裝置(15),所述高壓水箱(4)的底部設有第二排污口(16),所述高壓水箱(4)的另一側設有凈水出口(17),所述進水口(7)、晶體團排污口(8)、凈水出口(17)、磁化池(1)與保安過濾器(2)之間的管道(10)上和保安過濾器(2)與高壓泵(3)之間的管道(10)上均設有電磁閥(18),所述電磁鐵(5)、高壓泵(3)、水壓顯示調節裝置(15)和電磁閥(18)均與控制器(9)電連接。
2.根據權利要求1所述的一種用于水處理的過濾裝置,其特征在于:所述保安過濾器(2)的頂部設有頂蓋(19),所述保安過濾器(2)內部的濾芯(11)通過旋轉接頭與管道(10)螺紋連接。
3.根據權利要求1所述的一種用于水處理的過濾裝置,其特征在于:所述高壓水箱(4)的頂部設有頂蓋(19),所述高壓水箱(4)內部設有固定槽,所述反滲透膜(13)上設有與固定槽匹配的卡扣。
4.根據權利要求1所述的一種用于水處理的過濾裝置,其特征在于:所述濾芯(11)內部的孔徑不小于5微米,所述反滲透膜(13)的滲透孔徑不大于0.0001微米。
5.根據權利要求1所述的一種用于水處理的過濾裝置,其特征在于:所述高壓水箱(4)的一側設有進氣口(20),所述高壓水箱(4)的上表面設有出氣口(21)。
說明書
一種用于水處理的過濾裝置
技術領域
本實用新型涉及水處理技術領域,具體為一種用于水處理的過濾裝置。
背景技術
隨著當今世界科技的飛速發展,污水的處理凈化問題越來越被人們所關注,傳統的水處理過濾裝置僅僅通過沉降和化學反應等環節對廢水進行處理但是沉降的收效甚微,而且水中的一些懸浮顆粒物仍然存在,只能通過過濾網來去除,但是傳統的過濾網過濾孔徑太大,過濾效果太差,除此以外,使用化學反應來處理水容易對水造成二次污染,經過化學反應后的水體含有大量化學物質,易對農作物和動物甚至人類造成傷害,為此,我們提出一種用于水處理的過濾裝置。
實用新型內容
本實用新型的目的在于提供一種用于水處理的過濾裝置,以解決上述背景技術中提出的問題。
為實現上述目的,本實用新型提供如下技術方案:一種用于水處理的過濾裝置,包括磁化池、保安過濾器、高壓泵和高壓水箱,所述磁化池的內壁底面上安裝有電磁鐵,所述電磁鐵的外圍設有一層密封罩,所述磁化池的上表面設有進水口,所述磁化池的底部設有晶體團排污口,所述磁化池的外壁一側安裝有控制器,所述磁化池通過管道連接保安過濾器,所述磁化池和保安過濾器之間的管道貫穿保安過濾器一側的外壁并連接保安過濾器內部的濾芯,所述濾芯的底部通過管道連接保安過濾器下方的第一排污口,所述濾芯的一側通過管道連接高壓泵的進口,所述高壓泵的出口通過管道連接高壓水箱,所述高壓水箱的內部設有反滲透膜,所述高壓水箱的內部設有水壓計,所述水壓計貫穿高壓水箱的外壁并連接水壓顯示調節裝置,所述高壓水箱的底部設有第二排污口,所述高壓水箱的另一側設有凈水出口,所述進水口、晶體團排污口、凈水出口、磁化池與保安過濾器之間的管道上和保安過濾器與高壓泵之間的管道上均設有電磁閥,所述電磁鐵、高壓泵、水壓顯示調節裝置和電磁閥均與控制器電連接。
優選的,所述保安過濾器的頂部設有頂蓋,所述保安過濾器內部的濾芯通過旋轉接頭與管道螺紋連接。
優選的,所述高壓水箱的頂部設有頂蓋,所述高壓水箱內部設有固定槽,所述反滲透膜上設有與固定槽匹配的卡扣。
優選的,所述濾芯內部的孔徑不小于5微米,所述反滲透膜的滲透孔徑不大于0.0001微米。
優選的,所述高壓水箱的一側設有進氣口,所述高壓水箱的上表面設有出氣口。
與現有技術相比,本實用新型的有益效果是:該用于水處理的過濾裝置,采用磁化池、電磁鐵和晶體團排污口的結構構成了一個磁化系統,實現了使水磁化并且水垢污染物結晶的目的,采用保安過濾器、高壓泵、高壓水箱和反滲透膜的結構實現了對磁化水中的細菌等病毒體的過濾,真正完成了對污水的過濾和凈化,整個裝置設計合理新穎,高效且經濟,還為企業節省了不少人力,較之傳統的裝置更好。



