申請日2015.06.12
公開(公告)日2015.12.30
IPC分類號C02F9/04; C02F103/10; C02F101/20
摘要
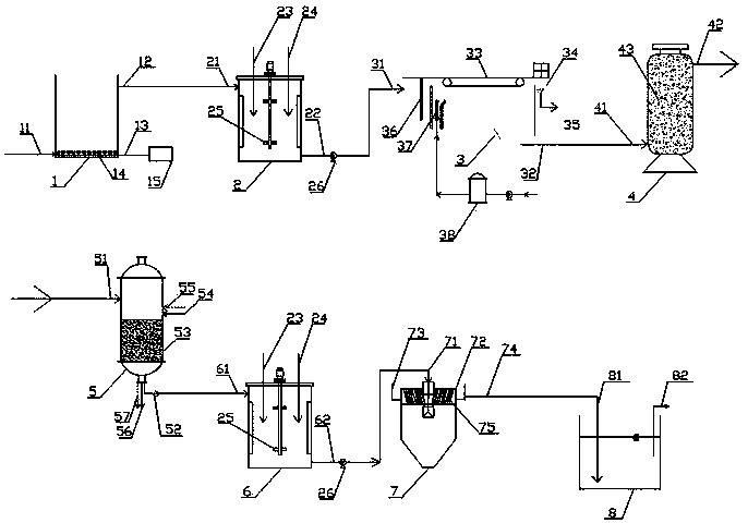
本實用新型公開了一種金屬礦山酸性含銅廢水處理系統,它是由曝氣槽、預中和攪拌槽、氣浮池、砂濾罐、離子交換柱、中和攪拌槽、沉池和集水池構成,其中曝氣槽、預中和攪拌槽和氣浮池用于有效去除廢水中鐵離子,離子交換柱內裝填樹脂對廢水中銅離子等進行吸附以去除廢水中的重金屬,并洗脫富集銅離子用于后續利用,中和攪拌槽和二沉池用于中和沉淀去除殘余的重金屬離子。本實用新型采用“曝氣—預中和—氣浮—離子交換—中和”處理工藝對金屬礦山酸性含銅廢水進行處理,具有處理效果好、渣量少、處理效率高、可實現模塊化組合等優點。
摘要附圖
權利要求書
1.一種金屬礦山酸性含銅廢水處理系統,其特征在于:由曝氣槽(1)、預中和攪拌槽(2)、氣浮池(3)、砂濾罐(4)、離子交換柱(5)、中和攪拌槽(6)、沉池(7)和集水池(8)構成,其中曝氣槽(1)為一方形或圓形水槽,曝氣槽(1)側身的下部設有曝氣槽進水管(11),側身的上部設有曝氣槽出水管(12),曝氣槽出水管(12)與預中和攪拌槽進水管(21)相連,曝氣槽(1)的底部設有曝氣器(14),曝氣器(14)的外端與空壓機(15)相連;預中和攪拌槽(2)的側身上下方分別設有預中和攪拌槽進水管(21)和預中和攪拌槽出水管(22),預中和攪拌槽出水管(22)通過水泵(26)與氣浮池進水管(31)相連,在預中和攪拌槽(2)上方設有堿試劑加藥管(23)和混凝劑加藥管(24),預中和攪拌槽(2)內部設攪拌裝置(25);氣浮池(3)側壁上部設有氣浮池進水管(31),側壁底部設氣浮池出水管(32),與砂濾罐進水管(41)相連,氣浮池(3)上部設氣浮池刮渣機構(33),側壁周邊設氣浮池排渣槽(34),氣浮池排渣槽(34)底部設氣浮池排渣管(35),氣浮池內部設有導流板(36)和空氣釋放管(37),空氣釋放管(37)與氣液分離器(38)相連接;砂濾罐(4)側身的下部和上部分別設有砂濾罐進水管(41)和砂濾罐出水管(42),砂濾罐出水管與離子交換柱進水管(51)相連,在砂濾罐(4)的內部設有濾料(43);離子交換柱(5)為圓柱體結構,離子交換柱(5)側壁上部兩側分別設有離子交換柱進水管(51)、再生劑進水管(54)和正洗進水管(55),離子交換柱(5)底部設離子交換柱出水管(52)、再生劑出水管(56)和正洗水出水管(57),離子交換柱出水管(52)與中和攪拌槽進水管(61)相連,在離子交換柱(5)內部裝填樹脂層(53);中和攪拌槽(6)的側壁上、下方分別設有中和攪拌槽進水管(61)和中和攪拌槽出水管(62),中和攪拌槽出水管通過水泵(26)與沉池進水管(71)相連,在中和攪拌槽上方設有堿試劑加藥管(23)和混凝劑加藥管(24),中和攪拌槽內部設攪拌裝置(25);沉池(7)為斜板沉淀池,沉淀池上部中心位置設有沉池進水管(71),周邊設有沉池溢流堰(72)和沉池溢流槽(73),沉池溢流槽(73)底部設有沉池進水管(74),沉池進水管(74)與集水池進水管(81)相連,沉池內部設有斜板(75);集水池內分別設有集水池進水管(81)和集水池抽水管(82)。
說明書
一種金屬礦山酸性含銅廢水處理系統
技術領域
本實用新型涉及工業廢水治理技術領域,特別涉及一種金屬礦山酸性含銅廢水的處理系統。
背景技術
礦山酸性含銅廢水的來源主要有:采礦生產中排出的礦坑廢水,選礦廠車間廢水、廢石場的雨淋廢水以及尾礦壩溢流水等。其形成機制主要是由于在開采或選礦過程中,礦物在空氣、水和細菌的共同作用下,發生溶浸、氧化、水解等一系列物理化學反應,形成硫酸、金屬硫酸鹽,并溶出礦石中的多種金屬離子。含銅酸性廢水排入周邊環境后,含重金屬離子的酸性水對大多數植被都具有毒負作用,更甚之的是重金屬離子通過食物鏈的富集而最終危害人類的健康。
目前,從國內有色金屬礦山酸性含銅廢水的處理情況來看,處理方法主要有石灰中和沉淀法和鐵屑置換法。石灰中和沉淀法工藝簡單,成本較低,應用最為廣泛,但缺點是無法回收銅金屬資源且渣量大,處置不當易造成二次環境污染。鐵屑置換法可以回收銅,但反應速率低,反應時間長。綜上可知,目前尚沒有先進成熟的礦山酸性廢水處理系統。
發明內容
本實用新型的目的在于針對上述問題,提供一種處理效果好、渣量小、處理效率高礦山含銅酸性廢水處理系統,能夠有效降低廢水中銅含量,并對其中的銅進行回收處理。
本實用新型是由曝氣槽、預中和攪拌槽、氣浮池、砂濾罐、離子交換柱、中和攪拌槽、沉池和集水池構成,其中曝氣槽為一方形或圓形水槽,曝氣槽側身的下部設有曝氣槽進水管,側身的上部設有曝氣槽出水管,曝氣槽出水管與預中和攪拌槽進水管相連,曝氣槽的底部設有曝氣器,曝氣器的外端與空壓機相連;預中和攪拌槽的側身上下方分別設有預中和攪拌槽進水管和預中和攪拌槽出水管,預中和攪拌槽出水管通過水泵與氣浮池進水管相連,在預中和攪拌槽上方設有堿試劑加藥管和混凝劑加藥管,預中和攪拌槽內部設攪拌裝置;氣浮池側壁上部設有氣浮池進水管,側壁底部設氣浮池出水管,與砂濾罐進水管相連,氣浮池上部設氣浮池刮渣機構,側壁周邊設氣浮池排渣槽,氣浮池排渣槽底部設氣浮池排渣管,氣浮池內部設有導流板和空氣釋放管,空氣釋放管與氣液分離器相連接;砂濾罐側身的下部和上部分別設有砂濾罐進水管和砂濾罐出水管,砂濾罐出水管與離子交換柱進水管相連,在砂濾罐的內部設有濾料;離子交換柱為圓柱體結構,離子交換柱側壁上部兩側分別設有離子交換柱進水管、再生劑進水管和正洗進水管,離子交換柱底部設離子交換柱出水管、再生劑出水管和正洗水出水管,離子交換柱出水管與中和攪拌槽進水管相連,在離子交換柱內部裝填樹脂層;中和攪拌槽的側壁上、下方分別設有中和攪拌槽進水管和中和攪拌槽出水管,中和攪拌槽出水管通過水泵與沉池進水管相連,在中和攪拌槽上方設有堿試劑加藥管和混凝劑加藥管,中和攪拌槽內部設攪拌裝置;沉池為斜板沉淀池,沉淀池上部中心位置設有沉池進水管,周邊設有沉池溢流堰和沉池溢流槽,沉池溢流槽底部設有沉池進水管,沉池進水管與集水池進水管相連,沉池內部設有斜板;集水池內分別設有集水池進水管和集水池抽水管。
本實用新型的有益效果:
本實用新型采用“曝氣—預中和—氣浮—離子交換—中和”處理工藝對金屬礦山酸性含銅廢水進行處理,具有處理效果好、渣量少、處理效率高、可實現模塊化組合等優點,具有廣闊的應用前景。






