申請日2015.08.21
公開(公告)日2016.04.13
IPC分類號C02F3/12
摘要
本發明涉及一種控制流場快速培養好氧顆粒污泥的方法及裝置。該方法包括下列步驟:在可控流場反應器中接種活性污泥;將污水通過可控流場反應器頂部的出水口泵入反應器中;通過反應器底部設置的曝氣裝置進行曝氣工序,同時開啟攪拌裝置,設定攪拌轉速;設置沉淀時間,在沉淀的過程中調整攪拌轉速;從出水口排水,排水過程關閉攪拌裝置;在靜置的過程中開啟攪拌裝置,使反應器處理缺氧狀態幾個步驟。用于本發明方法的控制流場快速培養好氧顆粒污泥裝置,由可控流場反應器和“工”型葉片組成,可控流場反應器被圓角間隔版分割多個可控流場發生區,控制“工”型葉片轉速形成可控流場,從而實現好氧顆粒污泥的快速培養。
權利要求書
1.一種控制流場快速培養好氧顆粒污泥的方法,該方法包括下列步驟:
(1)接種:在可控流場反應器中接種活性污泥;
(2)進水:將污水通過可控流場反應器頂部的出水口泵入反應器中;
(3)曝氣;通過反應器底部設置的曝氣裝置進行曝氣工序,同時開啟攪拌裝置,設定攪拌轉速;
(4)沉淀:設置沉淀時間,在沉淀的過程中調整攪拌轉速;
(5)排水:從出水口排水,排水過程關閉攪拌裝置;
(6)靜置:在靜置的過程中開啟攪拌裝置,使反應器處于缺氧狀態;
其中,沉淀時間大于0小于20分鐘,攪拌轉速大于50轉/min小于180轉/min,步驟(2)至(6)在反應器中按周期反復運行。
2.根據權利要求1所述的一種控制流場快速培養好氧顆粒污泥的方法,其特征在于:穩定運行時在步驟(3)過程中,攪拌速度120轉/min。
3.根據權利要求1所述的一種控制流場快速培養好氧顆粒污泥的方法,其特征在于:穩定運行時在步驟(4)過程中,攪拌速度50轉/min。
4.根據權利要求1所述的一種控制流場快速培養好氧顆粒污泥的方法,其特征在于:穩定運行時在步驟(5)過程中,攪拌速度80轉/min。
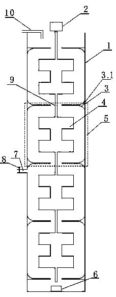
5.一種用于權利要求1方法的控制流場快速培養好氧顆粒污泥裝置,包括上下連通的可控流場反應器(1)和“工”型葉片(4),其特種在于:
A、所述的可控流場反應器(1)為圓柱體,底部設有曝氣裝置(6),頂部連接進水口(10),中間位置與出水閥(8)控制的出水口(7)連通;
B、所述的可控流場反應器(1)通過圓角間隔版(3)分割成四組可控流場發生區(5);
C、所述的可控流場發生區(5)包括“工”型葉片(4)和圓角過渡角(3.1);
D、所述的“工”型葉片(4)由攪拌軸(9)連接,并通過攪拌器(2)控制。
說明書
一種控制流場快速培養好氧顆粒污泥的方法及裝置
技術領域
本發明涉及一種控制流場快速培養好氧顆粒污泥的方法及裝置,屬于廢水生物處理技術領域。
背景技術
好氧顆粒污泥技術是一種在污泥水處理中發現的微生物自凝聚現象的特殊生物膜,與活性污泥法相比,具有生物活性高、沉降性能佳、生物量大、抗沖擊負荷能力強等優勢,能使反應器中所含的微生物量達到較高濃度,從而更加高效地降解污水,由此可見,好氧顆粒污泥技術工程化應用前景巨大。
流體剪切力是影響顆粒污泥成型的重要條件之一,有研究發現序批式反應器SBR中氣液混合形成的向上流剪切力有利于微生物在好氧顆粒污泥表面的聚集,此外也有研究發現在序批式反應器SBR中增加攪拌或增加旋流器都可以改善好氧顆粒污泥的成型過程。但是在這些方法中,由氣液混合為主形成的流體剪切力都是雜亂無章的,使得好氧顆粒污泥在反應器中受到的剪切力過于混亂,導致好氧顆粒污泥的培養和成型受到紊流(TurbulentFlow)的破壞,可操作性差,限制了好氧顆粒污泥技術的推廣。
針對此問題,本發明提出一種控制流場快速培養好氧顆粒污泥的方法及裝置,充分利用可控流場反應器邊界范圍,通過“工”型攪拌裝置,形成穩定可控的流場,提高流體剪切力的穩定性,加快好氧顆粒污泥培養速度,提高顆粒污泥成型的穩定性。
發明內容
本發明的目的是提供一種原理先進,結構緊湊、工藝簡單、運行穩定的控制流場快速培養好氧顆粒污泥的方法及裝置。
為實現上述目的本發明的技術解決方案是:充分利用設備的空間,將裝置分割成四組串聯的獨立空間,通過控制“工”型葉片攪拌速度,實現可控流場快速培養好氧顆粒污泥。
本發明公開了一種控制流場快速培養好氧顆粒污泥的方法,該方法包括下列步驟:
(1)接種:在可控流場反應器中接種活性污泥;
(2)進水:將污水通過可控流場反應器頂部的出水口泵入反應器中;
(3)曝氣;通過反應器底部設置的曝氣裝置進行曝氣工序,同時開啟攪拌裝置,設定攪拌轉速;
(4)沉淀:設置沉淀時間,在沉淀的過程中調整攪拌轉速;
(5)排水:從出水口排水,排水過程關閉攪拌裝置;
(6)靜置:在靜置的過程中開啟攪拌裝置,使反應器處理缺氧狀態。
其中,穩態運行過程中,沉淀時間為5分鐘。步驟(2)至(6)在反應器中按周期反復運行。
更進一步地,本發明提供了一種維持好氧顆粒污泥反應器的長期穩定運行的方法,這種方法包括:
A.穩定運行時曝氣階段攪拌速度維持在120轉/min;
B.穩定運行時沉淀階段攪拌速度維持在50轉/min;
C.穩定運行時靜置階段攪拌速度維持在80轉/min。
用于本發明的控制流場快速培養好氧顆粒污泥裝置,包括上下連通的可控流場反應器1和“工”型葉片4,其特種在于:
A、所述的可控流場反應器1為圓柱體,底部設有曝氣裝置6,頂部連接進水口10,中間位置與出水閥8控制的出水口7連通;
B、所述的可控流場反應器1通過圓角間隔版3分割成四組可控流場發生區5;
C、所述的可控流場發生區5包括“工”型葉片4和圓角過渡角3.1;
D、所述的“工”型葉片4由攪拌軸9連接,并通過攪拌器2控制。
本發明專利的優點主要體現在:①在反應器中增加圓角間隔板的方法,巧妙利用邊界結構和“工”型葉片,實現反應器的流場處于可控狀態;②在曝氣、沉淀和靜置這三個階段,分別調控不同的轉速,提高好氧顆粒污泥成型過程中不同階段的有效碰撞概率,保證好氧顆粒污泥的快速穩定成型。







