申請日2015.07.22
公開(公告)日2015.12.02
IPC分類號C02F1/00
摘要
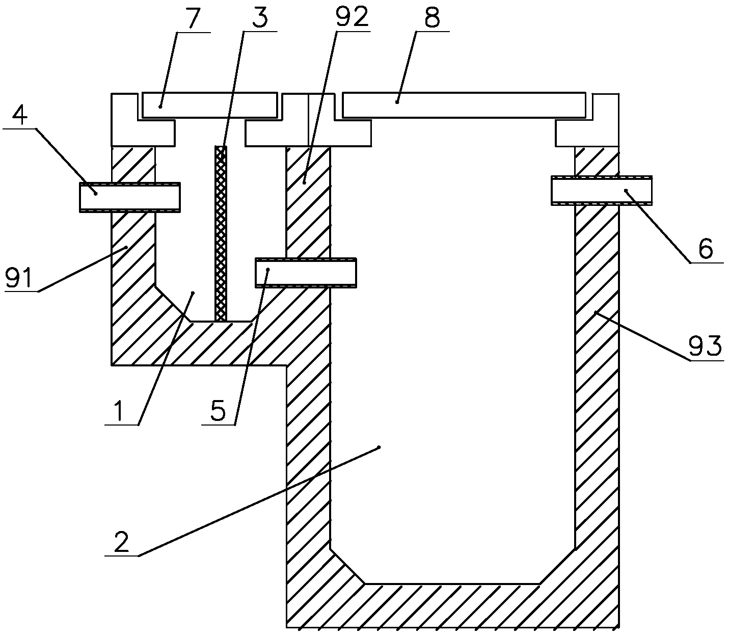
本實用新型涉及一種生活污水處理組合井,其特征在于,包括相鄰設置的格柵部和調節部,格柵部的前壁上設有污水進水管,格柵部和調節部通過連接管連通,調節部通過出水管與外部連通,在垂直方向上,連接管均位于污水進水管和出水管的下方,出水管不高于污水進水管,格柵部內設有格柵,污水進水管和連接管分別在格柵的兩側。本實用新型格柵部和調節部相鄰而設,能夠實現對生活污水中顆粒物SS的攔截,利用水位差進行水質和水量調節,污水處理效果好,結構緊湊,可以減少建設費用、占地面積以及建設施工難度,成本低廉,并便于水質觀察,便于維護,給業主帶來經濟上的實惠。
權利要求書
1.一種生活污水處理組合井,其特征在于,包括相鄰設置的格柵部和調節部,格柵部的 前壁上設有污水進水管,格柵部和調節部通過連接管連通,調節部通過出水管與外部連通, 在垂直方向上,連接管均位于污水進水管和出水管的下方,出水管不高于污水進水管,格柵 部內設有格柵,污水進水管和連接管分別在格柵的兩側。
2.根據權利要求1所述的生活污水處理組合井,其特征在于,所述連接管連接所述格柵 部的底部。
3.根據權利要求2所述的生活污水處理組合井,其特征在于,所述調節部比格柵部深。
4.根據權利要求3所述的生活污水處理組合井,其特征在于,所述調節部的容積大于格 柵部的容積。
說明書
一種生活污水處理組合井
技術領域
本實用新型涉及生活污水處理技術領域,具體地說是一種生活污水處理組合井。
背景技術
目前,生活污水處理領域中應用比較成熟的工藝是A20工藝、膜工藝以及濕地等,在眾 多的處理工藝中都需要在污水生化處理前端加裝格柵井和調節池等設備,格柵井的用途是在 污水處理前期將大量固體顆粒物SS進行攔截,避免堵塞后端管網和設備。調節池的作用是將 水質和水量進行均勻,保證生化處理端的穩定。但是現有的工藝是將兩個前端處理設備分開 放置,這種做法增加了設計和建設成本,維護困難。
發明內容
本實用新型的目的在于,提供一種集格柵井與調節池于一體的生活污水處理組合井,以 降低設計和建設成本、減少維護困難。
為了實現上述目的,本實用新型提供了一種生活污水處理組合井,其特征在于,包括相 鄰設置的格柵部和調節部,格柵部的前壁上設有污水進水管,格柵部和調節部通過連接管連 通,調節部通過出水管與外部連通,在垂直方向上,連接管均位于污水進水管和出水管的下 方,出水管不高于污水進水管,格柵部內設有格柵,污水進水管和連接管分別在格柵的兩側。
本實用新型格柵部和調節部相鄰而設,能夠實現對生活污水中顆粒物SS的攔截,利用水 位差進行水質和水量調節,污水處理效果好,結構緊湊,可以減少建設費用、占地面積以及 建設施工難度,成本低廉,并便于水質觀察,便于維護,給業主帶來經濟上的實惠。







