申請日2013.08.21
公開(公告)日2014.02.26
IPC分類號E03F7/10; E03F9/00
摘要
本實用新型提供了一種城市污水管道沖淤吸附裝置,包括清淤小車,所述清淤小車為上部開口、底部和四壁設有孔洞的車體,車體前部設有噴嘴,車體尾部設有泥漿擋板,所述車體內設有污泥泵。本實用新型具有結構簡單,使用方便,可有效避免泥水重新淤積,清淤效果好、清理較為干凈的優點。
權利要求書
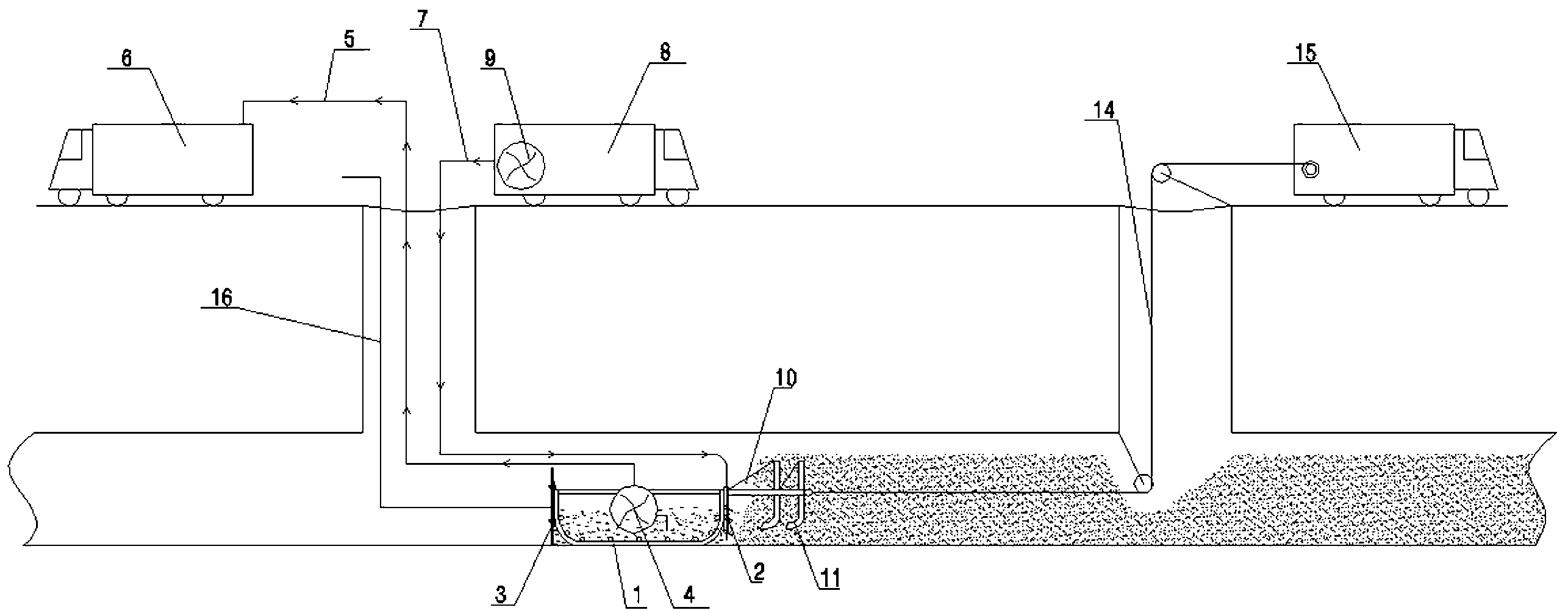
1.一種城市污水管道沖淤吸附裝置,包括清淤小車,其特征是:所述清淤小車為上部開口、底部和四壁設有孔洞的車體(1),車體(1)前部設有噴嘴(2),車體(1)尾部設有泥漿擋板(3),所述車體(1)內設有污泥泵(4)。
2.根據權利要求1所述的城市污水管道沖淤吸附裝置,其特征是:所述污泥泵(4)上接有排污管(5)。
3.根據權利要求2所述的城市污水管道沖淤吸附裝置,其特征是:所述噴嘴(2)設有若干個,所述噴嘴(2)朝向車體(1)前方、且傾斜向下噴射,所述噴嘴(2)的噴射方向與水平面成50~70度角。
4.根據權利要求3所述的城市污水管道沖淤吸附裝置,其特征是:所述噴嘴(2)上接有高壓進水管(7)。
5.根據權利要求1~4其中任一權利要求所述的城市污水管道沖淤吸附裝置,其特征是:所述車體(1)前部設有犁刀支架(10),所述犁刀支架(10)上設有犁刀(11)。
6.根據權利要求5所述的城市污水管道沖淤吸附裝置,其特征是:犁刀支架(10)為前后兩排布置,所述前后兩排犁刀支架(10)上設有若干個犁刀(11),所述前后兩排犁刀(11)成交錯方式排列。
7.根據權利要求6所述的城市污水管道沖淤吸附裝置,其特征是:所述犁刀支架(11)上設有牽引拉環(13),所述牽引拉環(13)上設有鋼絲繩(14)。
8.根據權利要求2所述的城市污水管道沖淤吸附裝置,其特征是: 所述排污管(5)的出口接有泥漿收集車(6)。
9.根據權利要求4所述的城市污水管道沖淤吸附裝置,其特征是: 所述高壓進水管(7)上接有水罐車(8),所述高壓進水管(7)上設有高壓水泵(9)。
10.根據權利要求7所述的城市污水管道沖淤吸附裝置,其特征是:所述鋼絲繩(14)上接有車載卷揚機(15)。
說明書
一種城市污水管道沖淤吸附裝置
技術領域
本實用新型涉及市政建設機械設備領域,尤其涉及一種城市下水道清淤設備,具體是指一種城市污水管道沖淤吸附裝置。
背景技術
目前,隨著城市建設的不斷發展,城市道路下面的污水管道經過長時間的淤積,存在大量淤泥,時間越久,淤泥積累越多,管道通流量越來越小,甚至會堵塞。長期以往,遇到大暴雨等惡劣天氣,降水量較大,污水管道排水受限,一方面會使下水道內部含有大量細菌的污水倒灌排到路面,帶來大量致病菌,使人們健康遭到破壞,另一方面污水得不到及時排出,嚴重影響人們的正常出行。
現有技術對城市地下污水管道的清淤主要分為兩種形式,一是機器疏通,二是人工開挖,對于直徑較大的排污管道,無論是采用機械設備還是人工清淤,都較為方便,但是對于一般的城市污水排污管道而言,污水管道的直徑在1~1.5m左右,大型清淤設備無法進入,人工清淤由于污水管道內空間狹小,不便于作業。
然而,目前有的地方采用卷揚機絞盤拉動鋼絲繩,并在鋼絲繩上安裝特制刮刀,在臨近的兩個下水道的人孔井之間往返拉動,試圖將下水道中的淤泥清理干凈,但這種清淤方式一是清淤不徹底,二是效率低下,三是存在一定的危險性。
此外,還有的清淤方式是設計一種清淤裝置,在污水管道內部設置可移動的清淤小車,小車前部設有馬達,馬達轉軸上設有螺旋刀片,通過馬達帶動螺旋刀片旋轉,將下水道內沉積的淤泥像鉆井似的鉆出,清淤小車自身帶有前進動力裝置,一般為輪式或履帶式,但經過實際使用發現,這種清淤裝置使用時存在以下不足:
1、由于淤泥沉積后水分蒸發,整個管道中的淤泥結為一體,較為結實,僅僅通過旋轉刀片的作用很難將淤泥快速清除;
2、為了降低淤泥的硬度,在小車上增加噴射水管,但水管只是用于濕潤淤泥,所產生的泥水在污水管道后方又繼續形成新的淤積,清淤效果較差;
3、小車采用的馬達長期處于泥水混合的環境中,容易被腐蝕,馬達壽命短等。
4、輪式或履帶式清淤小車在污水管道中作業前進時,容易打滑,不易于清淤小車的前進;
5、如果遇到污水管道由于下沉導致的管道錯位,清淤小車會被卡住不前,清淤將中斷;
6、采用活塞吸附的方式進行泥漿外排,動作較慢,效率較低,吸附效果差,依然存在大量泥水流向已經清理干凈的管道。
總之,現有技術的雖然能夠在一定條件下完成管道的清淤,普遍存在清理效率較低,清理不干凈的缺陷。
發明內容
本實用新型要解決的技術問題是針對現有技術所存在的不足之處,提供一種結構簡單,使用方便,可有效避免泥水重新淤積,清淤效果好、清理較為干凈的城市污水管道沖淤吸附裝置。
本實用新型的技術解決方案是,提供如下一種城市污水管道沖淤吸附裝置,包括清淤小車,所述清淤小車為上部開口、底部和四壁設有孔洞的車體,車體前部設有噴嘴,車體尾部設有泥漿擋板,所述車體內設有污泥泵。
采用以上技術方案,清淤小車在城市污水管道內部作業,通過車體前部設有的噴嘴噴射出高壓水柱,高壓水柱就有強大的沖擊力,可將城市污水管道內部淤積的淤泥沖散開來,為了防止泥漿水沿管道回流,在車體尾部設置泥漿擋板,將泥漿阻擋住,車體上設有污泥泵,泥漿通過設置的車體上的孔洞進入車體,在污泥泵的作用下,將產生的泥漿通過管道輸出,最終達到疏通城市污水管道的目的,本技術方案結構簡單,便于制造,可以很好地疏通管道,并且疏通管道效率高。
作為優選,所述污泥泵上接有排污管。采用本技術方案,可將管道內的污泥及時排出,有助于快速疏通地下污水管道。
作為優選,所述噴嘴設有若干個,所述噴嘴2朝向車體前方、且傾斜向下噴射,所述噴嘴的噴射方向與水平面成50~70度角。采用本技術方案,通過設置不同噴射方向的噴嘴,可提高淤泥單位時間內的溶解量,有利于城市污水管道的快速疏通。
作為優選,所述噴嘴上接有高壓進水管。采用本技術方案,高壓進水管內的高壓水柱從噴嘴中高速射出,具有較大的沖擊力,可以很輕松地將淤泥沖刷溶解,形成泥漿。
作為優選,所述車體前部設有犁刀支架,所述犁刀支架上設有犁刀。采用本技術方案,清淤小車前進的動力來自于車載卷揚機的牽引力,在車體前部增設犁刀支架,并在犁刀支架上設置犁刀,清淤小車在牽引力作用下前進時,首先犁刀作用在淤泥上,類似于農田耕地,通過犁刀先將管道內部沉積的淤泥予以松動,更加有益于淤泥的溶解,提高了城市污水管道內部的淤泥的疏通效率。
作為優選,犁刀支架為前后兩排布置,所述前后兩排犁刀支架上設有若干個犁刀,所述前后兩排犁刀成交錯方式排列。采用本技術方案,犁刀支架上設有前后雙排犁刀,前排犁刀數目少于后排犁刀數目,并且前后兩排犁刀呈前后成交錯、相互錯位方式排列,即插空式排列,后排前排一把犁刀位于后排兩把犁刀之間的位置上,這種布置方式即遵循壓力、壓強原理,又有利于將淤泥松動,便于后續的清淤處理。
作為優選,所述犁刀支架上設有牽引拉環,所述牽引拉環上設有鋼絲繩。采用本技術方案,清淤小車通過外部牽引力進行前進,克服了現有技術中清淤小車依靠自身動力前進過程中的打滑現象,更加有利于疏通城市污水管道,疏通效率更高。
作為優選,所述排污管的出口接有泥漿收集車。排污管的出口接有泥漿收集車,避免泥漿的任意排放,可有助于城市環保,避免城市污水管道內部的病菌四處傳播,有利于人們身體健康。
作為優選,所述高壓進水管上接有水罐車,所述高壓進水管上設有高壓水泵。采用本技術方案,將水罐車中的水經過高壓水泵的作用,使其經過噴嘴噴出時具有較高的沖擊力,有利于將淤泥沖散。
作為優選,所述鋼絲繩上接有車載卷揚機。采用本技術方案,可為清淤小車的前進提供動力。
綜上所述,采用本技術方案不僅僅可以順利疏通城市污水管道,同時在清理城市污水管道內部的淤泥時,還有以下特點:清淤速度快、清淤后的管道內部較為干凈,清淤過程中管道內部的污染物、細菌、致病菌等完全與外界環境隔離,全部由專用車輛運載,有效避免了病菌的傳播,清淤小車制造簡單,使用方便,材質為鋼管或鋼筋,抗腐蝕性強,清淤小車前進動力來源于車載卷揚機,不存在打滑靜止不前的現象,工作效率高,遇到管道錯位的管道,由于清淤小車體積較小,一般的管道錯位不會影響到清淤小車的前進,提高了清淤速度,提高了疏通效率。







