申請日2013.08.20
公開(公告)日2013.12.11
IPC分類號E03C1/182; E03C1/12
摘要
一種廢水回收利用洗衣池,其結構包括水池、水龍頭、水池閥、水池閥開關、過濾網、排水阻水閥、凈水阻水閥、U型下水管、凈水過濾器、儲水箱、下水管。本發明可以對洗衣池用過的廢水進行二次利用,例如,洗衣池的洗衣服水比較干凈時,可以通過凈水過濾器進行過濾,并儲備到儲水箱里供澆花、拖地、沖廁所等二次使用,達到廢水重新利用的效果,大大的節約地球的淡水資源,同時也減少了污水的排放量,對周圍的環境具有一定的環保作用。
權利要求書
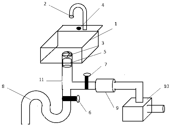
1.一種廢水回收利用洗衣池,其特征在于:所述洗衣池結構包括水池、水龍頭、水池閥、水池閥開關、過濾網、排水阻水閥、凈水阻水閥、U型下水管、凈水過濾器、儲水箱、下水管;
水池可用陶瓷材料制成,水池上部有個小臺面,臺面上安裝有水龍頭,水龍頭旁邊安裝水池閥開關,水池的底部中央安裝下水管,下水管頂端與水池中央和水池閥連接,水池閥后面連接過濾網,下水管分兩路,一路接凈化阻水閥,再接凈化過濾器后接入儲水箱,另一路接排水阻水閥后接U型下水管,污水排出;通過水池閥開關對水池閥進行打開和關閉,過濾網是用來對使用過的水排放時過濾比較大的物件,當水池的水比較混濁或比較臟時,打開排水阻水閥并關閉凈水阻水閥,讓臟水從U型下水管排出;當水池的水比較清澈或比較干凈時,關閉排水阻水閥并打開阻水閥,讓水先流入凈水過濾器進行過濾,得到更清澈的水,再流入儲水箱,儲水箱出水口可以接個水龍頭也可以接個水管連接便池水箱,進行二次回收利用。
說明書
一種廢水回收利用洗衣池
技術領域
本發明涉及一種具有廢水利用的洗衣池,可以對該洗衣池使用過的水進行回收利用,以節約水資源。
背景技術
據統計中國家用廢水排水量每天要排放10億噸廢水,地球的淡水資源儲備量已經日益減少,全球都在倡導節約用水,保護地球,提倡可持續發展。洗衣池數量巨大,如何解決廢水利用,意義重大。
發明內容
本發明的目的是針對現有技術的不足,提供一種廢水回收利用的環保洗衣池。
本發明的結構包括水池、水龍頭、水池閥、水池閥開關、過濾網、排水阻水閥、凈水阻水閥、U型下水管、凈水過濾器、儲水箱、下水管;
水池可用陶瓷材料制成,水池上部有個小臺面,臺面上安裝有水龍頭,水龍頭旁邊安裝水池閥開關,水池的底部中央安裝下水管,下水管頂端與水池中央和水池閥連接,水池閥后面連接過濾網,下水管分兩路,一路接凈化阻水閥,再接凈化過濾器后接入儲水箱,另一路接排水阻水閥后接U型下水管,污水排出;通過水池閥開關對水池閥進行打開和關閉,過濾網是用來對使用過的水排放時過濾比較大的物件,當過濾網上的物件或垃圾較多時,便可以把它取出,當水池的水比較混濁或比較臟時,打開排水阻水閥并關閉凈水阻水閥,讓臟水從U型下水管排出;當水池的水比較清澈或比較干凈時,關閉排水阻水閥并打開阻水閥,讓水先流入凈水過濾器進行過濾,得到更清澈的水,再流入儲水箱,儲水箱出水口可以接個水龍頭也可以接個水管連接便池水箱,進行二次回收利用。
本發明的有益效果:本發明所述洗衣池可以對洗衣池用過的廢水進行二次利用,例如,洗衣池的洗衣服水比較干凈時,可以通過凈水過濾器進行過濾,并儲備到儲水箱里供澆花、拖地、沖廁所等二次使用,達到廢水重新利用的效果,大大的節約地球的淡水資源,同時也減少了污水的排放量,對周圍的環境具有一定的環保作用。







