公布日:2024.06.11
申請日:2024.04.25
分類號:B01D29/03(2006.01)I;B01D29/94(2006.01)I;B01D29/80(2006.01)I
摘要
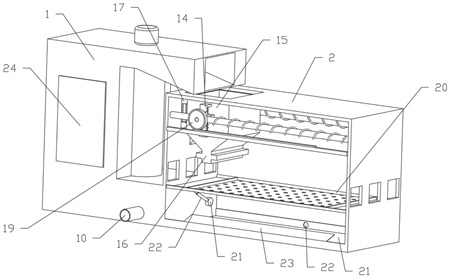
本發明涉及污水處理技術領域,公開了一種污水處理用固形物收集處理裝置,包括分離箱和處理框;所述分離箱內開設有污水腔、活動腔和排污腔,所述活動腔內設置有導料部件;所述處理箱的內壁安裝有對稱分布的導向桿,導向桿上滑動設置有第一滑塊,所述處理框內壁設置有套設在導向桿上且與第一滑塊連接的第一彈性件,所述第一滑塊通過彈性部件與集料箱連接,集料箱的底部設置有下料口,所述集料箱和處理框上設置有控制部件,所述集料箱、處理框和第一滑塊上設置有推動部件,所述下料口內設置有下料部件,所述處理框的內壁設置有晾干架部件;本發明可以完成對收集的固形物的平鋪晾曬處理,進而方便晾干收集的固形物中的水分,以便于進行后續處理。

權利要求書
1.一種污水處理用固形物收集處理裝置,包括分離箱和處理框,其特征在于,所述分離箱內開設有污水腔、活動腔和排污腔,所述污水腔和活動腔的底部之間設置進料口,所述活動腔和排污腔的底部之間設置有濾網,所述分離箱的外壁設置有與污水腔連通的進污管,所述分離箱的外壁設置有與排污腔連通的排污管,所述活動腔內設置有導料部件,用于輸送分離出的固形物;所述處理箱的內壁安裝有對稱分布的導向桿,導向桿上滑動設置有第一滑塊,所述處理框內壁設置有套設在導向桿上且與第一滑塊連接的第一彈性件,所述第一滑塊通過彈性部件與集料箱連接,集料箱的底部設置有下料口,所述處理框內壁兩側安裝有限位塊,所述集料箱和處理框上設置有控制部件,所述集料箱、處理框和第一滑塊上設置有推動部件,所述下料口內設置有下料部件,用于對下料口進行開合,所述處理框的內壁設置有晾干架部件,用于對集料箱排出的固形物進行平鋪晾干;隨著集料箱內固定物收集量的增加,在彈性部件的作用下,集料箱下降,直到觸動控制部件,控制部件會發出信號使得推動部件進行通電啟動,通過推動部件推動集料箱進行滑動,同時打開下料部件,在集料箱移動的過程中,集料箱內的固形物會平鋪在晾干架部件的表面,當集料箱移動到右端的限位塊時,推動部件會停機,同時下料部件關閉,推動部件在第一彈性件的作用下集料箱復位;所述控制部件包括安裝在集料箱外壁上的控制塊,所述處理框的一側內壁上安裝有與控制塊配合的導電開關,所述集料箱上安裝有與控制塊連接的頂板;所述推動部件包括安裝在集料箱外壁上的第二電磁鐵,所述處理框的一側內壁安裝有第一電磁鐵,所述處理框內安裝有固定架,固定架上安裝有電阻條,所述第一滑塊上轉動安裝有轉軸,轉軸上安裝有轉動盤,轉動盤的外壁安裝有與電阻條配合的導電圓環。
2.根據權利要求1所述的一種污水處理用固形物收集處理裝置,其特征在于,所述下料部件包括開設在下料口內兩側的滑槽,滑槽內設置有第二伸縮件,第二伸縮件的端部設置有與滑槽貼合的擋料板。
3.根據權利要求1所述的一種污水處理用固形物收集處理裝置,其特征在于,所述晾干架部件包括晾干孔板,所述晾干孔板的一端與處理框內壁鉸接,所述處理框的內壁轉動安裝有轉動座,轉動座與第一伸縮件的一端鉸接,所述第一伸縮件的另一端與晾干孔板鉸接,所述處理框的底部設置有擋板。
4.根據權利要求3所述的一種污水處理用固形物收集處理裝置,其特征在于,所述處理框的底部設置有接水盤,接水盤上開設有排水口。
5.根據權利要求1所述的一種污水處理用固形物收集處理裝置,其特征在于,所述彈性部件包括與第一滑塊連接的邊架,邊架內安裝有固定桿,固定桿上滑動設置有與邊架貼合的第二滑塊,第二滑塊固定連接集料箱,所述邊架的底部設置有與第二滑塊連接的第二彈性件。
6.根據權利要求1所述的一種污水處理用固形物收集處理裝置,其特征在于,所述導料部件包括轉動設置在活動腔內的絞龍,所述分離箱的頂壁安裝有驅動絞龍轉動的驅動件,所述分離箱的底部開設有與活動腔連通的出料口。
7.根據權利要求1所述的一種污水處理用固形物收集處理裝置,其特征在于,所述分離箱外壁安裝有控制器。
發明內容
本發明的目的在于提供一種污水處理用固形物收集處理裝置,以解決上述背景技術中提出的問題。
為實現上述目的,本發明提供如下技術方案:
一種污水處理用固形物收集處理裝置,包括分離箱和處理框;所述分離箱內開設有污水腔、活動腔和排污腔,所述污水腔和活動腔的底部之間設置進料口,所述活動腔和排污腔的底部之間設置有濾網,所述分離箱的外壁設置有與污水腔連通的進污管,所述分離箱的外壁設置有與排污腔連通的排污管,所述活動腔內設置有導料部件,用于輸送分離出的固形物;
所述處理箱的內壁安裝有對稱分布的導向桿,導向桿上滑動設置有第一滑塊,所述處理框內壁設置有套設在導向桿上且與第一滑塊連接的第一彈性件,所述第一滑塊通過彈性部件與集料箱連接,集料箱的底部設置有下料口,所述處理框內壁兩側安裝有限位塊,所述集料箱和處理框上設置有控制部件,所述集料箱、處理框和第一滑塊上設置有推動部件,所述下料口內設置有下料部件,用于對下料口進行開合,所述處理框的內壁設置有晾干架部件,用于對集料箱排出的固形物進行平鋪晾干;
隨著集料箱內固定物收集量的增加,在彈性部件的作用下,集料箱下降,直到觸動控制部件,控制部件會對推動部件進行通電啟動,通過推動部件推動集料箱進行滑動,同時打開下料部件,在集料箱移動的過程中,集料箱內的固形物會平鋪在晾干架部件的表面,當集料箱移動到右端的限位塊時,推動部件會停機,同時下料部件關閉,推動部件在第一彈性件的作用下集料箱復位。
作為本發明的一種優選技術方案,所述控制部件包括安裝在集料箱外壁上的控制塊,所述處理框的一側內壁上安裝有與控制塊配合的導電開關,所述集料箱上安裝有與控制塊連接的頂板。
作為本發明的一種優選技術方案,所述推動部件包括安裝在集料箱外壁上的第二電磁鐵,所述處理框的一側內壁安裝有第一電磁鐵,所述處理框內安裝有固定架,固定架上安裝有電阻條,所述第一滑塊上轉動安裝有轉軸,轉軸上安裝有轉動盤,轉動盤的外壁安裝有與電阻條配合的導電圓環。
作為本發明的一種優選技術方案,所述下料部件包括開設在下料口內兩側的滑槽,滑槽內設置有第二伸縮件,第二伸縮件的端部設置有與滑槽貼合的擋料板。
作為本發明的一種優選技術方案,所述晾干架部件包括晾干孔板,所述晾干孔板的一端與處理框內壁鉸接,所述處理框的內壁轉動安裝有轉動座,轉動座與第一伸縮件的一端鉸接,所述第一伸縮件的另一端與晾干孔板鉸接,所述處理框的底部設置有擋板。
作為本發明的一種優選技術方案,所述處理框的底部設置有接水盤,接水盤上開設有排水口。
作為本發明的一種優選技術方案,所述彈性部件包括與第一滑塊連接的邊架,邊架內安裝有固定桿,固定桿上滑動設置有與邊架貼合的第二滑塊,第二滑塊固定連接集料箱,所述邊架的底部設置有與第二滑塊連接的第二彈性件。
作為本發明的一種優選技術方案,所述導料部件包括轉動設置在活動腔內的絞龍,所述分離箱的頂壁安裝有驅動絞龍轉動的驅動件,所述分離箱的底部開設有與活動腔連通的出料口。
作為本發明的一種優選技術方案,所述分離箱外壁安裝有控制器。
本發明具有以下有益之處:本發明提供了一種污水處理用固形物收集處理裝置,通過將污水中分離出的固形物倒入集料箱內,隨著集料箱內固定物收集量的增加,在彈性部件的作用下,集料箱下降,直到觸動控制部件,控制部件會發出信號使得推動部件進行通電啟動,通過推動部件推動集料箱進行滑動,同時打開下料部件,在集料箱移動的過程中,集料箱內的固形物會平鋪在晾干架部件的表面,當集料箱移動到右端的限位塊時,推動部件會停機,同時下料部件關閉,推動部件在第一彈性件的作用下集料箱復位,進而可以完成對收集的固形物的平鋪晾曬處理,進而方便晾干收集的固形物中的水分,以便于進行后續處理。
(發明人:唐文俊;吳娟;邱國棟;徐守國)






