公布日:2023.11.17
申請日:2023.09.12
分類號:C02F11/13(2019.01)I;C02F11/121(2019.01)I;B01D46/10(2006.01)I;B01D46/00(2022.01)I;F26B3/24(2006.01)I;F26B17/04(2006.01)I;F26B25/00(2006.01)I
摘要
本發明公開了一種可對污泥進行翻轉的污泥低溫烘干裝置,包括用于安裝的攪拌箱基體、一體化連接在攪拌箱基體右端的傳送筒基體、固定在傳送筒基體右方的烘干箱基體、分別固定在裝置上方的第一電機、第二電機、第三電機和第四電機和進料機構,所述進料機構包括進料口和蓋板,且進料口固定連接在攪拌箱基體的上端,蓋板設置在進料口的上端。該可對污泥進行翻轉的污泥低溫烘干裝置,可以對待烘干的污泥進行翻轉,使其受熱均勻,減少烘干時間,設置的攪拌過濾裝置將結塊的污泥進行打碎攪勻,提前過濾污泥中留有的污水,減少烘干的難度,除味換氣裝置保護空氣質量,對運輸帶上的污泥進行掛落,且對烘干結束的污泥切塊,便于收集處理。

權利要求書
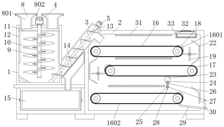
1.一種可對污泥進行翻轉的污泥低溫烘干裝置,包括:用于安裝的攪拌箱基體(1),一體化連接在攪拌箱基體(1)右端的傳送筒基體(3),固定在傳送筒基體(3)右方的烘干箱基體(2)和分別固定在裝置上方的第一電機(4)、第二電機(5)、第三電機(6)和第四電機(7);其特征在于,還包括:進料機構(8),所述進料機構(8)包括進料口(801)和蓋板(802),且進料口(801)固定連接在攪拌箱基體(1)的上端,蓋板(802)設置在進料口(801)的上端;第一轉軸(9),所述第一轉軸(9)的上端與第一電機(4)的輸出端固定連接,且第一轉軸(9)的外側固定連接有攪拌葉(10);連接桿(11),所述連接桿(11)固定連接在第一轉軸(9)的上部,且連接桿(11)的外端固定安裝有刮板(12),所述刮板(12)設置在攪拌箱基體(1)的內側;螺旋桿(13),所述螺旋桿(13)的上端與第二電機(5)的輸出端固定連接,且螺旋桿(13)安裝在傳送筒基體(3)的內部,并且螺旋桿(13)的下端與攪拌箱基體(1)的下端轉動連接,所述傳送筒基體(3)的下端設置有濾板(14),且濾板(14)的下方設置有收納箱(15);傳送機構(16),所述傳送機構(16)安裝在傳送筒基體(3)的內部,且傳送機構(16)包括第一傳送帶(1601)和第二傳動帶(1602),所述第一傳送帶(1601)和第二傳動帶(1602)分別設置在傳送筒基體(3)的上下兩部分,且第三傳送帶(17)安裝在第一傳送帶(1601)和第二傳動帶(1602)之間,所述烘干箱基體(2)的內部固定安裝有刮落塊(18);翻轉筒(19),所述翻轉筒(19)安裝在第一傳送帶(1601)的右方和第三傳送帶(17)的左方,且翻轉筒(19)的前側固定安裝有齒輪(20),所述齒輪(20)的上端設置有旋轉盤(21),所述烘干箱基體(2)的左右內側固定安裝有擋板(22);偏心輪(23),所述偏心輪(23)設置在第三傳送帶(17)的右側下方,且偏心輪(23)的內部偏心固定安裝有第二轉軸(24),并且偏心輪(23)的下方設置有滑動桿(25),所述滑動桿(25)的外側安裝有彈簧(26)和限位板(27),且滑動桿(25)的下方固定連接有刀片(28);出料板(29),所述出料板(29)安裝在第二傳動帶(1602)的右端下方,且出料板(29)的右側設置有旋轉門(30);加熱板(31),所述加熱板(31)固定安裝在烘干箱基體(2)的內部,且加熱板(31)設置在傳送機構(16)和第三傳送帶(17)的上方;風扇(32),所述風扇(32)設置在烘干箱基體(2)的上端,且風扇(32)的下方安裝有除味濾板(33)。
2.根據權利要求1所述的一種可對污泥進行翻轉的污泥低溫烘干裝置,其特征在于:所述進料機構(8)的縱截面呈梯形結構,且進料機構(8)設置有兩處,所述攪拌葉(10)通過第一轉軸(9)轉動連接在攪拌箱基體(1)的內部。
3.根據權利要求1所述的一種可對污泥進行翻轉的污泥低溫烘干裝置,其特征在于:所述刮板(12)設置有兩個,且刮板(12)呈彎曲結構,所述刮板(12)通過連接桿(11)與第一轉軸(9)固定連接,且刮板(12)緊密貼合在攪拌箱基體(1)的內側呈滑動連接,所述收納箱(15)滑動連接在攪拌箱基體(1)的下部內側。
4.根據權利要求1所述的一種可對污泥進行翻轉的污泥低溫烘干裝置,其特征在于:所述傳送機構(16)通過第四電機(7)順時針傳動,所述第三傳送帶(17)通過第三電機(6)逆時針傳動。5.根據權利要求1所述的一種可對污泥進行翻轉的污泥低溫烘干裝置,其特征在于:所述刮落塊(18)在傳送機構(16)的右側和第三傳送帶(17)的左側均有設置,且刮落塊(18)緊密貼合在傳送機構(16)和第三傳送帶(17)的表面,所述刮落塊(18)的縱截面呈半弧形結構。
6.根據權利要求1所述的一種可對污泥進行翻轉的污泥低溫烘干裝置,其特征在于:所述翻轉筒(19)通過齒輪(20)轉動連接在烘干箱基體(2)的內部,且旋轉盤(21)的下端固定有齒牙,并且齒輪(20)與旋轉盤(21)嚙合傳動連接,所述翻轉筒(19)的縱截面呈“十”字形結構。
7.根據權利要求1所述的一種可對污泥進行翻轉的污泥低溫烘干裝置,其特征在于:所述第二轉軸(24)轉動連接在烘干箱基體(2)的內部,所述滑動桿(25)的上端與偏心輪(23)滑動連接,且滑動桿(25)滑動連接在限位板(27)的內部,并且限位板(27)的前后兩端均與烘干箱基體(2)固定連接。
8.根據權利要求1所述的一種可對污泥進行翻轉的污泥低溫烘干裝置,其特征在于:所述彈簧(26)的上下兩端分別與滑動桿(25)和限位板(27)固定連接,所述偏心輪(23)設置有兩處。
9.根據權利要求1所述的一種可對污泥進行翻轉的污泥低溫烘干裝置,其特征在于:所述旋轉門(30)轉動連接在烘干箱基體(2)的右端下側,且旋轉門(30)緊密搭接在出料板(29)的上表面。
10.根據權利要求1所述的一種可對污泥進行翻轉的污泥低溫烘干裝置,其特征在于:所述進料機構(8)的縱截面呈梯形結構,且進料機構(8)設置有兩處,所述攪拌葉(10)通過第一轉軸(9)轉動連接在攪拌箱基體(1)的內部。
發明內容
本發明的目的在于提供一種可對污泥進行翻轉的污泥低溫烘干裝置,以解決上述背景技術提出的目前使用的污泥低溫烘干裝置無法在烘干開始前進行水分過濾,污泥中常含有大量污水,增加了烘干的困難程度,污泥中的異味在烘干過程中會污染空氣,造成使用者的不適,沒有設置除味功能,且污泥易粘附在裝置表面,烘干結束后難以進行收集,因此我們提出一種可對污泥進行翻轉的污泥低溫烘干裝置,以便于解決上述中提出的問題。
為實現上述目的,本發明提供如下技術方案:1.一種可對污泥進行翻轉的污泥低溫烘干裝置,包括:用于安裝的攪拌箱基體,一體化連接在攪拌箱基體右端的傳送筒基體,固定在傳送筒基體右方的烘干箱基體和分別固定在裝置上方的第一電機、第二電機、第三電機和第四電機;
還包括:
進料機構,所述進料機構包括進料口和蓋板,且進料口固定連接在攪拌箱基體的上端,蓋板設置在進料口的上端;
第一轉軸,所述第一轉軸的上端與第一電機的輸出端固定連接,且第一轉軸的外側固定連接有攪拌葉;
連接桿,所述連接桿固定連接在第一轉軸的上部,且連接桿的外端固定安裝有刮板,所述刮板設置在攪拌箱基體的內側;
螺旋桿,所述螺旋桿的上端與第二電機的輸出端固定連接,且螺旋桿安裝在傳送筒基體的內部,并且螺旋桿的下端與攪拌箱基體的下端轉動連接,所述傳送筒基體的下端設置有濾板,且濾板的下方設置有收納箱;
傳送機構,所述傳送機構安裝在傳送筒基體的內部,且傳送機構包括第一傳送帶和第二傳動帶,所述第一傳送帶和第二傳動帶分別設置在傳送筒基體的上下兩部分,且第三傳送帶安裝在第一傳送帶和第二傳動帶之間,所述烘干箱基體的內部固定安裝有刮落塊;
翻轉筒,所述翻轉筒安裝在第一傳送帶的右方和第三傳送帶的左方,且翻轉筒的前側固定安裝有齒輪,所述齒輪的上端設置有旋轉盤,所述烘干箱基體的左右內側固定安裝有擋板;
偏心輪,所述偏心輪設置在第三傳送帶的右側下方,且偏心輪的內部偏心固定安裝有第二轉軸,并且偏心輪的下方設置有滑動桿,所述滑動桿的外側安裝有彈簧和限位板,且滑動桿的下方固定連接有刀片;
出料板,所述出料板安裝在第二傳動帶的右端下方,且出料板的右側設置有旋轉門;
加熱板,所述加熱板固定安裝在烘干箱基體的內部,且加熱板設置在傳送機構和第三傳送帶的上方;
風扇,所述風扇設置在烘干箱基體的上端,且風扇的下方安裝有除味濾板。
優選的,所述進料機構的縱截面呈梯形結構,且進料機構設置有兩處,所述攪拌葉通過第一轉軸轉動連接在攪拌箱基體的內部。
優選的,所述刮板設置有兩個,且刮板呈彎曲結構,所述刮板通過連接桿與第一轉軸固定連接,且刮板緊密貼合在攪拌箱基體的內側呈滑動連接,所述收納箱滑動連接在攪拌箱基體的下部內側。
優選的,所述傳送機構通過第四電機順時針傳動,所述第三傳送帶通過第三電機逆時針傳動。
優選的,所述刮落塊在傳送機構的右側和第三傳送帶的左側均有設置,且刮落塊緊密貼合在傳送機構和第三傳送帶的表面,所述刮落塊的縱截面呈半弧形結構。
優選的,所述翻轉筒通過齒輪轉動連接在烘干箱基體的內部,且旋轉盤的下端固定有齒牙,并且齒輪與旋轉盤嚙合傳動連接,所述翻轉筒的縱截面呈“十”字形結構。
優選的,所述第二轉軸轉動連接在烘干箱基體的內部,所述滑動桿的上端與偏心輪滑動連接,且滑動桿滑動連接在限位板的內部,并且限位板的前后兩端均與烘干箱基體固定連接。
優選的,所述彈簧的上下兩端分別與滑動桿和限位板固定連接,所述偏心輪設置有兩處。
優選的,所述旋轉門轉動連接在烘干箱基體的右端下側,且旋轉門緊密搭接在出料板的上表面。
優選的,所述進料機構的縱截面呈梯形結構,且進料機構設置有兩處,所述攪拌葉通過第一轉軸轉動連接在攪拌箱基體的內部。
與現有技術相比,本發明的有益效果是:該可對污泥進行翻轉的污泥低溫烘干裝置,可以對待烘干的污泥進行翻轉,使其受熱均勻,減少烘干時間,設置的攪拌過濾裝置將結塊的污泥進行打碎攪勻,提前過濾污泥中留有的污水,減少烘干的難度,除味換氣裝置保護空氣質量,對運輸帶上的污泥進行掛落,且對烘干結束的污泥切塊,便于收集處理;
1.設置有攪拌葉、刮板和濾板,攪拌葉對污泥進行攪拌,防止結塊的污泥影響后期的烘干效果,刮板防止污泥粘附在攪拌箱基體的內壁,濾板在送料過程中對污泥里殘存的污水進行過濾,提前降低污泥的含水量,降低烘干難度;
2.設置有傳送機構、第三傳送帶和翻轉筒,傳送機構和第三傳送帶擴大了污泥的攤開面積和接受烘干的時間,翻轉筒對污泥進行堆積翻轉,使得污泥全方位接受加熱板的烘干;
3.設置有偏心輪、滑動桿、風扇和除味濾板,偏心輪的偏心轉動推動與滑動桿連接的刀片對污泥進行裁斷,方便干化污泥的收集,風扇和除味濾板在排出烘干箱基體內蒸汽的同時對有異味的空氣凈化處理,防止異味影響使用者的健康。
(發明人:黃志洋;李紅軍)






