公布日:2024.04.26
申請日:2023.05.11
分類號:H02S20/32(2014.01)I;C02F1/00(2023.01)I;H02S30/20(2014.01)I;H02S40/30(2014.01)I;H02K7/10(2006.01)I;F24S30/45(2018.01)I
摘要
本發明公開了一種太陽能污水凈化裝置,涉及污水處理技術領域,其中該裝置包括:污水箱,其上設有多個相互鉸接的太陽能板,且太陽能板為污水箱供電;折疊組件,所述折疊組件安裝在污水箱的頂部;其中,所述折疊組件包含兩組分別設在太陽能板之間的連桿,且連桿與太陽能板的中部連接;所述太陽能板與連桿之間設有驅動器,通過驅動器帶動太陽能板之間進行開合。本發明所述的一種太陽能污水凈化裝置,由于采用了連桿將付太陽能板的中部連接在一起,所以,有效解決了現有的太陽能污水凈化裝置在使用時,太陽能板不便收納的技術問題,進而實現了太陽能板的快速折疊與展開,從而提高裝置的適用性,以及太陽能板收納的方便性。

權利要求書
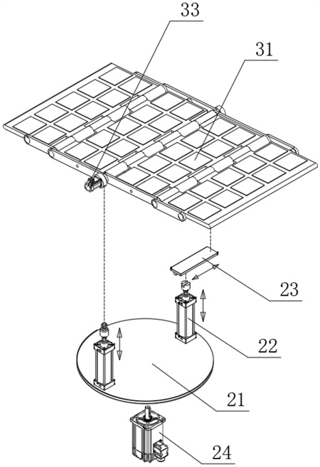
1.一種太陽能污水凈化裝置,其特征在于,該裝置包括:污水箱(1),其上設有多個相互鉸接的太陽能板(31),且太陽能板(31)為污水箱(1)供電;折疊組件(3),所述折疊組件(3)安裝在污水箱(1)的頂部,用于對太陽能板(31)進行折疊;其中,所述折疊組件(3)包含兩組分別設在太陽能板(31)之間的連桿(32),且連桿(32)與太陽能板(31)的中部連接,通過連桿(32)將所有太陽能板(31)的中部保持在同一直線上;所述太陽能板(31)與連桿(32)之間設有驅動器,通過驅動器帶動太陽能板(31)之間進行開合。
2.如權利要求1所述的一種太陽能污水凈化裝置,其特征在于:所述連桿(32)包括多個相互鉸接的長桿,且最端部的所述長桿鉸接有短桿;其中,所述長桿的長度與太陽能板(31)的寬度相等,且長桿的中部通過轉軸與太陽能板(31)的中部連接;所述短桿的長度為長桿長度的一半,且短桿一端與最端部長桿連接,另一端通過軸承與太陽能板(31)的中部連接。
3.如權利要求2所述的一種太陽能污水凈化裝置,其特征在于:所述驅動器包含連接在相鄰兩個長桿鉸接處的自鎖馬達(33),且自鎖馬達(33)的輸出軸后上纏繞有牽引繩(34),所述牽引繩(34)的一端與相鄰兩個所述太陽能板(31)的鉸接處連接。
4.如權利要求3所述的一種太陽能污水凈化裝置,其特征在于:所述牽引繩(34)遠離自鎖馬達(33)的一端連接有連接片(35),且牽引繩(34)通過連接片(35)與相鄰兩個太陽能板(31)的鉸接處連接。
5.如權利要求1所述的一種太陽能污水凈化裝置,其特征在于:所述太陽能板(31)包括支架,且支架的外部鑲嵌有若干光伏組件;其中,所述支架的頂部開設有嵌入槽,且所述支架通過嵌入槽與光伏組件嵌入式連接。
6.如權利要求2所述的一種太陽能污水凈化裝置,其特征在于:所述污水箱(1)與折疊組件(3)之間設有轉向組件(2),且污水箱(1)通過轉向組件(2)帶動太陽能板(31)進行移動;其中,所述轉向組件(2)包含底盤(21),且底盤(21)的頂部安裝有多個升降桿(22),所述底盤(21)通過升降桿(22)調節太陽能板(31)的傾斜方向。
7.如權利要求6所述的一種太陽能污水凈化裝置,其特征在于:所述升降桿(22)的數量為兩組,其中一組所述升降桿(22)與相鄰兩個連桿(32)的連接處鉸接;另一組所述升降桿(22)的伸縮端滑動連接有滑軌(23),且滑軌(23)與相鄰兩個連桿(32)的連接處鉸接;其中,兩組所述升降桿(22)分別與太陽能板(31)的兩側對應。
8.如權利要求6所述的一種太陽能污水凈化裝置,其特征在于:所述污水箱(1)的頂部安裝有電機(24),且電機(24)的輸出軸與底盤(21)的底部連接;其中,所述底盤(21)通過電機(24)帶動太陽能板(31)進行旋轉。
9.如權利要求6所述的一種太陽能污水凈化裝置,其特征在于:所述太陽能板(31)的表面安裝有光敏電阻,且太陽能板(31)通過光敏電阻檢測太陽能板(31)是否與太陽正對;其中,所述太陽能板(31)的內部安裝有電阻表,通過電阻表檢測光敏電阻的電阻大小。
10.如權利要求6所述的一種太陽能污水凈化裝置,其特征在于:所述污水箱(1)與底盤(21)之間通過軸承連接。
發明內容
(一)解決的技術問題
正對現有技術的不足,本發明提供了一種太陽能污水凈化裝置,解決現有的太陽能污水凈化裝置在使用時,太陽能板不便收納的技術問題。
(二)技術方案
為實現以上目的,本發明通過以下技術方案予以實現:
一種太陽能污水凈化裝置,該裝置包括污水箱,該污水箱用于存儲污水并對污水進行過濾,采用現已有的設備即可,且污水箱的頂部安裝有太陽能組件,采用市面上常見的光伏組件組成,通過太陽能組件吸收光能,再將光能轉化為電能,為其下方的污水箱提供動力,從而進行資源的合理利用:
污水箱,具有污水凈化功能,其上設有多個相互鉸接的太陽能板,且太陽能板為污水箱供電;
折疊組件,所述折疊組件安裝在污水箱的頂部,用于對太陽能板進行折疊,其上的太陽能組件吸收光能,再將光能轉化為電能;
其中,所述折疊組件包含兩組分別設在太陽能板之間的連桿,且連桿與太陽能板的中部連接,通過連桿將所有太陽能板的中部保持在同一直線上,從而方便將太陽能板折疊起來;
所述太陽能板與連桿之間設有驅動器,通過驅動器帶動太陽能板之間進行開合,為太陽能板的開合提供動力。
優選的,所述連桿包括多個相互鉸接的長桿,且最端部的所述長桿鉸接有短桿,同理,也可以全部采用長桿,不但可以節省部分材料,同時可以避免最端部的長桿裸露在外造成影響(因為只有長桿的中部和太陽能板的中部連接);
其中,所述長桿的長度與太陽能板的寬度相等,且長桿的中部通過轉軸與太陽能板的中部連接;
所述短桿的長度為長桿長度的一半,且短桿一端與最端部長桿連接,另一端通過軸承與太陽能板的中部連接。
優選的,所述驅動器包含連接在相鄰兩個長桿鉸接處的自鎖馬達,且自鎖馬達的輸出軸后上纏繞有牽引繩,所述牽引繩的一端與相鄰兩個所述太陽能板的鉸接處連接;所述牽引繩遠離自鎖馬達的一端連接有連接片,且牽引繩通過連接片與相鄰兩個太陽能板的鉸接處連接,因此在自鎖馬達通電時,能夠對牽引繩進行收卷,使得牽引繩拉動,由于牽引繩的另一端與兩個太陽能板的鉸接處連接,所以,能夠使太陽能板與連桿在同一平面,從而使太陽能板展開;同理,當需要對太陽能板進行收放時,將牽引繩放出,此時太陽能板和連桿之間就能進行彎曲,之后再由通過按壓,將太陽能板之間折疊起來。
優選的,所述太陽能板包括支架,且支架的外部鑲嵌有若干光伏組件;
其中,所述支架的頂部開設有嵌入槽,且所述支架通過嵌入槽與光伏組件嵌入式連接,因此方便對損壞的光伏組件進行更換,提高資源的利用率,避免對整個太陽能板進行拆卸與更換。
優選的,所述污水箱與折疊組件之間設有轉向組件,且污水箱通過轉向組件帶動太陽能板進行移動,運動方式主要由以下兩種方式組成,一是通過電機帶動太陽能板進行旋轉,從而跟隨太陽就行移動;二是通過升降桿之間的伸縮差,調整太陽能板的傾斜方向,從而調整到與太陽光線直射的角度,由此提高太陽能板對調養光的吸收效率。
其中,所述轉向組件包含底盤,且底盤的頂部安裝有多個升降桿,所述底盤通過升降桿調節太陽能板的傾斜方向,通過各個升降桿的伸縮差,來實現太陽能板傾斜角度的調節,例如,其中一個伸長長度小于其他的升降桿的伸長長度,此時太陽能板就向該升降桿所在方向傾斜,而傾斜的程度,取決于該升降桿和其他升降桿的長度差,由此調整太陽能板的傾斜程度和傾斜方向。
優選的,此方案為優選方案:所述升降桿的數量為兩組,其中一組所述升降桿與相鄰兩個連桿的連接處鉸接;另一組所述升降桿的伸縮端滑動連接有滑軌,且滑軌與相鄰兩個連桿的連接處鉸接;
其中,兩組所述升降桿分別與太陽能板的兩側對應,因此,當其中一個升降桿收縮,而另一個升降桿伸長時,太陽能板就會向收縮的那個升降桿方向傾斜,而傾斜的程度,取決于該升降桿和另一個升降桿的長度差,由此調整太陽能板的傾斜程度和傾斜方向。
優選的,所述污水箱的頂部安裝有電機,且電機的輸出軸與底盤的底部連接;
其中,所述底盤通過電機帶動太陽能板進行旋轉,因此,在電機通電時,能夠帶動底盤以及安裝在底盤上的太陽能板進行同步旋轉,,從而跟隨太陽就行移動,通過與升降桿配合,達到正對太陽,并跟隨太陽的移動而移動。
優選的,所述太陽能板的表面安裝有光敏電阻,且太陽能板通過光敏電阻檢測太陽能板是否與太陽正對;
其中,所述太陽能板的內部安裝有電阻表,通過電阻表檢測光敏電阻的電阻大小,當太陽能板與太陽正對時,太陽能板上的光敏電阻值發生減小,因此,根據轉動過程中,光敏電阻的變化情況,得到最適角度和方向。
優選的,所述污水箱與底盤之間通過軸承連接,方便底盤在污水箱頂部旋轉。
(三)有益效果
1、由于采用了連桿將付太陽能板的中部連接在一起,所以,有效解決了現有的太陽能污水凈化裝置在使用時,太陽能板不便收納的技術問題,進而實現了太陽能板的快速折疊與展開,從而提高裝置的適用性,以及太陽能板收納的方便性。
2、由于采用了升降桿對太陽能板的傾斜方向進行調整,再由電機帶動光伏板進行旋轉,所以,有效解決了現有的太陽能污水凈化裝置在使用時,光能轉化量不穩定的技術問題,進而實現了太陽能板的調節,提高太陽能板對光能轉化的效率。
3、由于采用了光敏電阻檢測光線的強度,從而得到光線對太陽能板的照射情況,方便及時的調整太陽能板的傾斜角度和傾斜方向。
(發明人:王斌;韋超;王生;朱月梅;燕浩)






