公布日:2023.10.20
申請日:2023.07.14
分類號:C02F1/72(2023.01)I;C02F1/52(2023.01)I;C02F11/122(2019.01)I;C02F1/00(2023.01)N;C02F103/06(2006.01)N;C02F101/30(2006.01)N
摘要
本發明涉及地下水修復領域,尤其涉及一種芬頓反應型循環井系統,旨在緩解相關技術中Fe(OH)3沉淀堵塞循環井下部花孔和曝氣頭的技術問題。該芬頓反應型循環井系統包括循環井、循環井總成和沉淀處理總成;循環井總成包括外井管,外井管與循環井內壁之間圍設形成污泥倉;沉淀處理總成包括潛污泵、抽泥管和污泥處理組件;其中,潛污泵設置于污泥倉底部;抽泥管的一端與潛污泵連接,另一端穿出至循環井外與污泥處理組件連接。采用該芬頓反應型循環井系統,可以將沉淀泵至井外,避免沉淀在井底的積累,從而實現對下部花孔和曝氣頭的保護,進而保證循環井循環效果以及對地下水的修復效果。

權利要求書
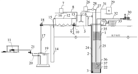
1.一種芬頓反應型循環井系統,其特征在于,包括:循環井、循環井總成和沉淀處理總成;所述循環井總成包括外井管(1),所述外井管(1)與所述循環井內壁之間圍設形成污泥倉(2);所述沉淀處理總成包括潛污泵(3)、抽泥管(4)和污泥處理組件;其中,所述潛污泵(3)設置于所述污泥倉(2)底部;所述抽泥管(4)的一端與所述潛污泵(3)連接,另一端穿出至所述循環井外與所述污泥處理組件連接。
2.根據權利要求1所述的芬頓反應型循環井系統,其特征在于,所述污泥處理組件包括攪拌池(5)、攪拌槳(6)、PAC藥箱(7)和第一加藥管(8);所述抽泥管(4)與所述攪拌池(5)連通;所述攪拌槳(6)設置于所述攪拌池(5)內;所述第一加藥管(8)的一端伸入于所述攪拌池(5)內,另一端穿出至所述攪拌池(5)外與所述PAC藥箱(7)連通。
3.根據權利要求2所述的芬頓反應型循環井系統,其特征在于,所述污泥處理組件還包括第一污泥管(9)、第一污泥泵(10)和板框壓濾機(11);所述第一污泥管(9)連接于所述攪拌池(5)與所述板框壓濾機(11)之間,且所述第一污泥管(9)與所述攪拌池(5)連通的一端靠近所述攪拌池(5)的底部;所述第一污泥泵(10)設置于所述第一污泥管(9)。
4.根據權利要求3所述的芬頓反應型循環井系統,其特征在于,所述污泥處理組件還包括平流沉淀池(12)和第一上清液管(13);所述第一上清液管(13)的一端與所述攪拌池(5)連通,且靠近所述攪拌池(5)的頂部,另一端與所述平流沉淀池(12)連通。
5.根據權利要求4所述的芬頓反應型循環井系統,其特征在于,所述污泥處理組件還包括回流井(14)和第二上清液管(15);所述第二上清液管(15)的一端與所述平流沉淀池(12)連通,且靠近所述平流沉淀池(12)的頂部,另一端伸入于所述回流井(14);所述第二上清液管(15)上設有閥門(16)。
6.根據權利要求4所述的芬頓反應型循環井系統,其特征在于,所述污泥處理組件還包括第二污泥管(17)和第二污泥泵(18);所述第二污泥管(17)連接于所述平流沉淀池(12)與所述板框壓濾機(11)之間,且所述第二污泥管(17)與所述平流沉淀池(12)連通的一端靠近所述平流沉淀池(12)的底部;所述第二污泥泵(18)設置于所述第二污泥管(17)。
7.根據權利要求6所述的芬頓反應型循環井系統,其特征在于,所述污泥處理組件還包括污泥池(19)、第三污泥管(20)和提升泵(21);所述第一污泥管(9)和所述第二污泥管(17)均與所述污泥池(19)連通;所述第三污泥管(20)的一端與所述污泥池(19)連通,另一端連接于所述板框壓濾機(11);所述提升泵(21)設置于所述第三污泥管(20)。8.根據權利要求1所述的芬頓反應型循環井系統,其特征在于,沿所述循環井的縱向,所述循環井的側壁凹陷形成過流槽,所述過流槽的槽面與所述外井管(1)的外側壁之間圍設形成所述污泥倉(2);所述沉淀處理總成還包括推流板(22)和驅動組件;所述推流板(22)設置于所述外井管(1)內,并處于所述外井管(1)的底部,且正對于所述污泥倉(2);所述驅動組件與所述推流板(22)傳動連接,以驅動所述推流板(22)向靠近或遠離所述污泥倉(2)的方向移動。
9.根據權利要求1所述的芬頓反應型循環井系統,其特征在于,所述循環井總成還包括法蘭(23),所述法蘭(23)設置于所述循環井的井口;所述法蘭(23)上設有吊繩(24),所述吊繩(24)的垂落端與所述潛污泵(3)連接。
10.根據權利要求1至9任一項所述的芬頓反應型循環井系統,其特征在于,所述循環井總成還包括內井管(25),所述內井管(25)設置于所述外井管(1)內;所述芬頓反應型循環井系統還包括加藥總成,所述加藥總成包括芬頓加藥箱(26)、第二加藥管(27)和加藥泵(28);其中,所述第二加藥管(27)的一端伸入于所述內井管(25)內,另一端穿出至所述循環井外與所述芬頓加藥箱(26)連通;所述加藥泵(28)設置于所述第二加藥管(27)。
發明內容
本發明的目的在于提供一種芬頓反應型循環井系統,以緩解相關技術中Fe(OH)3沉淀堵塞循環井下部花孔和曝氣頭的技術問題。
為了解決上述技術問題,本發明提供的技術方案在于:
本發明提供的芬頓反應型循環井系統,包括:循環井、循環井總成和沉淀處理總成;
所述循環井總成包括外井管,所述外井管與所述循環井內壁之間圍設形成污泥倉;
所述沉淀處理總成包括潛污泵、抽泥管和污泥處理組件;
其中,所述潛污泵設置于所述污泥倉底部;
所述抽泥管的一端與所述潛污泵連接,另一端穿出至所述循環井外與所述污泥處理組件連接。
進一步的,所述污泥處理組件包括攪拌池、攪拌槳、PAC藥箱和第一加藥管;
所述抽泥管與所述攪拌池連通;
所述攪拌槳設置于所述攪拌池內;
所述第一加藥管的一端伸入于所述攪拌池內,另一端穿出至所述攪拌池外與所述PAC藥箱連通。
進一步的,所述污泥處理組件還包括第一污泥管、第一污泥泵和板框壓濾機;
所述第一污泥管連接于所述攪拌池與所述板框壓濾機之間,且所述第一污泥管與所述攪拌池連通的一端靠近所述攪拌池的底部;
所述第一污泥泵設置于所述第一污泥管。
進一步的,所述污泥處理組件還包括平流沉淀池和第一上清液管;
所述第一上清液管的一端與所述攪拌池連通,且靠近所述攪拌池的頂部,另一端與所述平流沉淀池連通。
進一步的,所述污泥處理組件還包括回流井和第二上清液管;
所述第二上清液管的一端與所述平流沉淀池連通,且靠近所述平流沉淀池的頂部,另一端伸入于所述回流井;
所述第二上清液管上設有閥門。
進一步的,所述污泥處理組件還包括第二污泥管和第二污泥泵;
所述第二污泥管連接于所述平流沉淀池與所述板框壓濾機之間,且所述第二污泥管與所述平流沉淀池連通的一端靠近所述平流沉淀池的底部;
所述第二污泥泵設置于所述第二污泥管。
進一步的,所述污泥處理組件還包括污泥池、第三污泥管和提升泵;
所述第一污泥管和所述第二污泥管均與所述污泥池連通;
所述第三污泥管的一端與所述污泥池連通,另一端連接于所述板框壓濾機;
所述提升泵設置于所述第三污泥管。
進一步的,沿所述循環井的縱向,所述循環井的側壁凹陷形成過流槽,所述過流槽的槽面與所述外井管的外側壁之間圍設形成所述污泥倉;
所述沉淀處理總成還包括推流板和驅動組件;
所述推流板設置于所述外井管內,并處于所述外井管的底部,且正對于所述污泥倉;
所述驅動組件與所述推流板傳動連接,以驅動所述推流板向靠近或遠離所述污泥倉的方向移動。
進一步的,所述循環井總成還包括法蘭,所述法蘭設置于所述循環井的井口;
所述法蘭上設有吊繩,所述吊繩的垂落端與所述潛污泵連接。
進一步的,所述循環井總成還包括內井管,所述內井管設置于所述外井管內;
所述芬頓反應型循環井系統還包括加藥總成,所述加藥總成包括芬頓加藥箱、第二加藥管和加藥泵;
其中,所述第二加藥管的一端伸入于所述內井管內,另一端穿出至所述循環井外與所述芬頓加藥箱連通;
所述加藥泵設置于所述第二加藥管。
綜合上述技術方案,本發明提供的芬頓反應型循環井系統所能實現的技術效果在于:
本發明提供的芬頓反應型循環井系統包括循環井、循環井總成和沉淀處理總成;循環井總成包括外井管,外井管與循環井內壁之間圍設形成污泥倉;沉淀處理總成包括潛污泵、抽泥管和污泥處理組件;其中,潛污泵設置于污泥倉底部;抽泥管的一端與潛污泵連接,另一端穿出至循環井外與污泥處理組件連接。
在該芬頓反應型循環井系統中,外井管與循環井內壁之間圍設形成污泥倉,通過下部花孔,污泥倉與外井管連通;處于污泥倉底部的潛污泵可將相關沉淀通過抽泥管抽至循環井外,并由污泥處理組件對沉淀進行處理。由此可見,采用該芬頓反應型循環井系統,可以將沉淀泵至井外,避免沉淀在井底的積累,從而實現對下部花孔和曝氣頭的保護,進而保證循環井循環效果以及對地下水的修復效果。
(發明人:杜威;袁浩巍;陳日;屈智慧;于骉;張勝東)






