公布日:2023.10.10
申請日:2023.06.27
分類號:F23G5/44(2006.01)I;F23J15/02(2006.01)I;F23J15/04(2006.01)I;B01D46/12(2022.01)I;B01D47/02(2006.01)I
摘要
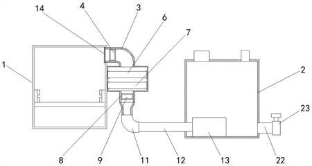
本發明涉及含油污泥凈化處理裝置,包括焚燒爐和洗氣罐,所述焚燒爐和洗氣罐上設有廢氣凈化機構,所述廢氣凈化機構包括固定安裝于焚燒爐表面與一號彎管,所述一號彎管內固定安裝有一號風機,所述一號彎管遠離焚燒爐一端固定安裝有過濾箱,所述過濾箱內活動安裝有活性炭過濾板和硅膠過濾板,所述過濾箱底部固定安裝有出氣管。該含油污泥凈化處理裝置,通過在焚燒爐和洗氣罐上設有廢氣凈化機構,在使用時可以將焚燒爐內焚燒含油污泥時產生的廢氣抽入過濾箱內進行過濾,再將經過過濾箱過濾后的廢氣送入洗氣罐內進行二次過濾凈化,利用清水來去除廢氣中可溶于水的有害物質,可以有效防止焚燒爐焚燒含油污泥時對空氣造成污染。

權利要求書
1.含油污泥凈化處理裝置,包括焚燒爐(1)和洗氣罐(2),其特征在于:所述焚燒爐(1)和洗氣罐(2)上設有廢氣凈化機構;所述廢氣凈化機構包括固定安裝于焚燒爐(1)表面與一號彎管(3),所述一號彎管(3)內固定安裝有一號風機(4),所述一號彎管(3)遠離焚燒爐(1)一端固定安裝有過濾箱(5),所述過濾箱(5)內活動安裝有活性炭過濾板(6)和硅膠過濾板(7),所述過濾箱(5)底部固定安裝有出氣管(8),所述出氣管(8)內固定安裝有二號風機(9),所述出氣管(8)底部固定安裝有連接頭(10),所述連接頭(10)底部固定安裝有二號彎管(11),所述二號彎管(11)遠離連接頭(10)一端固定安裝有貫穿至洗氣罐(2)內的連接管(12),所述連接管(12)遠離二號彎管(11)一端固定安裝有位于洗氣罐(2)內的氣泡石(13)。
2.根據權利要求1所述的含油污泥凈化處理裝置,其特征在于:所述一號彎管(3)內腔分別與焚燒爐(1)和過濾箱(5)內腔相連通。
3.根據權利要求1所述的含油污泥凈化處理裝置,其特征在于:所述出氣管(8)內腔分別與過濾箱(5)、連接頭(10)和二號彎管(11)內腔相連通,所述二號彎管(11)內腔與連接管(12)內腔相連通。
4.根據權利要求1所述的含油污泥凈化處理裝置,其特征在于:所述一號彎管(3)位于焚燒爐(1)內的一端固定安裝有防護網(14)。
5.根據權利要求1所述的含油污泥凈化處理裝置,其特征在于:所述過濾箱(5)內腔相對一側表面均固定安裝有一號安裝板(15),兩個所述一號安裝板(15)相對一側表面均開設有一號卡槽(16),所述活性炭過濾板(6)插接于一號卡槽(16)內。
6.根據權利要求1所述的含油污泥凈化處理裝置,其特征在于:所述過濾箱(5)內腔相對一側表面均固定安裝有二號安裝板(17),兩個所述二號安裝板(17)相對一側表面均開設有二號卡槽(18),所述硅膠過濾板(7)插接于二號卡槽(18)內。
7.根據權利要求1所述的含油污泥凈化處理裝置,其特征在于:所述過濾箱(5)前表面活動安裝有箱門(19)。
8.根據權利要求1所述的含油污泥凈化處理裝置,其特征在于:所述洗氣罐(2)上表面固定安裝有與洗氣罐(2)內腔相連通的注液管(20)。
9.根據權利要求1所述的含油污泥凈化處理裝置,其特征在于:所述洗氣罐(2)上表面固定安裝有與洗氣罐(2)內腔相連通的排氣管(21)。
10.根據權利要求1所述的含油污泥凈化處理裝置,其特征在于:所述洗氣罐(2)側表面固定安裝有洗氣罐(2)相連通的排水管(22),所述排水管(22)遠離洗氣罐(2)一端固定安裝有閥門(23)。
發明內容
針對現有技術的不足,本發明提供了含油污泥凈化處理裝置,具備便于對污泥處理過程中的廢氣進行處理的優點,解決了現有的焚燒爐在使用時無法對焚燒泥餅產生的廢氣進行處理,導致廢氣直接排放到空氣中造成大氣污染的問題。
為實現上述目的,本發明提供如下技術方案:含油污泥凈化處理裝置,包括焚燒爐和洗氣罐,所述焚燒爐和洗氣罐上設有廢氣凈化機構;
所述廢氣凈化機構包括固定安裝于焚燒爐表面與一號彎管,所述一號彎管內固定安裝有一號風機,所述一號彎管遠離焚燒爐一端固定安裝有過濾箱,所述過濾箱內活動安裝有活性炭過濾板和硅膠過濾板,所述過濾箱底部固定安裝有出氣管,所述出氣管內固定安裝有二號風機,所述出氣管底部固定安裝有連接頭,所述連接頭底部固定安裝有二號彎管,所述二號彎管遠離連接頭一端固定安裝有貫穿至洗氣罐內的連接管,所述連接管遠離二號彎管一端固定安裝有位于洗氣罐內的氣泡石。
進一步,所述一號彎管內腔分別與焚燒爐和過濾箱內腔相連通。
進一步,所述出氣管內腔分別與過濾箱、連接頭和二號彎管內腔相連通,所述二號彎管內腔與連接管內腔相連通。
進一步,所述一號彎管位于焚燒爐內的一端固定安裝有防護網。
進一步,所述過濾箱內腔相對一側表面均固定安裝有一號安裝板,兩個所述一號安裝板相對一側表面均開設有一號卡槽,所述活性炭過濾板插接于一號卡槽內。
進一步,所述過濾箱內腔相對一側表面均固定安裝有二號安裝板,兩個所述二號安裝板相對一側表面均開設有二號卡槽,所述硅膠過濾板插接于二號卡槽內。
進一步,所述過濾箱前表面活動安裝有箱門。
進一步,所述洗氣罐上表面固定安裝有與洗氣罐內腔相連通的注液管。
進一步,所述洗氣罐上表面固定安裝有與洗氣罐內腔相連通的排氣管。
進一步,所述洗氣罐側表面固定安裝有洗氣罐相連通的排水管,所述排水管遠離洗氣罐一端固定安裝有閥門。
與現有技術相比,本申請的技術方案具備以下有益效果:
該含油污泥凈化處理裝置,通過在焚燒爐和洗氣罐上設有廢氣凈化機構,在使用時可以將焚燒爐內焚燒含油污泥時產生的廢氣抽入過濾箱內進行過濾,再將經過過濾箱過濾后的廢氣送入洗氣罐內進行二次過濾凈化,利用清水來去除廢氣中可溶于水的有害物質,可以有效防止焚燒爐焚燒含油污泥時對空氣造成污染,解決了現有的焚燒爐在使用時無法對焚燒泥餅產生的廢氣進行處理,導致廢氣直接排放到空氣中造成大氣污染的問題。
(發明人:杜延斌)






