公布日:2023.10.03
申請日:2023.06.27
分類號:B09B3/00(2022.01)I;B09B3/38(2022.01)I;B09B3/32(2022.01)I;B09B3/70(2022.01)I
摘要
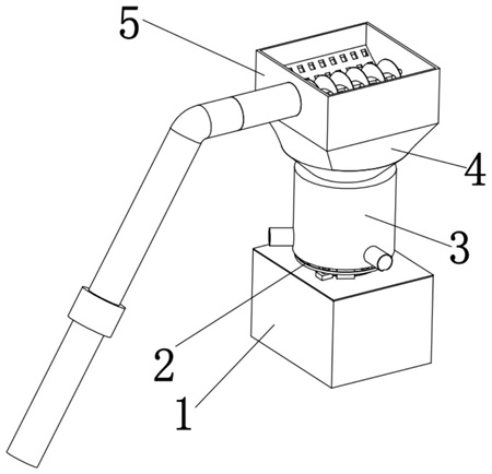
本發明涉及一種污泥垃圾分離處理裝置。本發明的有益效果是:包括出料室、清攪組件、次級分離室、濾塊篩和初篩室,出料室上固接有次級分離室,次級分離室上設置有清攪組件,濾塊篩固接在次級分離室的上端,初篩室固接在濾塊篩的上端,由初篩室到次級分離室再到出料室能率出的污泥顆粒度由大到小。1、能夠進行對污泥中的顆粒度不同的在雜質進行分離。2、直接去除分離過程中的大部分水,便于后續固化操作。

權利要求書
1.一種污泥垃圾分離處理裝置,其特征在于:包括出料室(1)、清攪組件(2)、次級分離室(3)、濾塊篩(4)和初篩室(5),出料室(1)上固接有次級分離室(3),次級分離室(3)上設置有清攪組件(2),濾塊篩(4)固接在次級分離室(3)的上端,初篩室(5)固接在濾塊篩(4)的上端,由初篩室(5)到次級分離室(3)再到出料室(1)能率出的污泥顆粒度由大到小。
2.根據權利要求1所述的一種污泥垃圾分離處理裝置,其特征在于:所述的清攪組件(2)包括同步齒輪(21)、推升螺線葉片(22)和傳動齒形帶(23),多個同步齒輪(21)通過傳動齒形帶(23)傳動,多個推升螺線葉片(22)分別固接在多個同步齒輪(21)上,多個同步齒輪(21)中的一個外接有動力源。
3.根據權利要求2所述的一種污泥垃圾分離處理裝置,其特征在于:所述的次級分離室(3)包括次級分離室外殼(31)、分離內膽(32)、分離孔(33)、固定架(34)、伸縮升降護罩(35)、轉動攪拌軸(37)、攪拌遮擋板(38)和排出管(320),多個推升螺線葉片(22)均轉動連接在次級分離室外殼(31),分離內膽(32)固接在次級分離室外殼(31)上,分離內膽(32)上設置多個分離孔(33),固定架(34)固接在次級分離室外殼(31)上,伸縮升降護罩(35)固接在固定架(34)上,伸縮升降護罩(35)的上端固接在攪拌遮擋板(38)上,多個轉動攪拌軸(37)均轉動連接在攪拌遮擋板(38)上,多個排出管(320)均固接在次級分離室外殼(31)上,攪拌遮擋板(38)底部設置有多個分離孔阻擋板(381)。
4.根據權利要求3所述的一種污泥垃圾分離處理裝置,其特征在于:多個所述的轉動攪拌軸(37)上均固接有多個齒輪軸(39),多個齒輪軸(39)通過傳動齒形帶(312)傳動,多個齒輪軸(39)轉動連接在攪拌遮擋板(38)上。
5.根據權利要求4所述的一種污泥垃圾分離處理裝置,其特征在于:多個所述的齒輪軸(39)上設置有多個傳動錐齒輪(310),多個傳動錐齒輪(310)間隔設置在多個齒輪軸(39)上。
6.根據權利要求5所述的一種污泥垃圾分離處理裝置,其特征在于:多個所述的傳動錐齒輪(310)均與驅動錐齒輪(311)嚙合傳動,傳動錐齒輪(310)固接在驅動電機(313)的輸出軸上。
7.根據權利要求6所述的一種污泥垃圾分離處理裝置,其特征在于:所述的次級分離室(3)還包括升降液壓桿(351),升降液壓桿(351)固接在固定架(34)上,升降液壓桿(351)位于伸縮升降護罩(35)中,驅動電機(313)固接在升降液壓桿(351)的上端。
8.根據權利要求7所述的一種污泥垃圾分離處理裝置,其特征在于:所述的初篩室(5)包括初篩箱(51)、電機(52)、攪動葉片(53)、上料泵(55)、泵料管(56)和弧形初篩板(57),電機(52)固接在初篩箱(51)上,攪動葉片(53)轉動連接在初篩箱(51)上,電機(52)固接在初篩箱(51)上,泵料管(56)固接在初篩箱(51)上,泵料管(56)上固接有上料泵(55),弧形初篩板(57)固接在初篩箱(51)上,弧形初篩板(57)位于攪動葉片(53)的正下方。
9.根據權利要求8所述的一種污泥垃圾分離處理裝置,其特征在于:所述的泵料管(56)的底部端頭內設置有阻擋濾網。
10.根據權利要求9所述的一種污泥垃圾分離處理裝置,其特征在于:所述的濾塊篩(4)包括中段連架(41)、初濾網(42)、振篩電機(43)和凸輪(44),中段連架(41)的上下兩端分別固接在初篩箱(51)和次級分離室外殼(31)上,振篩電機(43)固接在初濾網(42)上,初濾網(42)固接在中段連架(41)上,凸輪(44)固接在振篩電機(43)的輸出軸上。
發明內容
針對現有技術中的問題,本發明提供了一種污泥垃圾分離處理裝置。
本發明解決其技術問題所采用的技術方案是:
一種污泥垃圾分離處理裝置,包括出料室、清攪組件、次級分離室、濾塊篩和初篩室,出料室上固接有次級分離室,次級分離室上設置有清攪組件,濾塊篩固接在次級分離室的上端,初篩室固接在濾塊篩的上端,由初篩室到次級分離室再到出料室能率出的污泥顆粒度由大到小。
具體的,所述的清攪組件包括同步齒輪、推升螺線葉片和傳動齒形帶,多個同步齒輪通過傳動齒形帶傳動,多個推升螺線葉片分別固接在多個同步齒輪上,多個同步齒輪中的一個外接有動力源。
具體的,所述的次級分離室包括次級分離室外殼、分離內膽、分離孔、固定架、伸縮升降護罩、轉動攪拌軸、攪拌遮擋板和排出管,多個推升螺線葉片均轉動連接在次級分離室外殼,分離內膽固接在次級分離室外殼上,分離內膽上設置多個分離孔,固定架固接在次級分離室外殼上,伸縮升降護罩固接在固定架上,伸縮升降護罩的上端固接在攪拌遮擋板上,多個轉動攪拌軸均轉動連接在攪拌遮擋板上,多個排出管均固接在次級分離室外殼上,攪拌遮擋板底部設置有多個分離孔阻擋板。
具體的,多個所述的轉動攪拌軸上均固接有多個齒輪軸,多個齒輪軸通過傳動齒形帶傳動,多個齒輪軸轉動連接在攪拌遮擋板上。
具體的,多個所述的齒輪軸上設置有多個傳動錐齒輪,多個傳動錐齒輪間隔設置在多個齒輪軸上。
具體的,多個所述的傳動錐齒輪均與驅動錐齒輪嚙合傳動,傳動錐齒輪固接在驅動電機的輸出軸上。
具體的,所述的次級分離室還包括升降液壓桿,升降液壓桿固接在固定架上,升降液壓桿位于伸縮升降護罩中,驅動電機固接在升降液壓桿的上端。
具體的,所述的初篩室包括初篩箱、電機、攪動葉片、上料泵、泵料管和弧形初篩板,電機固接在初篩箱上,攪動葉片轉動連接在初篩箱上,電機固接在初篩箱上,泵料管固接在初篩箱上,泵料管上固接有上料泵,弧形初篩板固接在初篩箱上,弧形初篩板位于攪動葉片的正下方。
具體的,所述的泵料管的底部端頭內設置有阻擋濾網。
具體的,所述的濾塊篩包括中段連架、初濾網、振篩電機和凸輪,中段連架的上下兩端分別固接在初篩箱和次級分離室外殼上,振篩電機固接在初濾網上,初濾網固接在中段連架上,凸輪固接在振篩電機的輸出軸上。
本發明的有益效果是:
(1)能夠進行對污泥中的顆粒度不同的在雜質進行分離。
(2)直接去除分離過程中的大部分水,便于后續固化操作。
(發明人:夏玉坤;王成;錢志江;金喆浩;柳秀文;章燕冰)






