公布日:2024.04.12
申請日:2024.01.17
分類號:C02F9/00(2023.01)I;C02F103/06(2006.01)N;C02F1/00(2023.01)N;C02F1/40(2023.01)N;C02F1/72(2023.01)N;C02F1/52(2023.01)N;C02F1/56(2023.01)N;C02F3
/30(2023.01)N;C02F3/12(2023.01)N;C02F101/30(2006.01)N;C02F101/16(2006.01)N
摘要
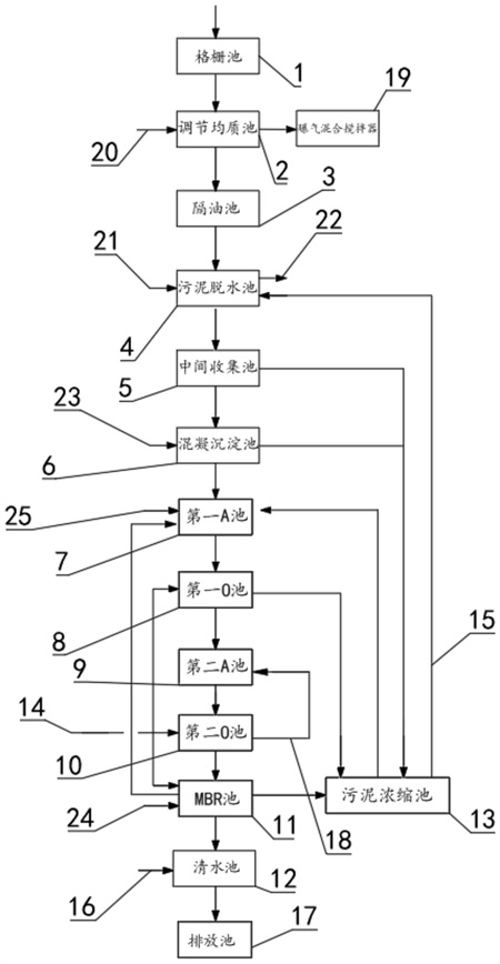
本發明涉及技術污水處理技術領域,尤其涉及一種生活壓縮垃圾污水處理系統,包括格柵池、調節均質池、隔油池、污泥脫水池、中間收集池、混凝沉淀池、第一A池、第一O池、第二A池、第二O池、MBR池、清水池、污泥濃縮池、曝氣管路和上清液回流管,調節均質池與柵池連通,隔油池的進水端和出水端分別與調節均質池和污泥脫水池連通,中間收集池與污泥脫水池連通,混凝沉淀池與中間收集池連通,以此方式解決了現有技術中針對生活垃圾在壓縮后收集的污水采用的方式是和垃圾填埋場滲透液處理工藝差不多,但生活垃圾在壓縮后收集的污水的有機物濃度高于垃圾填埋場滲透液,故現有方式對生活垃圾在壓縮后收集的污水處理效果不佳的技術問題。

權利要求書
1.一種生活壓縮垃圾污水處理系統,其特征在于,包括格柵池、調節均質池、隔油池、污泥脫水池、中間收集池、混凝沉淀池、第一A池、第一O池、第二A池、第二O池、MBR池、清水池、污泥濃縮池、曝氣管路和上清液回流管,所述調節均質池與所述柵池連通,所述隔油池的進水端和出水端分別與所述調節均質池和所述污泥脫水池連通,所述中間收集池與所述污泥脫水池連通,所述混凝沉淀池與所述中間收集池連通,所述第一A池與所述混凝沉淀池連通,所述第一O池與所述第一A池連通,所述第二A池設置在所述第一O池和所述第二O池之間,所述MBR池與所述第二O池連通,所述清水池和所述污泥濃縮池均與所述MBR池連通,所述曝氣管路均與所述第一A池、所述第一O池、所述第二O池和MBR池連接,所述上清液回流管的兩端分別與所述污泥濃縮池和所述污泥脫水池連通;所述調節均質池設置有調節管路;所述污泥脫水池設置有第一加藥口和排泥口;所述混凝沉淀池設置有第二加藥口;所述MBR池設置有第三加藥口;所述污泥濃縮池還與所述中間收集池和所述混凝沉淀池連通。
2.如權利要求1所述的生活壓縮垃圾污水處理系統,其特征在于,所述生活壓縮垃圾污水處理系統還包括加熱管道,所述加熱管道與所述第一A池連接。
3.如權利要求2所述的生活壓縮垃圾污水處理系統,其特征在于,所述生活壓縮垃圾污水處理系統還包括消毒管路,所述消毒管路與所述清水池連通。
4.如權利要求3所述的生活壓縮垃圾污水處理系統,其特征在于,所述生活壓縮垃圾污水處理系統還包括排放池,所述排放池與所述清水池的出水端連通。
5.如權利要求4所述的生活壓縮垃圾污水處理系統,其特征在于,所述生活壓縮垃圾污水處理系統還包括污泥回流管路,所述污泥回流管路的兩端分別與所述第二A池和所述第二O池連接。
6.如權利要求5所述的生活壓縮垃圾污水處理系統,其特征在于,所述生活壓縮垃圾污水處理系統還包括曝氣混合攪拌器,所述曝氣混合攪拌器與所述調節均質池連接。
發明內容
本發明的目的在于提供一種生活壓縮垃圾污水處理系統,旨在解決現有技術中針對生活垃圾在壓縮后收集的污水采用的方式是和垃圾填埋場滲透液處理工藝差不多,但生活垃圾在壓縮后收集的污水的有機物濃度高于垃圾填埋場滲透液,故現有方式對生活垃圾在壓縮后收集的污水處理效果不佳的技術問題。
為實現上述目的,本發明采用的一種生活壓縮垃圾污水處理系統,包括格柵池、調節均質池、隔油池、污泥脫水池、中間收集池、混凝沉淀池、第一A池、第一O池、第二A池、第二O池、MBR池、清水池、污泥濃縮池、曝氣管路和上清液回流管,所述調節均質池與所述柵池連通,所述隔油池的進水端和出水端分別與所述調節均質池和所述污泥脫水池連通,所述中間收集池與所述污泥脫水池連通,所述混凝沉淀池與所述中間收集池連通,所述第一A池與所述混凝沉淀池連通,所述第一O池與所述第一A池連通,所述第二A池設置在所述第一O池和所述第二O池之間,所述MBR池與所述第二O池連通,所述清水池和所述污泥濃縮池均與所述MBR池連通,所述曝氣管路均與所述第一A池、所述第一O池、所述第二O池和MBR池連接,所述上清液回流管的兩端分別與所述污泥濃縮池和所述污泥脫水池連通;
所述調節均質池設置有調節管路;
所述污泥脫水池設置有第一加藥口和排泥口;
所述混凝沉淀池設置有第二加藥口;
所述MBR池設置有第三加藥口;
所述污泥濃縮池還與所述中間收集池和所述混凝沉淀池連通。
其中,所述生活壓縮垃圾污水處理系統還包括加熱管道,所述加熱管道與所述第一A池連接。
其中,所述生活壓縮垃圾污水處理系統還包括消毒管路,所述消毒管路與所述清水池連通。
其中,所述生活壓縮垃圾污水處理系統還包括排放池,所述排放池與所述清水池的出水端連通。
其中,所述生活壓縮垃圾污水處理系統還包括污泥回流管路,所述污泥回流管路的兩端分別與所述第二A池和所述第二O池連接。
其中,所述生活壓縮垃圾污水處理系統還包括曝氣混合攪拌器,所述曝氣混合攪拌器與所述調節均質池連接。
本發明的一種生活壓縮垃圾污水處理系統,在具體使用時,首先污水處理站將垃圾壓縮后全部廢水進行收集,流至所述格柵池內經不銹鋼細格網分離固體雜質后進入所述調節均質池,垃圾壓縮廢水在所述調節均質池中得到均質均量后進入所述隔油池進行隔油處理,處理后的污水進入所述污泥脫水池進行脫水,在此過程中在所述第一加藥口內加入石灰水/專用氧化劑/PAC/PAM至所述污泥脫水池內氧化絮凝,并進行泥水分離,此時經過污泥脫水池后的污水進入所述中間收集池,產生的泥餅經所述排泥口排出,所述中間收集池內的污水進入所述混凝沉淀池內,在所述第二加藥口內加入堿/專用氧化劑/PAC/PAM至所述混凝沉淀池內對污水進一步進行氧化絮凝,處理后的污水進入所述第一A池,首先在所述第一A池中加入特殊的菌種,則在所述第一A池中可產生厭氧和兼氧生化反應,可去除一部分的CODcr、BOD5和NH4+-N,隨后進入所述第一O池內利用微生物(如硝化細菌和脫氮細菌)將廢水中的氨氮通過硝化和反硝化反應轉化為氮氣,從而降低廢水中的氮含量,經所述第一O池處理后的污水進入所述第二A池內進行再次去除CODcr、BOD5和NH4+-N,然后經所述第二O池充分實現去除有機物和脫氮的功能,所述MBR池置于所述第二O池后面,所述MBR池內加入檸檬酸/次氯酸鈉進行處理后即可排放至所述清水池內進行使用或排出,在此過程中,所述中間收集池、所述混凝沉淀池、所述第一O池和所述MBR池內處理時所產生的剩余污泥進入所述污泥濃縮池,經濃縮處理后的污泥由污泥脫水機處理,濾清水和濃縮池上清液回流至所述污泥脫水池內進行重復處理,以此方式解決了現有技術中針對生活垃圾在壓縮后收集的污水采用的方式是和垃圾填埋場滲透液處理工藝差不多,但生活垃圾在壓縮后收集的污水的有機物濃度高于垃圾填埋場滲透液,故現有方式對生活垃圾在壓縮后收集的污水處理效果不佳的技術問題。
(發明人:孫會貴;張婷)






