公布日:2024.04.12
申請日:2024.02.28
分類號:C02F9/00(2023.01)I;B01D53/62(2006.01)I;B01D53/84(2006.01)I;C02F3/30(2023.01)N;C02F1/00(2023.01)N;C02F1/32(2023.01)N;C02F1/66(2023.01)N
摘要
本發明屬于污水處理技術領域,提供了一種生活污水低碳處理裝置及方法,上述生活污水低碳處理裝置,先將生活污水輸入所述厭氧池內反應,以將有機物轉化為化合物,并產生二氧化碳氣體;然后將厭氧池內的污水輸入生化膜反應池,以分解并吸收污水內的氮、磷、鉀元素,并降低污水的化學需氧量;再將生化膜反應池內的污水輸入至沉淀池進行沉淀,以得到符合排放標準的水;同時,通過氣體收集裝置將所述二氧化碳氣體排入所述種植區內,并通過所述補光燈進行夜間補光,以使得種植區的植物日夜進行光合作用,并將污水處理過程中產生的二氧化碳氣體通過植物光合作用吸收,極大地減小了二氧化碳氣體的排放量。

權利要求書
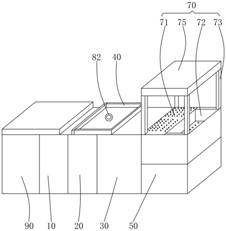
1.一種生活污水低碳處理裝置,其特征在于,包括厭氧池、設于所述厭氧池一側的生化膜反應池、設于所述生化膜反應池一側的沉淀池、設于所述沉淀池上端的污泥晾曬池、設于所述沉淀池一側的設備間、設于所述設備間內的氣體收集裝置,以及設于所述設備間上端的種植區,所述種植區包括土培種植區和水培種植區,所述沉淀池內設有污泥提升機構,所述污泥提升機構包括污泥提升泵和與所述污泥提升泵連接的污泥提升管,所述污泥提升管的上端延伸至所述污泥晾曬池內,所述氣體收集裝置包括設于所述設備間內的吸氣泵和與所述吸氣泵連接的吸氣管、排氣管,所述吸氣管的末端延伸至所述厭氧池內,所述排氣管的排氣端延伸至所述水培種植區內,所述種植區的上端設有透光罩,所述透光罩靠近所述污泥晾曬池的一側設有進出口,所述透光罩內設有補光燈,所述透光罩的上端設有與所述補光燈連接的太陽能發電模組。
2.根據權利要求1所述的生活污水低碳處理裝置,其特征在于,所述生化膜反應池內還設有污泥回流系統。
3.根據權利要求2所述的生活污水低碳處理裝置,其特征在于,所述污泥回流系統包括污泥回流泵和與所述污泥回流泵連接的污泥回流管,所述污泥回流管的末端延伸至所述厭氧池內。
4.根據權利要求1所述的生活污水低碳處理裝置,其特征在于,所述厭氧池的進水口的上側設有提籃式柵格網。
5.根據權利要求1所述的生活污水低碳處理裝置,其特征在于,所述生化膜反應池內設有生物床填料和生化膜。
6.根據權利要求1所述的生活污水低碳處理裝置,其特征在于,所述厭氧池的進水側還設有蓄水池,所述蓄水池內設有自動上水機構。
7.根據權利要求6所述的生活污水低碳處理裝置,其特征在于,所述自動上水機構包括水位計、與所述水位計電性連接的進水泵,以及與所述進水泵連接的進水管,所述進水管的末端延伸至所述厭氧池內。
8.根據權利要求6所述的生活污水低碳處理裝置,其特征在于,所述蓄水池的一側還設有加藥裝置。
9.根據權利要求1所述的生活污水低碳處理裝置,其特征在于,所述沉淀池內還設有紫外線消毒燈。
10.一種生活污水低碳處理方法,其特征在于,應用于權利要求1-9中任一一項所述的生活污水低碳處理裝置,所述方法包括:將生活污水輸入所述厭氧池內反應,以將有機物轉化為化合物,并產生二氧化碳氣體;將厭氧池內的污水輸入生化膜反應池,以分解并吸收污水內的氮、磷、鉀元素,并降低污水的化學需氧量;將生化膜反應池內的污水輸入至沉淀池進行沉淀;通過氣體收集裝置將所述二氧化碳氣體排入所述種植區內,并通過所述補光燈進行夜間補光,以使得種植區的植物日夜進行光合作用。
發明內容
本發明的目的是提供一種生活污水低碳處理裝置,以解決現有的生活污水處理方式排放大量的二氧化碳氣體的問題。
本發明提供了一種生活污水低碳處理裝置,包括厭氧池、設于所述厭氧池一側的生化膜反應池、設于所述生化膜反應池一側的沉淀池、設于所述沉淀池上端的污泥晾曬池、設于所述沉淀池一側的設備間、設于所述設備間內的氣體收集裝置,以及設于所述設備間上端的種植區,所述種植區包括土培種植區和水培種植區,所述沉淀池內設有污泥提升機構,所述污泥提升機構包括污泥提升泵和與所述污泥提升泵連接的污泥提升管,所述污泥提升管的上端延伸至所述污泥晾曬池內,所述氣體收集裝置包括設于所述設備間內的吸氣泵和與所述吸氣泵連接的吸氣管、排氣管,所述吸氣管的末端延伸至所述厭氧池內,所述排氣管的排氣端延伸至所述水培種植區內,所述種植區的上端設有透光罩,所述透光罩靠近所述污泥晾曬池的一側設有進出口,所述透光罩內設有補光燈,所述透光罩的上端設有與所述補光燈連接的太陽能發電模組。
上述生活污水低碳處理裝置,先將生活污水輸入所述厭氧池內反應,以將有機物轉化為化合物,并產生二氧化碳氣體;然后將厭氧池內的污水輸入生化膜反應池,以分解并吸收污水內的氮、磷、鉀元素,并降低污水的化學需氧量;再將生化膜反應池內的污水輸入至沉淀池進行沉淀,以得到符合排放標準的水;同時,通過氣體收集裝置將所述二氧化碳氣體排入所述種植區內,并通過所述補光燈進行夜間補光,以使得種植區的植物日夜進行光合作用,并將污水處理過程中產生的二氧化碳氣體通過植物光合作用吸收,極大地減小了二氧化碳氣體的排放量。
進一步地,所述生化膜反應池內還設有污泥回流系統。
進一步地,所述污泥回流系統包括污泥回流泵和與所述污泥回流泵連接的污泥回流管,所述污泥回流管的末端延伸至所述厭氧池內。
進一步地,所述厭氧池的進水口的上側設有提籃式柵格網。
進一步地,所述生化膜反應池內設有生物床填料和生化膜。
進一步地,所述厭氧池的進水側還設有蓄水池,所述蓄水池內設有自動上水機構。
進一步地,所述自動上水機構包括水位計、與所述水位計電性連接的進水泵,以及與所述進水泵連接的進水管,所述進水管的末端延伸至所述厭氧池內。
進一步地,所述蓄水池的一側還設有加藥裝置。
進一步地,所述沉淀池內還設有紫外線消毒燈。
本發明還提供了一種生活污水低碳處理方法,應用于上述任一一項所述的生活污水低碳處理裝置,所述方法包括:
將生活污水輸入所述厭氧池內反應,以將有機物轉化為化合物,并產生二氧化碳氣體;
將厭氧池內的污水輸入生化膜反應池,以分解并吸收污水內的氮、磷、鉀元素,并降低污水的化學需氧量;
將生化膜反應池內的污水輸入至沉淀池進行沉淀;
通過氣體收集裝置將所述二氧化碳氣體排入所述種植區內,并通過所述補光燈進行夜間補光,以使得種植區的植物日夜進行光合作用。
(發明人:胡華;邱俊;王玉杰;郭若彬;李瑩瑩;邱進;戴榕;項名智;陳明)






