公布日:2023.10.24
申請日:2023.07.10
分類號:C02F9/00(2023.01)I;C02F1/62(2023.01)N;C02F1/70(2023.01)N;C02F1/66(2023.01)N;C02F3/34(2023.01)N;C02F3/32(2023.01)N;C02F101/20(2006.01)N;C02F101
/10(2006.01)N;C02F101/30(2006.01)N;C02F103/10(2006.01)N
摘要
本發明公開了一種礦山酸性廢水生態處理系統及其處理方法,屬于水污染治理領域。本發明的生態處理系統,包括DOM反應沉淀池單元、生物炭基濾池單元和人工濕地凈化單元;礦山酸性廢水首先通過廢水進水管和生物炭衍生DOM混合后進入DOM反應沉淀池單元,在反應沉淀池內進行氧化還原反應和泥水分離;DOM反應沉淀池單元混合液溢流進入生物炭基濾池單元,經過微生物及填料凈化后的廢水溢流排入人工濕地凈化單元,在末端深度凈化后達標排放。本發明對礦山酸性廢水中的陰、陽重金屬離子及硫酸鹽等污染物均有較好的去除效果,具有結構簡單、便于維護、“以廢治廢”的特點,能夠在低投資、低運行成本的情況下解決礦山酸性廢水難處理、治理成本高的難題。

權利要求書
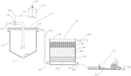
1.一種礦山酸性廢水生態處理系統,其特征在于:包括DOM反應沉淀池單元(1);所述DOM反應沉淀池單元(1)包括DOM儲存罐(1.3)和反應沉淀池(1.7),兩者通過DOM輸送管(1.4)連通;所述DOM儲存罐(1.3)內儲存有生物炭衍生DOM,所述生物炭衍生DOM為園林廢棄物水熱炭化液相產物或園林廢棄物高溫熱解炭水洗液;礦山酸性廢水和生物炭衍生DOM在反應沉淀池(1.7)中進行氧化還原反應。
2.根據權利要求1所述的一種礦山酸性廢水生態處理系統,其特征在于:所述DOM輸送管(1.4)上設置計量泵(1.5);所述反應沉淀池(1.7)里的生物炭衍生DOM含量為300~500mgC/L。
3.根據權利要求1所述的一種礦山酸性廢水生態處理系統,其特征在于:還包括生物炭基濾池單元(2);所述生物炭基濾池單元(2)包括池本體以及池本體內的填料層,填料層由下至上依次為鋼渣填料層(2.3)、生物炭填料層(2.4)和礫石填料層(2.5);所述反應沉淀池(1.7)的上部通過沉淀池出水管(1.10)與池本體的底部連通。
4.根據權利要求3所述的一種礦山酸性廢水生態處理系統,其特征在于:所述填料層外部以及各填料層之間均設有填料層格柵框架(2.2)。
5.根據權利要求3所述的一種礦山酸性廢水生態處理系統,其特征在于:所述生物炭填料層(2.4)里的生物炭為園林廢棄物在水熱反應釜中水熱反應得到的水熱炭或在管式爐中高溫厭氧燒制而成的熱解炭。
6.根據權利要求3所述的一種礦山酸性廢水生態處理系統,其特征在于:所述鋼渣填料層(2.3)里的鋼渣粒徑為2~6mm;所述生物炭填料層(2.4)中生物炭粒徑為1~4mm;所述礫石填料層(2.5)里的礫石粒徑為8~20mm;所述鋼渣填料層(2.3)、生物炭填料層(2.4)和礫石填料層(2.5)的體積比為1-2:2-4:1-2。
7.根據權利要求3至6任一所述的一種礦山酸性廢水生態處理系統,其特征在于:還包括人工濕地凈化單元(3);所述人工濕地凈化單元(3)為表流型人工濕地,濕地中種植濕地植物(3.1)。
8.根據權利要求7所述的一種礦山酸性廢水生態處理系統,其特征在于:所述DOM反應沉淀池單元(1)的水力停留時間為16~24h;所述生物炭基濾池單元(2)的水力停留時間為8~12h;所述人工濕地凈化單元(3)的水力停留時間為32~64h;所述反應沉淀池(1.7)底部的泥沙定期通過其底部的沉淀池排泥管(1.8)排出池外,排泥頻率為每月2~4次;所述生物炭基濾池單元(2)濾池池本體底部的污泥定期通過其底部的濾池排泥管(2.7)排出池外,排泥頻率為每月1~2次。
9.根據權利要求7所述的一種礦山酸性廢水生態處理系統,其特征在于:所述DOM反應沉淀池單元(1)、生物炭基濾池單元(2)和人工濕地凈化單元(3)在水流方向先后布置成整套系統,且設置高度依次降低。
10.一種礦山酸性廢水生態處理系統的處理方法,其特征在于,步驟為:S1、礦山酸性廢水通過廢水進水管(1.1)和生物炭衍生DOM混合后進入反應沉淀池(1.7),在池中完成氧化還原反應和泥水分離后,混合液從池頂溢流排出至生物炭基濾池單元(2)的池本體底部;S2、混有生物炭衍生DOM的廢水在池本體內向上移動,依次通過鋼渣填料層(2.3)、生物炭填料層(2.4)和礫石填料層(2.5);通過各填料層凈化后的中間水從池本體的池頂溢流排出至人工濕地凈化單元(3);S3、中間水再由人工濕地凈化單元(3)中的濕地植物(3.1)凈化后通過濕地排水管(3.2)達標排放。
發明內容
1、要解決的問題
針對現有各種AMD的治理方法存在易發生二次污染或凈化效果較差的問題,本發明提供一種礦山酸性廢水生態處理系統及其處理方法,通過生物炭衍生DOM對礦山酸性廢水進行氧化還原反應,具有操作簡單、管理便捷、出水水質好、耐沖擊負荷強、適用范圍廣等特點,達到低投資、低運行成本的情況下解決礦山酸性廢水難處理、治理成本高的技術效果。
2、技術方案
為解決上述問題,本發明采用如下的技術方案。
一種礦山酸性廢水生態處理系統,包括DOM(DissolvedOrganicMatter可溶性有機物)反應沉淀池單元;所述DOM反應沉淀池單元包括DOM儲存罐和反應沉淀池,兩者通過DOM輸送管連通;所述DOM儲存罐內儲存有生物炭衍生DOM;礦山酸性廢水(AMD)和生物炭衍生DOM在反應沉淀池中進行氧化還原反應。所述生物炭衍生DOM為園林廢棄物水熱炭化液相產物或園林廢棄物高溫熱解炭水洗液,生物炭衍生DOM的添加可為硫酸鹽還原菌、濕地植物提供生長所需碳源和養分,且富含多種活性官能團,能夠參與重金屬的氧化還原過程,較好地解決了礦山酸性廢水中缺乏碳源和養分的問題。
作為技術方案的進一步改進,DOM輸送管上設置計量泵,控制生物炭衍生DOM的添加量;所述反應沉淀池里的生物炭衍生DOM含量為300~500mgC/L,通過該含量來限定生物炭衍生DOM的添加量,使之在避免發生二次污染的前提下,達到排水標準的凈化效果。
作為技術方案的進一步改進,還包括生物炭基濾池單元,將生物炭衍生DOM參與重金屬的氧化還原過程后的雜質進行吸附、沉淀、中和等進一步的處理;所述生物炭基濾池單元包括池本體以及池本體內的填料層,填料層由下至上依次為鋼渣填料層、生物炭填料層和礫石填料層;所述反應沉淀池的上部通過沉淀池出水管與池本體的底部連通。鋼渣中含有的堿性成分能夠對礦山酸性廢水進行中和,提高廢水pH,防止酸性過高抑制微生物生長,并對廢水中的重金屬離子具有吸附、沉淀脫除的效果;生物炭采用園林廢棄物制備得到,具有成本低廉、比表面積大、表面官能團豐富、吸附性能強等特點,并且生物炭豐富的多孔結構能夠為硫酸鹽還原菌提供良好的附著環境,使其在復雜環境中依然能高效將SO42-還原為S2-,S2-與廢水中的重金屬離子結合形成溶解度較低的金屬硫化物,從而起到去除硫酸鹽和重金屬離子的目的;礫石具有均勻布水、防止濾料流失、易掛膜的特點,可以起到承托層的作用。
作為技術方案的進一步改進,填料層外部以及各填料層之間均設有填料層格柵框架,方便分層管理;格柵框架還可以設計為一種類似抽屜的前后抽動式活動容器,在填料層格柵框架所在高度的容器框側壁上開設有檢查更換口,填料層格柵框架可通過檢查更換口在容器框內進出,以便維護管理。
作為技術方案的進一步改進,生物炭填料層里的生物炭為園林廢棄物在水熱反應釜中水熱反應得到的水熱炭或在管式爐中高溫厭氧燒制而成的熱解炭,制作方便,成本低,而且碳源充足。
作為技術方案的進一步改進,鋼渣填料層里的鋼渣粒徑為2~6mm;所述生物炭填料層中生物炭粒徑為1~4mm;所述礫石填料層里的礫石粒徑為8~20mm;所述鋼渣填料層、生物炭填料層和礫石填料層的體積比為1-2:2-4:1-2。
作為技術方案的進一步改進,還包括人工濕地凈化單元;所述人工濕地凈化單元為表流型人工濕地,濕地中種植濕地植物;利用濕地中植物根系及其所形成的微環境進一步凈化廢水中殘留的重金屬和有機質,經過人工濕地深度凈化后通過濕地排水管達標排放。
作為技術方案的進一步改進,DOM反應沉淀池單元的水力停留時間為16~24h;所述生物炭基濾池單元的水力停留時間為8~12h;所述人工濕地凈化單元的水力停留時間為32~64h;所述反應沉淀池底部的泥沙定期通過其底部的沉淀池排泥管排出池外,排泥頻率為每月2~4次;所述生物炭基濾池單元濾池池本體底部的污泥定期通過其底部的濾池排泥管排出池外,排泥頻率為每月1~2次。
作為技術方案的進一步改進,DOM反應沉淀池單元、生物炭基濾池單元和人工濕地凈化單元在水流方向先后布置成整套系統,且設置高度依次降低,可達到自動化管理的效果,無需額外提供動力。
一種礦山酸性廢水生態處理系統的處理方法,具體步驟為:
S1、礦山酸性廢水通過廢水進水管和生物炭衍生DOM混合后進入反應沉淀池,在池中完成氧化還原反應和泥水分離后,混合液從池頂溢流排出至生物炭基濾池單元的池本體底部;
S2、混有生物炭衍生DOM的廢水在池本體內向上移動,依次通過鋼渣填料層、生物炭填料層和礫石填料層;通過各填料層凈化后的中間水從池本體的池頂溢流排出至人工濕地凈化單元;
S3、中間水再由人工濕地凈化單元中的濕地植物凈化后通過濕地排水管達標排放。
3、有益效果
相比于現有技術,本發明的有益效果為:
(1)本發明一種礦山酸性廢水生態處理系統及其處理方法,生物炭衍生DOM用于礦山酸性廢水的治理中。生物炭衍生DOM是生物炭在制備與應用過程中釋放出的最具活性和流動性的部分,研究表明,生物炭衍生DOM的成分主要包括COD、豐富的N、P、K營養元素、木質素、腐殖酸和酚酸等有機酸,可對環境的pH、污染物性質產生較大影響。本發明通過工程設計,合理利用了生物炭衍生DOM的環境特性,使得生物炭衍生DOM在反應沉淀池內與礦山酸性廢水混合反應,生物炭衍生DOM不僅可以充當電子供體,通過還原作用將礦山酸性廢水中的Fe(Ⅲ)還原為Fe(Ⅱ),還可以起到電子穿梭體的作用,促進Fe(Ⅱ)對廢水中Cr(Ⅵ)的還原,降低重金屬Cr的生物毒性,也使其流動性降低,易于沉淀和被吸附。此外,生物炭源DOM中的碳源可為后續處理環節中的硫酸鹽還原菌提供生長所需能源和電子供體,在末端處理中亦可為人工濕地植物提供養分,較好地解決了礦山酸性廢水中缺乏碳源和養分的問題;
(2)本發明一種礦山酸性廢水生態處理系統及其處理方法,生物炭基濾池單元中的填料依次選用鋼渣、生物炭、礫石組合填料。鋼渣中含有的堿性成分能夠對礦山酸性廢水進行中和,提高廢水pH,防止酸性過高抑制微生物生長,并對廢水中的重金屬離子具有吸附、沉淀脫除的效果;生物炭采用園林廢棄物制備得到,具有成本低廉、比表面積大、表面官能團豐富、吸附性能強等特點,并且生物炭豐富的多孔結構能夠為硫酸鹽還原菌提供良好的附著環境,使其在復雜環境中依然能高效將SO42-還原為S2-,S2-與廢水中的重金屬離子結合形成溶解度較低的金屬硫化物,從而起到去除硫酸鹽和重金屬離子的目的;礫石具有均勻布水、防止濾料流失、易掛膜的特點,可以起到承托層的作用;
(3)本發明一種礦山酸性廢水生態處理系統及其處理方法,在進水前端設置反應沉淀池,既可以使礦山酸性廢水中的泥沙等雜質沉淀排除,避免后端濾池被堵塞,又可以使生物炭源DOM和廢水充分混合反應;生物炭基濾池單元采用池底進水頂部出水的方式,既能夠避免填料層內部出現短流或優勢流,又可以使填料層一直處于水飽和狀態,形成厭氧狀態,有助于硫酸鹽還原菌的生長和產生還原作用;在生物炭基濾池單元后面加設人工濕地凈化單元,可以利用濕地中植物根系及其所形成的微環境進一步凈化廢水中殘留的重金屬和有機質,使得礦山酸性廢水深度凈化后達標排放。
(發明人:汪世旭;錢元弟;申書威;何兆芳;孫亮;張強;劉曉松)






