公布日:2023.09.12
申請日:2023.06.26
分類號:C02F11/14(2019.01)I;C02F11/13(2019.01)I;C02F11/121(2019.01)I;B01D53/04(2006.01)I;B01D53/28(2006.01)I;C02F103/20(2006.01)N
摘要
本發明公開了一種水產養殖自動排污裝置,所述排污烘干裝置包括濾水筒,且濾水筒頂部通過第一連接管與投藥筒相連接,濾水筒內部設置有攪拌機構,所述攪拌機構一端在濾布機構內轉動,濾水筒內部安裝有與濾布機構配合使用的清潔刷機構,濾水筒一側通過第二連接管與烘干筒相連接,第二連接管上安裝有泥污泵,烘干筒頂部安裝有循環加熱機構,烘干筒一側開設有排氣口,且排氣口內部安裝有氣體吸附棉。該水產養殖自動排污裝置,本裝置為解決水產養殖自動排污裝置無法對排出的污泥以及排泄物進行烘干的問題,通過將垂直輸送裝置與排污烘干裝置相連接,污泥以及排泄物進入濾水筒內進行攪拌初步濾水,濾水完成通過第二連接管進入烘干筒內部進行加熱烘干。

權利要求書
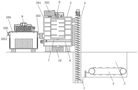
1.一種水產養殖自動排污裝置,包括沉砂池(1),所述沉砂池(1)設置在養殖池(2)的底部的一側,且養殖池(2)底部安裝有水平輸送裝置(3),所述沉砂池(1)內部設置有垂直輸送裝置(4),且垂直輸送裝置(4)與排污烘干裝置(5)相連接,其特征在于:所述排污烘干裝置(5)包括濾水筒(501),且濾水筒(501)頂部通過第一連接管與投藥筒(502)相連接,所述濾水筒(501)內部設置有攪拌機構(6),所述攪拌機構(6)一端在濾布機構(7)內轉動,所述濾水筒(501)內部安裝有與濾布機構(7)配合使用的清潔刷機構(8),所述濾水筒(501)一側通過第二連接管(503)與烘干筒(504)相連接,且第二連接管(503)上安裝有泥污泵,所述烘干筒(504)頂部安裝有循環加熱機構(9),所述烘干筒(504)一側開設有排氣口(505),且排氣口(505)內部安裝有氣體吸附棉(5051)。
2.根據權利要求1所述的一種水產養殖自動排污裝置,其特征在于:所述濾水筒(501)進污口與垂直輸送裝置(4)排污口相連通。
3.根據權利要求1所述的一種水產養殖自動排污裝置,其特征在于:所述攪拌機構(6)包括第一電機(601),且第一電機(601)位于濾水筒(501)外側頂部,所述第一電機(601)輸出端安裝有第一齒輪(602),且第一齒輪(602)外側與第二齒輪(603)相嚙合,所述第二齒輪(603)內側連接有轉桿(604),且轉桿(604)一端貫穿至濾水筒(501)內部與矩形攪拌桿(605)相連接,所述矩形攪拌桿(605)外側安裝有若干組攪拌葉(606),且矩形攪拌桿(605)一端在濾布機構(7)內部轉動。
4.根據權利要求1所述的一種水產養殖自動排污裝置,其特征在于:所述濾布機構(7)包括安裝框(701),且安裝框(701)安裝有濾布(7011),所述安裝框(701)內側通過對稱設置的安裝桿(702)與安裝塊(703)相連接,所述安裝塊(703)內部設置有軸承,且矩形攪拌桿(605)一端在安裝塊(703)內部設置的軸承內轉動。
5.根據權利要求1所述的一種水產養殖自動排污裝置,其特征在于:所述清潔刷機構(8)包括第二電機(801),且第二電機(801)位于濾水筒(501)外側設置的防護槽內側,所述第二電機(801)輸出端安裝有雙槽主動輪(802),且雙槽主動輪(802)通過傳動帶(803)與兩側設置的從動輪(804)相連接,所述從動輪(804)內側與對稱設置的螺紋桿機構(805)相連接,且螺紋桿機構(805)一端貫穿至濾水筒(501)內部,所述螺紋桿機構(805)之間通過清潔桿刷(806)相連接,且清潔桿刷(806)與濾水筒(501)內側滑動連接。
6.根據權利要求1所述的一種水產養殖自動排污裝置,其特征在于:所述濾水筒(501)底部開設有排水口,且排水口與集水箱(10)相連接。
7.根據權利要求1所述的一種水產養殖自動排污裝置,其特征在于:所述烘干筒(504)包括筒體(5041),且筒體(5041)內部開設有安裝槽,所述安裝槽內部設置有加熱絲(5042),且加熱絲(5042)外側安裝有導熱板(5043),所述筒體(5041)外側設置有隔熱層(5044)。
8.根據權利要求1所述的一種水產養殖自動排污裝置,其特征在于:所述循環加熱機構(9)包括集氣箱(901),且集氣箱(901)一側安裝有風機(902),所述風機(902)進氣端通過進氣管與烘干筒(504)內部相連接,且風機(902)出氣端通過出氣管與集氣箱(901)內部相連接,所述集氣箱(901)內部設置有S型輸送管(903),且S型輸送管(903)一端與烘干筒(504)內部相連接,另一端貫穿至集氣箱(901)外側與其頂部設置的凈化箱(904)相連接,所述凈化箱(904)另一端通過輸送管(905)與集氣箱(901)內部相連通,所述集氣箱(901)內部安裝有若干組與S型輸送管(903)相匹配的折流板(906)。9.根據權利要求8所述的一種水產養殖自動排污裝置,其特征在于:所述凈化箱(904)包括箱體(9041),所述箱體(9041)內部設置有若干組活性炭吸附層(9042)以及吸水棉層(9043),且箱體(9041)頂部安裝有與活性炭吸附層(9042)以及吸水棉層(9043)相匹配的更換口。
發明內容
本發明的目的在于提供一種水產養殖自動排污裝置,以解決上述背景技術中提出的水產養殖自動排污裝置無法對排出的污泥以及排泄物進行烘干的問題。
為實現上述目的,本發明提供如下技術方案:一種水產養殖自動排污裝置,包括沉砂池,所述沉砂池設置在養殖池的底部的一側,且養殖池底部安裝有水平輸送裝置,所述沉砂池內部設置有垂直輸送裝置,且垂直輸送裝置與排污烘干裝置相連接,所述排污烘干裝置包括濾水筒,且濾水筒頂部通過第一連接管與投藥筒相連接,所述濾水筒內部設置有攪拌機構,所述攪拌機構一端在濾布機構內轉動,所述濾水筒內部安裝有與濾布機構配合使用的清潔刷機構,所述濾水筒一側通過第二連接管與烘干筒相連接,且第二連接管上安裝有泥污泵,所述烘干筒頂部安裝有循環加熱機構,所述烘干筒一側開設有排氣口,且排氣口內部安裝有氣體吸附棉。
優選的,所述濾水筒進污口與垂直輸送裝置排污口相連通。
通過上述技術方案:便于污泥以及排泄物進入濾水筒內部。
優選的,所述攪拌機構包括第一電機,且第一電機位于濾水筒外側頂部,所述第一電機輸出端安裝有第一齒輪,且第一齒輪外側與第二齒輪相嚙合,所述第二齒輪內側連接有轉桿,且轉桿一端貫穿至濾水筒內部與矩形攪拌桿相連接,所述矩形攪拌桿外側安裝有若干組攪拌葉,且矩形攪拌桿一端在濾布機構內部轉動。
通過上述技術方案:便于對污泥以及排泄物進行攪拌。
優選的,所述濾布機構包括安裝框,且安裝框安裝有濾布,所述安裝框內側通過對稱設置的安裝桿與安裝塊相連接,所述安裝塊內部設置有軸承,且矩形攪拌桿一端在安裝塊內部設置的軸承內轉動。
通過上述技術方案:便于對污泥以及排泄物中的水進行過濾。
優選的,所述清潔刷機構包括第二電機,且第二電機位于濾水筒外側設置的防護槽內側,所述第二電機輸出端安裝有雙槽主動輪,且雙槽主動輪通過傳動帶與兩側設置的從動輪相連接,所述從動輪內側與對稱設置的螺紋桿機構相連接,且螺紋桿機構一端貫穿至濾水筒內部,所述螺紋桿機構之間通過清潔桿刷相連接,且清潔桿刷與濾水筒內側滑動連接。
通過上述技術方案:便于對濾布進行清潔。
優選的,所述濾水筒底部開設有排水口,且排水口與集水箱相連接。
通過上述技術方案:便于對過濾水進行收集。
優選的,所述烘干筒包括筒體,且筒體內部開設有安裝槽,所述安裝槽內部設置有加熱絲,且加熱絲外側安裝有導熱板,所述筒體外側設置有隔熱層。
通過上述技術方案:便于對烘干筒內部進行加熱。
優選的,所述循環加熱機構包括集氣箱,且集氣箱一側安裝有風機,所述風機進氣端通過進氣管與烘干筒內部相連接,且風機出氣端通過出氣管與集氣箱內部相連接,所述集氣箱內部設置有S型輸送管,且S型輸送管一端與烘干筒內部相連接,另一端貫穿至集氣箱外側與其頂部設置的凈化箱相連接,所述凈化箱另一端通過輸送管與集氣箱內部相連通,所述集氣箱內部安裝有若干組與S型輸送管相匹配的折流板。
通過上述技術方案:便于進行循環加熱。
優選的,所述凈化箱包括箱體,所述箱體內部設置有若干組活性炭吸附層以及吸水棉層,且箱體頂部安裝有與活性炭吸附層以及吸水棉層相匹配的更換口。
通過上述技術方案:便于進行凈化吸濕。
與現有技術相比,本發明的有益效果是:該水產養殖自動排污裝置,
(1)本裝置為解決水產養殖自動排污裝置無法對排出的污泥以及排泄物進行烘干的問題,通過將垂直輸送裝置與排污烘干裝置相連接,垂直輸送裝置從排污口排出的污泥以及排泄物進入濾水筒內部進行攪拌初步濾水,濾水完成的污泥以及排泄物通過第二連接管進入烘干筒內部進行加熱烘干。
(2)本裝置為解決濾布機構在使用過程中容易被污泥以及排泄物堵塞的問題,通過在濾水筒內部安裝有與濾布機構配合使用的清潔刷機構,當濾布堵塞時,可通過清潔桿刷的移動對濾布機構進行清潔。
(3)本裝置為解決烘干筒烘干效率較低的問題,通過在烘干筒頂部安裝有循環加熱機構,風機可以將烘干筒內的熱廢氣和水蒸氣輸送至集氣箱內部,從而通過輸送管進入凈化箱內部進行凈化吸濕,凈化吸濕后的氣體通過S型輸送管再次進入烘干筒內部對污泥以及排泄物進行烘干。
(4)本裝置為解決烘干筒在烘干過程中容易排出有害氣體對外界環境造成影響的問題,通過在烘干筒頂部安裝有循環加熱機構,循環加熱機構可以對烘干筒內部產生的廢氣進行一定程度的凈化,同時在烘干筒一側開設有排氣口,且排氣口內部安裝有氣體吸附棉。
(發明人:夏正東)






