公布日:2023.09.08
申請日:2023.06.29
分類號:C02F11/125(2019.01)I;B01D29/64(2006.01)I;B01D29/68(2006.01)I
摘要
本發明公開了一種疊螺污泥脫水機及其使用方法,涉及疊螺污泥脫水機技術領域,包括疊螺污泥脫水機殼體,所述疊螺污泥脫水機殼體的一端安裝有第一驅動電機,所述第一驅動電機的輸出端連接有螺桿,所述疊螺污泥脫水機殼體的進料口處固定連接有進料管,濾板,噴氣沖料機構;的排渣輔助器;提升回流件。本發明通過設置提升回流件,當污泥落入到排料倉內部時,在第二斜槽的作用下劃入到排料倉的底部,通過第二驅動電機輸出端驅動螺旋送料桿旋轉,將污泥提升到第一連接殼內部,通過第一斜槽的作用下排入到疊螺污泥脫水機殼體內部進行重復脫水,無需工作人員進行手動操作,進而提高了裝置整體的實用性。

權利要求書
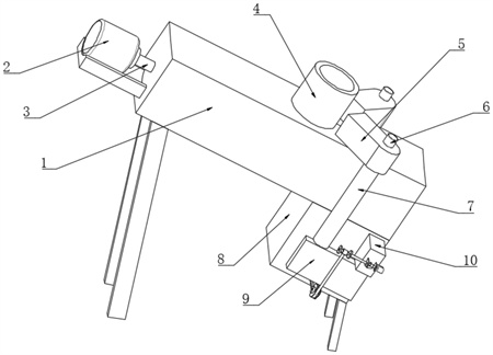
1.一種疊螺污泥脫水機,包括疊螺污泥脫水機殼體(1),其特征在于,所述疊螺污泥脫水機殼體(1)的一端安裝有第一驅動電機(2),所述第一驅動電機(2)的輸出端連接有螺桿(3),所述疊螺污泥脫水機殼體(1)的進料口處固定連接有進料管(4),所述疊螺污泥脫水機殼體(1)排水口處固定連接有第二連接殼(8),所述第二連接殼(8)的內側安裝有傾斜設置的濾板(17),所述濾板(17)的底端位于所述第二連接殼(8)的內側設置有噴氣沖料機構;所述第二連接殼(8)的兩側固定連接有第三連接殼(10),所述第三連接殼(10)的內側設置有延伸至所述第二連接殼(8)內部的排渣輔助器;所述第三連接殼(10)的底端固定連接有排料倉(9),所述排料倉(9)的內部設置有貫穿至所述疊螺污泥脫水機殼體(1)頂端的提升回流件;所述排渣輔助器包括設置在所述濾板(17)頂端的清理塊(13),所述第三連接殼(10)的內側滑動連接有擋板(15),所述擋板(15)的內側設置有貫穿至所述第三連接殼(10)內部的卡接組件;所述排渣輔助器還包括固定連接在所述第三連接殼(10)一端的連座(40),所述連座(40)的一側安裝有第三驅動電機(41),所述第三驅動電機(41)的輸出端連接有收卷輥(39),所述收卷輥(39)的外壁收卷有第一拉扯繩(16),所述第一拉扯繩(16)的一端與所述清理塊(13)固定連接排料倉(9)的頂端開設有與所述第三連接殼(10)相通的導料槽(47),所述第三連接殼(10)的內側固定連接有第一矩形套塊(44),所述第一矩形套塊(44)的內側滑動連接有矩形塊(43),所述矩形塊(43)的一端固定與所述擋板(15)固定連接,所述矩形塊(43)的另一端固定連接有牽引彈簧(45),所述牽引彈簧(45)的一端與所述第三連接殼(10)固定連接,所述導料槽(47)的內側與所述擋板(15)的底端設置有攪動疏通組件;所述噴氣沖料機構包括開設在所述第二連接殼(8)內側的引導槽(20),所述引導槽(20)的內側滑動連接有T形滑座(18),所述T形滑座(18)的兩側均固定連接有第二拉扯繩(19),所述第二拉扯繩(19)的一端貫穿至所述第二連接殼(8)的外部與所述收卷輥(39)固定連接,所述第二連接殼(8)的兩側外壁均固定連接有一個固定架(36),所述固定架(36)的內側轉動連接有導輪(38),所述第二拉扯繩(19)貼合在所述導輪(38)的外壁,所述T形滑座(18)的內側固定連接有導氣管(21),所述T形滑座(18)的一側外壁安裝有抽氣泵(25),所述抽氣泵(25)的輸出端與所述導氣管(21)進氣口處連接,所述導氣管(21)的排氣口處固定連接有波紋管(23),所述波紋管(23)的頂端固定連接有噴氣頭(22),所述噴氣頭(22)位于所述濾板(17)的下方。
2.根據權利要求1所述的一種疊螺污泥脫水機,其特征在于,所述清理塊(13)的一側外壁固定連接有引導塊(14),所述第二連接殼(8)的內側開設有與所述引導塊(14)相匹配的限位引導槽。
3.根據權利要求2所述的一種疊螺污泥脫水機,其特征在于,所述卡接組件包括滑動連接在所述擋板(15)內側的卡塊(42),所述卡塊(42)的內側開設有第三斜槽(53),所述卡塊(42)的頂端貫穿至所述第三連接殼(10)的內部,所述卡塊(42)的底端固定連接有第一復位彈簧(51),所述第一復位彈簧(51)的一端與所述擋板(15)固定連接,所述擋板(15)的一側外壁固定連接有第二矩形套塊(49),所述第二矩形套塊(49)的內側滑動連接有L形滑桿(48),所述L形滑桿(48)的一端固定連接有第二復位彈簧(52),所述第二復位彈簧(52)的一端與所述擋板(15)固定連接,所述L形滑桿(48)的內側固定連接有動力桿(50),所述動力桿(50)的一端貫穿至所述卡塊(42)的內側轉動連接有動力輪(54),所述動力輪(54)貼合在所述第三斜槽(53)上。
4.根據權利要求3所述的一種疊螺污泥脫水機,其特征在于,所述提升回流件包括開設在所述排料倉(9)內側的第二斜槽(35),所述排料倉(9)的頂端固定連接有套筒(7),所述套筒(7)的頂端固定連接有第一連接殼(5),所述第一連接殼(5)的內側開設有與所述疊螺污泥脫水機殼體(1)進料口相通的第一斜槽(12),所述第一連接殼(5)的頂端安裝有第二驅動電機(6),所述第二驅動電機(6)的輸出端連接有螺旋送料桿(11),所述螺旋送料桿(11)的一端貫穿至所述排料倉(9)儲料口中并位于所述第二斜槽(35)的一側。
5.根據權利要求4所述的一種疊螺污泥脫水機,其特征在于,所述攪動疏通組件包括設置在所述第二斜槽(35)內側的梯形攪動桿(37),所述梯形攪動桿(37)的頂端固定連接有動力塊(46),所述動力塊(46)的一端與所述擋板(15)固定連接。
6.根據權利要求5所述的一種疊螺污泥脫水機,其特征在于,所述噴氣沖料機構還包括固定連接在所述噴氣頭(22)外壁的聯動桿(24),所述導氣管(21)的內側位于所述聯動桿(24)頂端上方固定連接有連接架(29),所述連接架(29)的內側轉動連接有往復絲桿(28),所述聯動桿(24)套接在所述往復絲桿(28)上,所述往復絲桿(28)的一端貫穿至所述T形滑座(18)的外壁固定連接有直齒輪(27),所述第二連接殼(8)的內側固定連接有第一固定塊(26),所述第一固定塊(26)的一側固定連接有第二固定塊(31),所述第二固定塊(31)的內側轉動連接有轉軸(32),所述轉軸(32)的一端貫穿至所述第二固定塊(31)的內側固定連接有梯形卡齒(30),且所述梯形卡齒(30)與所述直齒輪(27)相嚙合,所述轉軸(32)的外壁固定連接有扭簧(33),所述扭簧(33)的一端與所述第二固定塊(31)固定連接,所述第一固定塊(26)的頂端固定連接有定位板(34),所述定位板(34)貼合在所述梯形卡齒(30)的一側。
7.根據權利要求6所述的一種疊螺污泥脫水機,其特征在于,所述聯動桿(24)的內側設置有與所述往復絲桿(28)相匹配的月牙銷,所述連接架(29)的內側開設有與所述聯動桿(24)相匹配的限位滑槽。
8.一種疊螺污泥脫水機使用方法,其特征在于,采用權利要求7所述的一種疊螺污泥脫水機,包括以下步驟:S1、首先,將所述進料管(4)與外界污泥進料管進行連接,使得所述第一驅動電機(2)輸出端驅動所述螺桿(3)旋轉對含水污泥進行擠壓輸送,通過所述濾板(17)將進入到所述疊螺污泥脫水機殼體(1)內部過濾的污水排出;S2、啟動兩個所述第三驅動電機(41),一個所述第三驅動電機(41)輸出端正轉驅動所述收卷輥(39)旋轉對所述第一拉扯繩(16)進行收卷,另一個所述第三驅動電機(41)輸出端反轉驅動另一個所述收卷輥(39)對另一個所述第一拉扯繩(16)進行釋放,從而拉動所述清理塊(13)在所述引導塊(14)的作用下進行橫向移動,當所述清理塊(13)將堆積在所述濾板(17)底端的含水污泥推入向所述擋板(15),當所述清理塊(13)移動到位于所述擋板(15)一側的排料口處時,所述清理塊(13)繼續移動與所述L形滑桿(48)接觸時,推動所述L形滑桿(48)通過所述動力桿(50)帶動所述動力輪(54)向所述第三斜槽(53)方向進行移動,通過所述第三斜槽(53)的作用下推動所述卡塊(42)向下移動收縮到所述擋板(15)內部,使得所述擋板(15)不再被固定,從而使得所述清理塊(13)繼續移動時推動所述擋板(15)向所述第三連接殼(10)內部移動,當所述清理塊(13)與所述擋板(15)內側污泥位于所述導料槽(47)的上方時,污泥在重力的作用下落入到所述排料倉(9)內部,以此實現了堆積在所述濾板(17)上的污泥自動排料的功能,當所述擋板(15)移動到最大位置時,上述兩個所述第三驅動電機(41)輸出端進行相反操作,從而能夠驅動所述清理塊(13)進行反向移動,從而實現了所述清理塊(13)進行往復移動的功能;S3、當污泥落入到所述排料倉(9)內部時,在所述第二斜槽(35)的作用下劃入到所述排料倉(9)的底部,通過所述第二驅動電機(6)輸出端驅動所述螺旋送料桿(11)旋轉,將污泥提升到所述第一連接殼(5)內部,通過所述第一斜槽(12)的作用下排入到所述疊螺污泥脫水機殼體(1)內部進行重復脫水,無需工作人員進行手動操作,進而提高了裝置整體的實用性;S4、當所述擋板(15)向所述第三連接殼(10)內側進行移動的同時通過所述動力塊(46)帶動所述梯形攪動桿(37)在所述第二斜槽(35)內側進行橫向移動,以此通過所述梯形攪動桿(37)對所述第二斜槽(35)內側的污泥進行攪動,從而避免污泥堆積在所述第二斜槽(35)內側造成堵塞;S5、兩個所述第三驅動電機(41)啟動時,一個所述第三驅動電機(41)輸出端正轉驅動所述收卷輥(39)旋轉對所述第一拉扯繩(16)進行收卷,另一個所述第三驅動電機(41)輸出端反轉驅動另一個所述收卷輥(39)對另一個所述第一拉扯繩(16)進行釋放的同時對一個所述第二拉扯繩(19)進行收卷對另一個所述第二拉扯繩(19)進行釋放,從而拉動所述T形滑座(18)進行橫向移動,通過所述抽氣泵(25)將空氣輸送到所述導氣管(21)內部,隨后通過所述噴氣頭(22)噴出高壓氣體沖擊到所述濾板(17)網孔中,以此避免所述濾板(17)網孔中發生堵塞;S6、所述T形滑座(18)進行橫向移動的同時帶動所述直齒輪(27)進行移動,當所述直齒輪(27)與所述梯形卡齒(30)一側斜面接觸時在所述梯形卡齒(30)一側斜面的作用下推動所述梯形卡齒(30)通過所述轉軸(32)帶動所述扭簧(33)進行轉動,當所述直齒輪(27)與所述梯形卡齒(30)分離時,所述扭簧(33)不再手動外界的力通過所述轉軸(32)帶動所述梯形卡齒(30)進行復位,當所述T形滑座(18)進行反向移動時,所述直齒輪(27)與所述梯形卡齒(30)一側平面接觸,由于所述定位板(34)位于所述梯形卡齒(30)的一側,從而使得所述梯形卡齒(30)受到阻力固定不動,通過所述梯形卡齒(30)驅動所述直齒輪(27)帶動所述往復絲桿(28)進行轉動,通過以上多個零件的配合實現了驅動所述往復絲桿(28)進行間歇式轉動的通過,從而使得所述往復絲桿(28)能夠驅動所述聯動桿(24)進行間歇式移動,以此使得所述噴氣頭(22)能夠進行間歇式橫向往復移動,從而擴大了所述噴氣頭(22)噴氣的范圍,使得所述濾板(17)網孔中能夠全面的被清理。
發明內容
本發明的目的在于:為了解決濾網網孔容易被堵塞和濾網頂端堆積的污泥無法重復進行脫水的問題,提供一種疊螺污泥脫水機及其使用方法。
為實現上述目的,本發明提供如下技術方案:一種疊螺污泥脫水機,包括疊螺污泥脫水機殼體,所述疊螺污泥脫水機殼體的一端安裝有第一驅動電機,所述第一驅動電機的輸出端連接有螺桿,所述疊螺污泥脫水機殼體的進料口處固定連接有進料管,所述疊螺污泥脫水機殼體排水口處固定連接有第二連接殼,所述第二連接殼的內側安裝有傾斜設置的濾板,所述濾板的頂端位于所述第二連接殼的內側設置有噴氣沖料機構;所述第二連接殼的兩側固定連接有第三連接殼,所述第三連接殼的內側設置有延伸至所述第二連接殼內部的排渣輔助器;所述第三連接殼的底端固定連接有排料倉,所述排料倉的內部設置有貫穿至所述疊螺污泥脫水機殼體頂端的提升回流件;所述排渣輔助器包括設置在所述濾板頂端的清理塊,所述第三連接殼的內側滑動連接有擋板,所述擋板的內側設置有貫穿至所述第三連接殼內部的卡接組件。
作為本發明再進一步的方案:所述排渣輔助器還包括固定連接在所述第三連接殼一端的連座,所述連座的一側安裝有第三驅動電機,所述第三驅動電機的輸出端連接有收卷輥,所述收卷輥的外壁收卷有第一拉扯繩,所述第一拉扯繩的一端與所述清理塊固定連接排料倉的頂端開設有與所述第三連接殼相通的導料槽,所述第三連接殼的內側固定連接有第一矩形套塊,所述第一矩形套塊的內側滑動連接有矩形塊,所述矩形塊的一端固定與所述擋板固定連接,所述矩形塊的另一端固定連接有牽引彈簧,所述牽引彈簧的一端與所述第三連接殼固定連接,所述導料槽的內側與所述擋板的底端設置有攪動疏通組件。
作為本發明再進一步的方案:所述清理塊的一側外壁固定連接有引導塊,所述第二連接殼的內側開設有與所述引導塊相匹配的限位引導槽。
作為本發明再進一步的方案:所述卡接組件包括滑動連接在所述擋板內側的卡塊,所述卡塊的內側開設有第三斜槽,所述卡塊的頂端貫穿至所述第三連接殼的內部,所述卡塊的底端固定連接有第一復位彈簧,所述第一復位彈簧的一端與所述擋板固定連接,所述擋板的一側外壁固定連接有第二矩形套塊,所述第二矩形套塊的內側滑動連接有L形滑桿,所述L形滑桿的一端固定連接有第二復位彈簧,所述第二復位彈簧的一端與所述擋板固定連接,所述L形滑桿的內側固定連接有動力桿,所述動力桿的一端貫穿至所述卡塊的內側轉動連接有動力輪,所述動力輪貼合在所述第三斜槽上。
作為本發明再進一步的方案:所述提升回流件包括開設在所述排料倉內側的第二斜槽,所述排料倉的頂端固定連接有套筒,所述套筒的頂端固定連接有第一連接殼,所述第一連接殼的內側開設有與所述疊螺污泥脫水機殼體進料口相通的第一斜槽,所述第一連接殼的頂端安裝有第二驅動電機,所述第二驅動電機的輸出端連接有螺旋送料桿,所述螺旋送料桿的一端貫穿至所述排料倉儲料口中并位于所述第二斜槽的一側。
作為本發明再進一步的方案:所述攪動疏通組件包括設置在所述第二斜槽內側的梯形攪動桿,所述梯形攪動桿的頂端固定連接有動力塊,所述動力塊的一端與所述擋板固定連接。
作為本發明再進一步的方案:所述噴氣沖料機構包括開設在所述第二連接殼內側的引導槽,所述引導槽的內側滑動連接有T形滑座,所述T形滑座的兩側均固定連接有第二拉扯繩,所述第二拉扯繩的一端貫穿至所述第二連接殼的外部與所述收卷輥固定連接,所述第二連接殼的兩側外壁均固定連接有一個固定架,所述固定架的內側轉動連接有導輪,所述第二拉扯繩貼合在所述導輪的外壁,所述T形滑座的內側固定連接有導氣管,所述T形滑座的一側外壁安裝有抽氣泵,所述抽氣泵的輸出端與所述導氣管進氣口處連接,所述導氣管的排氣口處固定連接有波紋管,所述波紋管的頂端固定連接有噴氣頭,所述噴氣頭位于所述濾板的下方。
作為本發明再進一步的方案:所述噴氣沖料機構還包括固定連接在所述噴氣頭外壁的聯動桿,所述導氣管的內側位于所述聯動桿頂端上方固定連接有連接架,所述連接架的內側轉動連接有往復絲桿,所述聯動桿套接在所述往復絲桿上,所述往復絲桿的一端貫穿至所述T形滑座的外壁固定連接有直齒輪,所述第二連接殼的內側固定連接有第一固定塊,所述第一固定塊的一側固定連接有第二固定塊,所述第二固定塊的內側轉動連接有轉軸,所述轉軸的一端貫穿至所述第二固定塊的內側固定連接有梯形卡齒,且所述梯形卡齒與所述直齒輪相嚙合,所述轉軸的外壁固定連接有扭簧,所述扭簧的一端與所述第二固定塊固定連接,所述第一固定塊的頂端固定連接有定位板,所述定位板貼合在所述梯形卡齒的一側。
作為本發明再進一步的方案:所述聯動桿的內側設置有與所述往復絲桿相匹配的月牙銷,所述連接架的內側開設有與所述聯動桿相匹配的限位滑槽。
本發明還公開了一種疊螺污泥脫水機使用方法,采用上述一種疊螺污泥脫水機,包括以下步驟:
S1、首先,將所述進料管與外界污泥進料管進行連接,使得所述第一驅動電機輸出端驅動所述螺桿旋轉對含水污泥進行擠壓輸送,通過所述濾板將進入到所述疊螺污泥脫水機殼體內部過濾的污水排出;
S2、啟動兩個所述第三驅動電機,一個所述第三驅動電機輸出端正轉驅動所述收卷輥旋轉對所述第一拉扯繩進行收卷,另一個所述第三驅動電機輸出端反轉驅動另一個所述收卷輥對另一個所述第一拉扯繩進行釋放,從而拉動所述清理塊在所述引導塊的作用下進行橫向移動,當所述清理塊將堆積在所述濾板底端的含水污泥推入向所述擋板,當所述清理塊移動到位于所述擋板一側的排料口處時,所述清理塊繼續移動與所述L形滑桿接觸時,推動所述L形滑桿通過所述動力桿帶動所述動力輪向所述第三斜槽方向進行移動,通過所述第三斜槽的作用下推動所述卡塊向下移動收縮到所述擋板內部,使得所述擋板不再被固定,從而使得所述清理塊繼續移動時推動所述擋板向所述第三連接殼內部移動,當所述清理塊與所述擋板內側污泥位于所述導料槽的上方時,污泥在重力的作用下落入到所述排料倉內部,以此實現了堆積在所述濾板上的污泥自動排料的功能,當所述擋板移動到最大位置時,上述兩個所述第三驅動電機輸出端進行相反操作,從而能夠驅動所述清理塊進行反向移動,從而實現了所述清理塊進行往復移動的功能;
S3、當污泥落入到所述排料倉內部時,在所述第二斜槽的作用下劃入到所述排料倉的底部,通過所述第二驅動電機輸出端驅動所述螺旋送料桿旋轉,將污泥提升到所述第一連接殼內部,通過所述第一斜槽的作用下排入到所述疊螺污泥脫水機殼體內部進行重復脫水,無需工作人員進行手動操作,進而提高了裝置整體的實用性;
S4、當所述擋板向所述第三連接殼內側進行移動的同時通過所述動力塊帶動所述梯形攪動桿在所述第二斜槽內側進行橫向移動,以此通過所述梯形攪動桿對所述第二斜槽內側的污泥進行攪動,從而避免污泥堆積在所述第二斜槽內側造成堵塞;
S5、兩個所述第三驅動電機啟動時,一個所述第三驅動電機輸出端正轉驅動所述收卷輥旋轉對所述第一拉扯繩進行收卷,另一個所述第三驅動電機輸出端反轉驅動另一個所述收卷輥對另一個所述第一拉扯繩進行釋放的同時對一個所述第二拉扯繩進行收卷對另一個所述第二拉扯繩進行釋放,從而拉動所述T形滑座進行橫向移動,通過所述抽氣泵將空氣輸送到所述導氣管內部,隨后通過所述噴氣頭噴出高壓氣體沖擊到所述濾板網孔中,以此避免所述濾板網孔中發生堵塞;
S6、所述T形滑座進行橫向移動的同時帶動所述直齒輪進行移動,當所述直齒輪與所述梯形卡齒一側斜面接觸時在所述梯形卡齒一側斜面的作用下推動所述梯形卡齒通過所述轉軸帶動所述扭簧進行轉動,當所述直齒輪與所述梯形卡齒分離時,所述扭簧不再手動外界的力通過所述轉軸帶動所述梯形卡齒進行復位,當所述T形滑座進行反向移動時,所述直齒輪與所述梯形卡齒一側平面接觸,由于所述定位板位于所述梯形卡齒的一側,從而使得所述梯形卡齒受到阻力固定不動,通過所述梯形卡齒驅動所述直齒輪帶動所述往復絲桿進行轉動,通過以上多個零件的配合實現了驅動所述往復絲桿進行間歇式轉動的通過,從而使得所述往復絲桿能夠驅動所述聯動桿進行間歇式移動,以此使得所述噴氣頭能夠進行間歇式橫向往復移動,從而擴大了所述噴氣頭噴氣的范圍,使得所述濾板網孔中能夠全面的被清理。
與現有技術相比,本發明的有益效果是:
1、通過設置排渣輔助器,啟動兩個第三驅動電機,一個第三驅動電機輸出端正轉驅動收卷輥旋轉對第一拉扯繩進行收卷,另一個第三驅動電機輸出端反轉驅動另一個收卷輥對另一個第一拉扯繩進行釋放,從而拉動清理塊在引導塊的作用下進行橫向移動,當清理塊將堆積在濾板底端的含水污泥推入向擋板,當清理塊移動到位于擋板一側的排料口處時,清理塊繼續移動與L形滑桿接觸時,推動L形滑桿通過動力桿帶動動力輪向第三斜槽方向進行移動,通過第三斜槽的作用下推動卡塊向下移動收縮到擋板內部,使得擋板不再被固定,從而使得清理塊繼續移動時推動擋板向第三連接殼內部移動,當清理塊與擋板內側污泥位于導料槽的上方時,污泥在重力的作用下落入到排料倉內部,以此實現了堆積在濾板上的污泥自動排料的功能;
2、通過設置提升回流件,當污泥落入到排料倉內部時,在第二斜槽的作用下劃入到排料倉的底部,通過第二驅動電機輸出端驅動螺旋送料桿旋轉,將污泥提升到第一連接殼內部,通過第一斜槽的作用下排入到疊螺污泥脫水機殼體內部進行重復脫水,無需工作人員進行手動操作,進而提高了裝置整體的實用性;
3、通過設置攪動疏通組件,當擋板向第三連接殼內側進行移動的同時通過動力塊帶動梯形攪動桿在第二斜槽內側進行橫向移動,以此通過梯形攪動桿對第二斜槽內側的污泥進行攪動,從而避免污泥堆積在第二斜槽內側造成堵塞;
4、通過設置噴氣沖料機構,兩個第三驅動電機啟動時,一個第三驅動電機輸出端正轉驅動收卷輥旋轉對第一拉扯繩進行收卷,另一個第三驅動電機輸出端反轉驅動另一個收卷輥對另一個第一拉扯繩進行釋放的同時對一個第二拉扯繩進行收卷對另一個第二拉扯繩進行釋放,從而拉動T形滑座進行橫向移動,通過抽氣泵將空氣輸送到導氣管內部,隨后通過噴氣頭噴出高壓氣體沖擊到濾板網孔中,以此避免濾板網孔中發生堵塞;
5、通過設置直齒輪與往復絲桿等零件的配合,T形滑座進行橫向移動的同時帶動直齒輪進行移動,當直齒輪與梯形卡齒一側斜面接觸時在梯形卡齒一側斜面的作用下推動梯形卡齒通過轉軸帶動扭簧進行轉動,當直齒輪與梯形卡齒分離時,扭簧不再手動外界的力通過轉軸帶動梯形卡齒進行復位,當T形滑座進行反向移動時,直齒輪與梯形卡齒一側平面接觸,由于定位板位于梯形卡齒的一側,從而使得梯形卡齒受到阻力固定不動,通過梯形卡齒驅動直齒輪帶動往復絲桿進行轉動,通過以上多個零件的配合實現了驅動往復絲桿進行間歇式轉動的通過,從而使得往復絲桿能夠驅動聯動桿進行間歇式移動,以此使得噴氣頭能夠進行間歇式橫向往復移動,從而擴大了噴氣頭噴氣的范圍,使得濾板網孔中能夠全面的被清理。
(發明人:周安)






