公布日:2023.10.13
申請日:2023.08.30
分類號:C02F9/00(2023.01)I;C02F1/24(2023.01)N;C02F1/02(2023.01)N;C02F1/40(2023.01)N;C02F1/52(2023.01)N;C02F1/461(2023.01)N;C02F103/16(2006.01)N
摘要
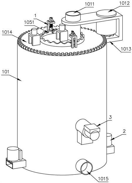
本發明公開了一種高效處理含油工業廢水的裝置,包括加藥裝置、氣浮裝置、清理裝置、攪拌裝置;清理裝置設于加藥裝置里側;氣浮裝置設于加藥裝置底部,且攪拌裝置兩側分別與氣浮裝置和清理裝置連接;加藥裝置包括外殼、進水口、電機Ⅰ、支撐架、轉動板、出水口、加藥管、支撐座Ⅰ、彈簧、進藥管、電推桿、出藥孔、卡扣、攪拌槳Ⅰ、連接環、連接殼、連接板Ⅰ、限位板、連接筒Ⅰ、滾輪Ⅰ、滾輪Ⅱ、連接桿Ⅰ、連桿Ⅰ、轉動座Ⅰ、連接板Ⅱ、連接條、橡膠環。本發明在使用多種方式對廢水中的油污進行處理的同時可以進行多角度攪拌,提高藥劑與廢水混合的效果,防止出現廢水與藥劑混合不均勻的現象。

權利要求書
1.一種高效處理含油工業廢水的裝置,包括加藥裝置、氣浮裝置、清理裝置、攪拌裝置;所述清理裝置設于加藥裝置里側;所述氣浮裝置設于加藥裝置底部,且攪拌裝置兩側分別與氣浮裝置和清理裝置連接;其特征在于所述加藥裝置包括外殼、進水口、電機Ⅰ、支撐架、轉動板、出水口、加藥管、支撐座Ⅰ、彈簧、進藥管、電推桿、出藥孔、卡扣、攪拌槳Ⅰ、連接環、連接殼、連接板Ⅰ、限位板、連接筒Ⅰ、滾輪Ⅰ、滾輪Ⅱ、連接桿Ⅰ、連桿Ⅰ、轉動座Ⅰ、連接板Ⅱ、連接條、橡膠環;所述轉動板上設有輪齒和若干通孔,轉動板外側和里側分別與外殼和頂部固定連接有限位板的連接板Ⅰ轉動連接;所述支撐座Ⅰ設有一對,對稱固定在轉動板頂部,且支撐座Ⅰ上設有滑槽;所述加藥管設有一對,加藥管外側設有與支撐座Ⅰ上的滑槽配合的滑塊,加藥管頂部設有進藥管,底部穿過轉動板上的通孔設于外殼內部,且加藥管上設有若干出藥孔,內部設有若干卡扣;所述連接筒Ⅰ于加藥管外側的滑塊下方與加藥管轉動連接,且貼緊限位板上表面的滾輪Ⅰ一端通過連接軸與連接筒Ⅰ轉動連接,另一端通過連接板與貼緊限位板內表面的滾輪Ⅱ的轉動連接;所述彈簧沿加藥管設于轉動板和連接筒Ⅰ之間;所述電推桿一端通過設于進藥管和支撐座Ⅰ之間限位板與加藥管固定連接的;所述連接條設有若干,連接條滑動連接在卡扣內,連接條底部通過連接板相互連接,頂部穿過加藥管與連接板Ⅱ一端固定連接,且連接板Ⅱ另一端與電推桿伸出端固定連接;所述橡膠環設有若干,均勻固定連接在連接條上;所述連接桿Ⅰ設有若干,呈圓形設于加藥管外側,且連接桿Ⅰ一端與轉動板固定連接,另一端固定連接有環形板;所述連桿Ⅰ設有若干組,每組連桿Ⅰ設有若干,且連桿Ⅰ兩端通過環形板固定連接;所述轉動座Ⅰ設有若干,轉動座Ⅰ與連接桿Ⅰ和若干組連桿Ⅰ上的環形板配合,將連接桿Ⅰ和若干組連桿Ⅰ轉動連接在一起,且轉動座Ⅰ外側固定連接有若干連接座;所述連接殼設于連接桿Ⅰ和連桿Ⅰ外側,連接殼頂部與連接桿Ⅰ轉動連接,底部與加藥管底端固定連接,且連接殼外側設有若干固定連接有連接軸的通槽;所述連接環設有若干,連接環與連接殼外側通槽內的連接軸滑動連接,且連接環一端通過連接桿與攪拌槳Ⅰ固定連接,另一端通過連接座與轉動座Ⅰ外側的連接座轉動連接;所述氣浮裝置包括連接管Ⅰ、電解棒、電機Ⅱ、連接筒Ⅱ、加熱棒、進氣管、擾流盒、擾流板、連接桿Ⅱ、轉動盒、連接盒Ⅰ、安裝盒Ⅰ、隔板Ⅰ、隔板Ⅱ、轉動座Ⅱ、連接盒Ⅱ、支撐桿Ⅰ;所述安裝盒Ⅰ固定連接在外殼底部,且安裝盒Ⅰ兩側分別固定連接有隔板Ⅰ、隔板Ⅱ;所述電機Ⅱ通過電機座固定連接在安裝盒Ⅰ一端,且電機Ⅱ輸出端穿過安裝盒Ⅰ上的通孔與鏈輪固定連接;所述轉動座Ⅱ內部設有連接槽,轉動座Ⅱ轉動連接在安裝盒Ⅰ上方,且轉動座Ⅱ底部的鏈輪通過鏈條與電機Ⅱ輸出端上的鏈輪連接;所述連接盒Ⅱ通過支撐桿Ⅰ固定連接在轉動座Ⅱ上方;所述連接管Ⅰ、進氣管設有若干,交錯固定連接在轉動座Ⅱ上,且連接管Ⅰ、進氣管一端穿過轉動座Ⅱ設于轉動座Ⅱ的連接槽內;所述電解棒設有若干,均勻固定連接在連接管Ⅰ上;所述連接桿Ⅱ固定連接在連接盒Ⅱ下方,且連接桿Ⅱ位置與進氣管對應;所述擾流盒內部固定連接有若干擾流板,擾流盒頂端和底端通過連接軸分別與連接桿Ⅱ和進氣管固定連接;所述轉動盒、連接盒Ⅰ呈環形,轉動盒底端與連接盒Ⅰ頂端轉動連接,且轉動盒頂端通過管道與進氣管固定連接,連接盒Ⅰ側壁通過管道穿過安裝盒Ⅰ與氣源連接;所述連接筒Ⅱ于支撐桿Ⅰ里側與轉動座Ⅱ固定連接,且加熱棒于連接管Ⅰ和進氣管之間與連接筒Ⅱ固定連接;所述攪拌裝置包括連接座Ⅰ、連接桿Ⅳ、斜齒輪Ⅰ、連接塊、鏈輪、攪拌槳Ⅱ、擾流管、斜齒輪Ⅱ、轉動桿、支撐桿Ⅱ、連接座Ⅱ、電機Ⅲ;所述電機Ⅲ通過電機座固定連接在安裝盒Ⅰ另一端,且電機Ⅲ輸出端穿過安裝盒Ⅰ和隔板Ⅰ上的通孔與鏈輪固定連接;所述連接桿Ⅳ一端與固定連接在一對螺旋送料器底部的連接座Ⅰ轉動連接,另一端穿過轉動盒、連接盒Ⅰ中間的通槽和安裝盒Ⅰ、隔板Ⅰ上的通孔與外殼轉動連接,且連接桿Ⅳ通過連接塊與連接筒Ⅱ頂端轉動連接;所述斜齒輪Ⅰ于連接座Ⅰ和連接盒Ⅱ之間與連接桿Ⅳ固定連接,鏈輪于隔板Ⅰ和安裝盒Ⅰ之間與連接桿Ⅳ固定連接,且鏈輪通過鏈條與電機Ⅲ輸出端的鏈輪連接;所述斜齒輪Ⅱ設有一對,對稱嚙合在斜齒輪Ⅰ兩側;所述連接座Ⅱ設有一對,連接座Ⅱ呈弧形,且連接座Ⅱ兩端通過連接環分別與一對斜齒輪Ⅱ轉動連接;所述攪拌槳Ⅱ通過轉動桿固定連接在斜齒輪Ⅱ一側,且攪拌槳Ⅱ上固定連接有若干擾流管;所述支撐桿Ⅱ設有若干,且支撐桿Ⅱ一端與連接座Ⅱ固定連接,另一端固定連接在連接盒Ⅱ內部;所述清理裝置包括液壓缸Ⅰ、支撐座Ⅱ、刮油盒、刮板、升降板、連接板Ⅲ、連接桿Ⅲ、滑動座、連桿Ⅱ、螺旋送料器、出料口、升降套筒、連接管Ⅱ、安裝盒Ⅱ、液壓缸Ⅱ;所述升降套筒頂部與刮油盒一端固定連接,底部與連接管Ⅱ一端滑動連接,且連接管Ⅱ另一端與一對傾斜固定連接在外殼上的螺旋送料器固定連接;所述液壓缸Ⅱ通過安裝盒Ⅱ固定連接在升降套筒內部;所述刮板固定連接在刮油盒另一端,連接板Ⅲ固定連接在刮油盒進口處,連接板Ⅲ一端與刮板固定連接,另一端與升降套筒固定連接;且連接板Ⅲ底部的滑槽內設有若干滑動座;所述升降板滑動連接在連接板Ⅲ內部,且升降板底部的滑槽內設有若干滑動座;所述連桿Ⅱ設有若干,連桿Ⅱ交叉連接升降板底部的滑動座和連接板Ⅲ底部的滑動座,且兩根連桿Ⅱ的交叉點通過連接軸轉動連接;所述連接桿Ⅲ一端與連接板Ⅲ上的一個滑動座固定連接,另一端穿過升降套筒與液壓缸Ⅱ伸出端固定連接;所述液壓缸Ⅰ通過支撐座Ⅱ分別固定連接在轉動板上和連接板Ⅰ中間,且轉動板上的液壓缸Ⅰ伸出端穿過轉動板與刮油盒固定連接,連接板Ⅰ上的穿過連接板Ⅰ與升降套筒轉動連接;所述出料口設有一對,于外殼外側分別與一對螺旋送料器固定連接。
2.根據權利要求1所述的一種高效處理含油工業廢水的裝置,其特征在于所述加藥裝置、氣浮裝置、清理裝置、攪拌裝置中零件、機構活動連接的縫隙內均設有密封條。
3.根據權利要求1所述的一種高效處理含油工業廢水的裝置,其特征在于所述電機Ⅰ通過支撐架與外殼固定連接,且電機Ⅰ輸出端的齒輪與轉動板上的輪齒嚙合。
4.根據權利要求1所述的一種高效處理含油工業廢水的裝置,其特征在于所述進水口一端與連接板Ⅰ固定連接,另一端穿過支撐架連接進水源;所述出水口固定連接在外殼底部。
5.根據權利要求1所述的一種高效處理含油工業廢水的裝置,其特征在于所述電推桿升降控制連接條帶動橡膠環上下移動,從而控制出藥孔出藥或停止出藥。
6.根據權利要求1所述的一種高效處理含油工業廢水的裝置,其特征在于所述擾流板固定連接在擾流盒兩端的連接軸上。
7.根據權利要求1所述的一種高效處理含油工業廢水的裝置,其特征在于所述連接盒Ⅱ轉動的同時,支撐桿Ⅱ跟隨連接盒Ⅱ轉動,從而控制連接座Ⅱ帶動一對斜齒輪Ⅱ以連接桿Ⅳ為中心軸轉動,同時斜齒輪Ⅱ與斜齒輪Ⅰ嚙合,從而使轉動桿帶動攪拌槳Ⅱ轉動。
發明內容
本發明的目的是克服現有技術中不足,提供一種高效處理含油工業廢水的裝置,本發明在使用多種方式對廢水中的油污進行處理的同時可以進行多角度攪拌,提高藥劑與廢水混合的效果,防止出現廢水與藥劑混合不均勻的現象。
為了實現上述目的,本發明采用的技術方案是:
一種高效處理含油工業廢水的裝置,包括加藥裝置、氣浮裝置、清理裝置、攪拌裝置;所述清理裝置設于加藥裝置里側;所述氣浮裝置設于加藥裝置底部,且攪拌裝置兩側分別與氣浮裝置和清理裝置連接;所述加藥裝置包括外殼、進水口、電機Ⅰ、支撐架、轉動板、出水口、加藥管、支撐座Ⅰ、彈簧、進藥管、電推桿、出藥孔、卡扣、攪拌槳Ⅰ、連接環、連接殼、連接板Ⅰ、限位板、連接筒Ⅰ、滾輪Ⅰ、滾輪Ⅱ、連接桿Ⅰ、連桿Ⅰ、轉動座Ⅰ、連接板Ⅱ、連接條、橡膠環;所述轉動板上設有輪齒和若干通孔,轉動板外側和里側分別與外殼和頂部固定連接有限位板的連接板Ⅰ轉動連接;所述電機Ⅰ通過支撐架與外殼固定連接,且電機Ⅰ輸出端的齒輪與轉動板上的輪齒嚙合;所述進水口一端與連接板Ⅰ固定連接,另一端穿過支撐架連接進水源;所述出水口固定連接在外殼底部;所述支撐座Ⅰ設有一對,對稱固定在轉動板頂部,且支撐座Ⅰ上設有滑槽;所述加藥管設有一對,加藥管外側設有與支撐座Ⅰ上的滑槽配合的滑塊,加藥管頂部設有進藥管,底部穿過轉動板上的通孔設于外殼內部,且加藥管上設有若干出藥孔,內部設有若干卡扣;所述連接筒Ⅰ于加藥管外側的滑塊下方與加藥管轉動連接,且貼緊限位板上表面的滾輪Ⅰ一端通過連接軸與連接筒Ⅰ轉動連接,另一端通過連接板與貼緊限位板內表面的滾輪Ⅱ的轉動連接;所述彈簧沿加藥管設于轉動板和連接筒Ⅰ之間;所述電推桿一端通過設于進藥管和支撐座Ⅰ之間限位板與加藥管固定連接的;所述連接條設有若干,連接條滑動連接在卡扣內,連接條底部通過連接板相互連接,頂部穿過加藥管與連接板Ⅱ一端固定連接,且連接板Ⅱ另一端與電推桿伸出端固定連接;所述橡膠環設有若干,均勻固定連接在連接條上;所述連接桿Ⅰ設有若干,呈圓形設于加藥管外側,且連接桿Ⅰ一端與轉動板固定連接,另一端固定連接有環形板;所述連桿Ⅰ設有若干組,每組連桿Ⅰ設有若干,且連桿Ⅰ兩端通過環形板固定連接;所述轉動座Ⅰ設有若干,轉動座Ⅰ與連接桿Ⅰ和若干組連桿Ⅰ上的環形板配合,將連接桿Ⅰ和若干組連桿Ⅰ轉動連接在一起,且轉動座Ⅰ外側固定連接有若干連接座;所述連接殼設于連接桿Ⅰ和連桿Ⅰ外側,連接殼頂部與連接桿Ⅰ轉動連接,底部與加藥管底端固定連接,且連接殼外側設有若干固定連接有連接軸的通槽;所述連接環設有若干,連接環與連接殼外側通槽內的連接軸滑動連接,且連接環一端通過連接桿與攪拌槳Ⅰ固定連接,另一端通過連接座與轉動座Ⅰ外側的連接座轉動連接。
所述氣浮裝置包括連接管Ⅰ、電解棒、電機Ⅱ、連接筒Ⅱ、加熱棒、進氣管、擾流盒、擾流板、連接桿Ⅱ、轉動盒、連接盒Ⅰ、安裝盒Ⅰ、隔板Ⅰ、隔板Ⅱ、轉動座Ⅱ、連接盒Ⅱ、支撐桿Ⅰ;所述安裝盒Ⅰ固定連接在外殼底部,且安裝盒Ⅰ兩側分別固定連接有隔板Ⅰ、隔板Ⅱ;所述電機Ⅱ通過電機座固定連接在安裝盒Ⅰ一端,且電機Ⅱ輸出端穿過安裝盒Ⅰ上的通孔與鏈輪固定連接;所述轉動座Ⅱ內部設有連接槽,轉動座Ⅱ轉動連接在安裝盒Ⅰ上方,且轉動座Ⅱ底部的鏈輪通過鏈條與電機Ⅱ輸出端上的鏈輪連接;所述連接盒Ⅱ通過支撐桿Ⅰ固定連接在轉動座Ⅱ上方;所述連接管Ⅰ、進氣管設有若干,交錯固定連接在轉動座Ⅱ上,且連接管Ⅰ、進氣管一端穿過轉動座Ⅱ設于轉動座Ⅱ的連接槽內;所述電解棒設有若干,均勻固定連接在連接管Ⅰ上;所述連接桿Ⅱ固定連接在連接盒Ⅱ下方,且連接桿Ⅱ位置與進氣管對應;所述擾流盒內部固定連接有若干擾流板,擾流盒頂端和底端通過連接軸分別與連接桿Ⅱ和進氣管固定連接,且擾流盒兩端的連接軸上各設有一個擾流板;所述轉動盒、連接盒Ⅰ呈環形,轉動盒底端與連接盒Ⅰ頂端轉動連接,且轉動盒頂端通過管道與進氣管固定連接,連接盒Ⅰ側壁通過管道穿過安裝盒Ⅰ與氣源連接;所述連接筒Ⅱ于支撐桿Ⅰ里側與轉動座Ⅱ固定連接,且加熱棒于連接管Ⅰ和進氣管之間與連接筒Ⅱ固定連接。
所述清理裝置包括液壓缸Ⅰ、支撐座Ⅱ、刮油盒、刮板、升降板、連接板Ⅲ、連接桿Ⅲ、滑動座、連桿Ⅱ、螺旋送料器、出料口、升降套筒、連接管Ⅱ、安裝盒Ⅱ、液壓缸Ⅱ;所述升降套筒頂部與刮油盒一端固定連接,底部與連接管Ⅱ一端滑動連接,且連接管Ⅱ另一端與一對傾斜固定連接在外殼上的螺旋送料器固定連接;所述液壓缸Ⅱ通過安裝盒Ⅱ固定連接在升降套筒內部;所述出料口設有一對,于外殼外側分別與一對螺旋送料器固定連接;所述刮板固定連接在刮油盒另一端,連接板Ⅲ固定連接在刮油盒進口處,連接板Ⅲ一端與刮板固定連接,另一端與升降套筒固定連接;且連接板Ⅲ底部的滑槽內設有若干滑動座;所述升降板滑動連接在連接板Ⅲ內部,且升降板底部的滑槽內設有若干滑動座;所述連桿Ⅱ設有若干,連桿Ⅱ交叉連接升降板底部的滑動座和連接板Ⅲ底部的滑動座,且兩根連桿Ⅱ的交叉點通過連接軸轉動連接;所述連接桿Ⅲ一端與連接板Ⅲ上的一個滑動座固定連接,另一端穿過升降套筒與液壓缸Ⅱ伸出端固定連接;所述液壓缸Ⅰ通過支撐座Ⅱ分別固定連接在轉動板上和連接板Ⅰ中間,且轉動板上的液壓缸Ⅰ伸出端穿過轉動板與刮油盒固定連接,連接板Ⅰ上的穿過連接板Ⅰ與升降套筒轉動連接。
所述攪拌裝置包括連接座Ⅰ、連接桿Ⅳ、斜齒輪Ⅰ、連接塊、鏈輪、攪拌槳Ⅱ、擾流管、斜齒輪Ⅱ、轉動桿、支撐桿Ⅱ、連接座Ⅱ、電機Ⅲ;所述電機Ⅲ通過電機座固定連接在安裝盒Ⅰ另一端,且電機Ⅲ輸出端穿過安裝盒Ⅰ和隔板Ⅰ上的通孔與鏈輪固定連接;所述連接桿Ⅳ一端與固定連接在一對螺旋送料器底部的連接座Ⅰ轉動連接,另一端穿過轉動盒、連接盒Ⅰ中間的通槽和安裝盒Ⅰ、隔板Ⅰ上的通孔與外殼轉動連接,且連接桿Ⅳ通過連接塊與連接筒Ⅱ頂端轉動連接;所述斜齒輪Ⅰ于連接座Ⅰ和連接盒Ⅱ之間與連接桿Ⅳ固定連接,鏈輪于隔板Ⅰ和安裝盒Ⅰ之間與連接桿Ⅳ固定連接,且鏈輪通過鏈條與電機Ⅲ輸出端的鏈輪連接;所述斜齒輪Ⅱ設有一對,對稱嚙合在斜齒輪Ⅰ兩側;所述連接座Ⅱ設有一對,連接座Ⅱ呈弧形,且連接座Ⅱ兩端通過連接環分別與一對斜齒輪Ⅱ轉動連接;所述攪拌槳Ⅱ通過轉動桿固定連接在斜齒輪Ⅱ一側,且攪拌槳Ⅱ上固定連接有若干擾流管;所述支撐桿Ⅱ設有若干,且支撐桿Ⅱ一端與連接座Ⅱ固定連接,另一端固定連接在連接盒Ⅱ內部。
所述加藥裝置、氣浮裝置、清理裝置、攪拌裝置中零件、機構活動連接的縫隙內均設有密封條,防止廢水泄露造成裝置使用壽命縮短或零件損壞。
本發明與現有技術相比較有益效果表現在:
1)電推桿升降可以控制連接條帶動橡膠環上下移動,從而控制出藥孔出藥或停止出藥,方便通過一對加藥管向廢水內添加功效不同的藥劑;
2)冷卻廢水經過沉淀處理掉氧化皮等大體積雜質后,經過進水口進入外殼內;通過進藥管分別將一對加藥管內接入絮凝劑和破乳劑,破乳劑加藥管上的電推桿保持收回狀態,絮凝劑加藥管上的電推桿上升打開出藥孔先向廢水內添加絮凝劑;當需要向廢水內添加破乳劑時,絮凝劑加藥管上的電推桿下降升使橡膠環堵住出藥孔,同時破乳劑加藥管上的電推桿上升打開出藥孔向廢水中添加破乳劑;同時電機Ⅰ控制轉動板轉動,轉動板帶動加藥管轉動的同時連接筒Ⅰ上的滾輪Ⅰ、滾輪Ⅱ沿限位板滑動,從而控制加藥管上升或下降,且加藥管外側的滑塊與支撐座Ⅰ上的滑槽配合使加藥管在升降的同時可以轉動;同時連接殼跟隨加藥管升降和轉動,從而帶動攪拌槳Ⅰ上下擺動和轉動進行多角度攪拌,加快藥劑與廢水混合效率的同時防止出現藥劑與廢水混合不均勻的現象,攪拌槳Ⅰ在對廢水進行處理的同時可以破壞油珠界膜,促進油污聚集,進而加快分離速度;
3)開啟電機Ⅱ帶動轉動座Ⅱ轉動,使支撐桿Ⅰ帶動連接盒Ⅱ跟隨轉動座Ⅱ轉動,從而控制進氣管和連接桿Ⅱ帶動擾流盒、擾流板轉動加快藥劑與廢水的混合,同時進氣管噴出氣體使吸附油污和部分細小雜質的絮凝物吸附氣泡上浮;同時轉動座Ⅱ控制連接管Ⅰ帶動電解棒轉動電解廢水產生氣泡,配合進氣管使用氣浮的方式對絮凝后的油污進行第一次處理;同時連接筒Ⅱ跟隨轉動座Ⅱ轉動,從而控制加熱棒轉動,使加熱棒可以均勻加熱與破乳劑混合后的廢水,從而使廢水中的乳化油、分散油快速上浮到廢水表層;
4)通過控制液壓缸Ⅰ伸縮可以控制刮油盒和升降套筒上升或下降以適應廢水液面高度,防止廢水進入刮油盒內;通過控制液壓缸Ⅱ伸出或收回可以使連接桿Ⅲ推動或拉動滑動座從而控制升降板在連接板Ⅲ內上下滑動,方便根據浮在廢水表面的油污高度調節升降板,使不同高度的油污可以溢流進刮油盒內;流入刮油盒內的油污從刮油盒一側進入升降套筒,然后經過連接管Ⅱ進入螺旋送料器內,最后經螺旋送料器一側的出料口排出;
5)連接盒Ⅱ轉動的同時,支撐桿Ⅱ跟隨連接盒Ⅱ轉動,從而控制連接座Ⅱ帶動一對斜齒輪Ⅱ以連接桿Ⅳ為中心軸轉動,同時斜齒輪Ⅱ與斜齒輪Ⅰ嚙合,從而使轉動桿帶動攪拌槳Ⅱ轉動,加快廢水與藥劑混合;開啟電機Ⅲ控制鏈輪帶動連接桿Ⅳ與轉動座Ⅱ反向轉動,使斜齒輪Ⅰ轉動與斜齒輪Ⅱ嚙合,從而加快斜齒輪Ⅱ轉動,使攪拌槳Ⅱ轉動速度加快,提高廢水和藥劑混合的效率。
(發明人:韓玉梅;李蘭英)






