公布日:2023.08.29
申請日:2023.06.15
分類號:B01D21/24(2006.01)I;B01D36/04(2006.01)I
摘要
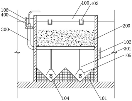
本發明涉及沉淀池技術領域,具體為一種沉淀池無機械動力排泥裝置及回流方法,該裝置包括池體,池體的內部中段位置設有過濾填料,池體的底部設有污泥錐斗,池體的側壁且位于過濾填料的下方設有進水口,池體的頂端設有集水槽,污泥錐斗的內部且沿池體的長度方向布置有曝氣管,曝氣管的上方設有集氣罩,池體的內部且位于過濾填料的下方還設有排泥主管。本發明通過在污泥錐斗底部設置曝氣管和集氣罩,并且在池體內部還設置有排泥主管與排泥支管,通過曝氣管產生氣泡攪動污泥,進而在氣泡的氣提作用下,使泥水混合液能夠沿著排泥支管、排泥主管排出至池體外,因此解決了污泥淤積以及污泥堵塞排泥口的問題。

權利要求書
1.一種沉淀池無機械動力排泥裝置,包括池體(100),其特征在于:所述池體(100)的內部中段位置設有過濾填料(200),所述池體(100)的底部設有污泥錐斗(101),所述池體(100)的側壁且位于過濾填料(200)的下方設有進水口(102),所述池體(100)的頂端設有集水槽(103),所述污泥錐斗(101)的內部且沿池體(100)的長度方向布置有曝氣管(104),所述曝氣管(104)的上方設有集氣罩(105),所述池體(100)的內部且位于過濾填料(200)的下方還設有排泥主管(300),所述排泥主管(300)的一端伸出至池體(100)外側,所述排泥主管(300)位于池體(100)內部一端通過排泥支管(301)與所述集氣罩(105)的頂端相連接。
2.根據權利要求1所述的一種沉淀池無機械動力排泥裝置,其特征在于:所述池體(100)的外部還設有污泥收集槽(106),所述排泥主管(300)的外端與所述污泥收集槽(106)相連。
3.根據權利要求1所述的一種沉淀池無機械動力排泥裝置,其特征在于:所述污泥錐斗(101)的內部呈錐形狀,且所述污泥錐斗(101)的內側壁與豎直面的夾角為10°至30°之間。
4.根據權利要求1所述的一種沉淀池無機械動力排泥裝置,其特征在于:所述集氣罩(105)的橫截面呈等腰梯形狀,且所述集氣罩(105)的內部間隔設置有若干隔板(107),相鄰兩塊所述隔板(107)的間距為1米至3米之間,且所述集氣罩(105)采用表面光滑的不銹鋼、玻璃鋼或硬質塑料材質。
5.根據權利要求4所述的一種沉淀池無機械動力排泥裝置,其特征在于:所述隔板(107)將集氣罩(105)的內部空間分隔成若干收集空腔,所述收集空腔與若干所述排泥支管(301)一一對應,且若干所述排泥支管(301)均連接在相應的收集空腔的上方位置處。
6.根據權利要求1所述的一種沉淀池無機械動力排泥裝置,其特征在于:所述池體(100)的內部還設有進氣管(108),所述進氣管(108)的一端與所述曝氣管(104)相接,所述進氣管(108)的另一端伸出至所述池體(100)的外側。
7.根據權利要求1所述的一種沉淀池無機械動力排泥裝置,其特征在于:所述集氣罩(105)的邊沿與所述污泥錐斗(101)的內表面垂直間距為5厘米至20厘米之間。
8.根據權利要求1所述的一種沉淀池無機械動力排泥裝置,其特征在于:所述排泥主管(300)位于池體(100)外部一端內側設置有氣體擴散器(400),所述氣體擴散器(400)的進氣端伸出至排泥主管(300)外,所述氣體擴散器(400)用于向相應的所述排泥主管(300)內部通氣。
9.根據權利要求1所述的一種沉淀池無機械動力排泥裝置,其特征在于:所述排泥主管(300)伸入池體(100)內部的一端水平布置,且排泥主管(300)與所述過濾填料(200)的底面抵接,用于支撐過濾填料(200)。
10.一種如權利要求1-9任一項所述的沉淀池無機械動力排泥裝置的回流方法,其特征在于,包括如下步驟:S1、將需要沉淀的廢水通過進水口(102)排入池體(100)內,同時向曝氣管(104)內部通入空氣;S2、廢水進入池體(100)內部后,污泥會沿著污泥錐斗(101)滑落到池底位置,而清水可通過過濾填料(200)進入池體(100)的頂部,最終從集水槽(103)中排出;S3、曝氣管(104)均勻曝氣,氣泡將池體(100)底部的污泥再次攪拌混合形成高濃度泥水混合液;S4、曝氣管(104)持續曝氣,由于氣泡的存在,泥水混合液的密度變小,并往上向集氣罩(105)的頂部匯聚,最終在氣體的提升作用下,泥水混合液及氣泡可通過排泥支管(301)、排泥主管(300)排出至池體(100)外。
發明內容
本發明的目的在于提供一種沉淀池無機械動力排泥裝置及回流方法,用于解決上述背景技術中提出的問題。
本發明是通過以下技術方案得以實現的:
一種沉淀池無機械動力排泥裝置,包括池體,所述池體的內部中段位置設有過濾填料,所述池體的底部設有污泥錐斗,所述池體的側壁且位于過濾填料的下方設有進水口,所述池體的頂端設有集水槽,所述污泥錐斗的內部且沿池體的長度方向布置有曝氣管,所述曝氣管的上方設有集氣罩,所述池體的內部且位于過濾填料的下方還設有排泥主管,所述排泥主管的一端伸出至池體外側,所述排泥主管位于池體內部一端通過排泥支管與所述集氣罩的頂端相連接。
可選的,所述池體的外部還設有污泥收集槽,所述排泥主管的外端與所述污泥收集槽相連。
可選的,所述污泥錐斗的內部呈錐形狀,且所述污泥錐斗的內側壁與豎直面的夾角為10°至30°之間。
可選的,所述集氣罩的橫截面呈等腰梯形狀,且所述集氣罩的內部間隔設置有若干隔板,相鄰兩塊所述隔板的間距為1米至3米之間,且所述集氣罩采用表面光滑的不銹鋼、玻璃鋼或硬質塑料材質。
可選的,所述隔板將集氣罩的內部空間分隔成若干收集空腔,所述收集空腔與若干所述排泥支管一一對應,且若干所述排泥支管均連接在相應的收集空腔的上方位置處。
可選的,所述池體的內部還設有進氣管,所述進氣管的一端與所述曝氣管相接,所述進氣管的另一端伸出至所述池體的外側。
可選的,所述集氣罩的邊沿與所述污泥錐斗的內表面垂直間距為5厘米至20厘米之間。
可選的,所述排泥主管位于池體外部一端內側設置有氣體擴散器,所述氣體擴散器的進氣端伸出至排泥主管外,所述氣體擴散器用于向相應的所述排泥主管內部通氣。
可選的,所述排泥主管伸入池體內部的一端水平布置,且排泥主管與所述過濾填料的底面抵接,用于支撐過濾填料。
本發明還提出一種沉淀池無機械動力排泥裝置的回流方法,包括如下步驟:
S1、將需要沉淀的廢水通過進水口排入池體內,同時向曝氣管內部通入空氣;
S2、廢水進入池體內部后,污泥會沿著污泥錐斗滑落到池底位置,而清水可通過過濾填料進入池體的頂部,最終從集水槽中排出;
S3、曝氣管均勻曝氣,氣泡將池體底部的污泥再次攪拌混合形成高濃度泥水混合液;
S4、曝氣管持續曝氣,由于氣泡的存在,泥水混合液的密度變小,并往上向集氣罩的頂部匯聚,最終在氣體的提升作用下,泥水混合液及氣泡可通過排泥支管、排泥主管排出至池體外。
與現有技術相比,本發明提供了一種沉淀池無機械動力排泥裝置及回流方法,具備以下有益效果:
1.本發明通過在污泥錐斗底部設置曝氣管和集氣罩,并且在池體內部還設置有排泥主管與排泥支管,通過曝氣管產生氣泡攪動污泥,進而在氣泡的氣提作用下,使泥水混合液能夠沿著排泥支管、排泥主管排出至池體外,因此解決了污泥淤積以及污泥堵塞排泥口的問題;
2.本發明在每根排泥主管的外端內側還設置有氣體擴散器,通過氣體擴散器可調節相應的排泥主管的排泥量,從而使各排泥主管能夠均衡排泥;
3.本發明中的排泥主管伸入池體內并與過濾填料的底面抵接,因此排泥主管可起到支撐過濾填料的作用,有助于降低本發明的建造成本;
4.本發明實現了無機械動力排泥,運行能耗更低,且因此減少了日常運行機械設備維護的工作量。
(發明人:胡軒;魏歡承;陳芳)






