公布日:2024.03.19
申請日:2023.12.28
分類號:C02F3/28(2023.01)I;C02F3/02(2023.01)I;B01D36/04(2006.01)I
摘要
本發明公開了一種新型MBBR一體化污水處理設備,包括機架,所述機架的內部依次設置有缺氧池、好氧池、沉淀池和用于放置控制設備的設備腔,所述缺氧池與好氧池之間以及好氧池與沉淀池之間均設置有用于將液體轉移的液體轉移機構,所述缺氧池和好氧池的頂部連通有凈化組件,所述缺氧池的一側連通有帶有閥體的進液管,通過凈化組件與缺氧池和好氧池的配合,可根據氣體組分處理程度進行一次或二次凈化處理,提高對氣體凈化效果,使排出的氣體符合國家排放標準,降低對環境的污染;通過沉淀箱與支撐板的配合,在對處理后的污水沉淀時,可通過透視窗觀察污水沉淀狀態,并在沉淀后將泥水進行分離,提高污水分離的效果。

權利要求書
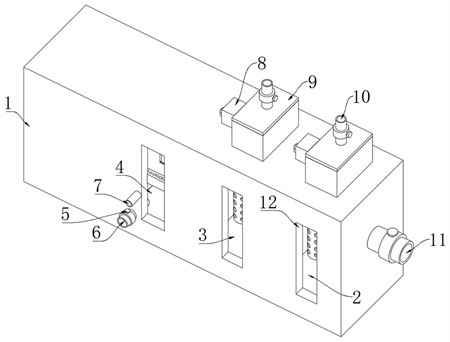
1.一種新型MBBR一體化污水處理設備,其特征在于:包括機架(1),所述機架(1)的內部依次設置有缺氧池(2)、好氧池(3)、沉淀池(4)和用于放置控制設備的設備腔(13),所述缺氧池(2)與好氧池(3)之間以及好氧池(3)與沉淀池(4)之間均設置有用于將液體轉移的液體轉移機構(8),所述缺氧池(2)和好氧池(3)的頂部連通有凈化組件(9),所述缺氧池(2)的一側連通有帶有閥體(5)的進液管(11);所述沉淀池(4)的內部固定有支撐板(15),所述支撐板(15)上固定有能夠對沉淀后的污水進行泥水分離的沉淀箱(16),所述支撐板(15)的四周邊緣等距開設有供多個沉淀后液體排出的漏水孔(19),所述沉淀池(4)位于支撐板(15)的下方側壁分別連通有帶有閥體(5)的排液管(6)和排泥管(7),且所述排泥管(7)的一端穿過沉淀池(4)與沉淀箱(16)的下端連通;所述凈化組件(9)包括盒體(91),所述盒體(91)下端連通有用于氣體進入的連通管(92),所述盒體(91)的內部設置有可根據氣體組分大小選擇一次凈化或二次凈化的凈化主體,所述盒體(91)的上端連通有帶有氣閥的排氣管(10),所述排氣管(10)與盒體(91)連接處安裝有第二過濾板。
2.根據權利要求1所述的一種新型MBBR一體化污水處理設備,其特征在于:所述凈化主體依次連通的第一腔體(93)、第二腔體(97)、第三腔體(98)和第四腔體,所述第二腔體(97)位于第一腔體(93)的上方,所述第三腔體(98)位于第一腔體(93)和第二腔體(97)的一側,且所述第四腔體位于第三腔體(98)和第二腔體(97)的上端,所述第一腔體(93)的第二腔體(97)的內部均安裝有活性炭材質的第一過濾板(99),所述第一腔體(93)與第二腔體(97)連通處安裝有軸流風機(95),所述第二腔體(97)通過帶有氣閥的第一出氣管(96)和通風管分別與第四腔體和第三腔體(98)連通,且所述第二腔體(97)的內部和第三腔體(98)的內部均安裝有氣體傳感器(94),所述第三腔體(98)和第四腔體之間通過帶有氣閥的第二出氣管(911)連通,兩個所述氣體傳感器(94)分別位于第一出氣管(96)和第二出氣管(911)的一側。
3.根據權利要求2所述的一種新型MBBR一體化污水處理設備,其特征在于:所述第一腔體(93)內的第一過濾板(99)安裝方向與第三腔體(98)內的第一過濾板(99)安裝方向垂直,且所述第一過濾板(99)均包括口字形的過濾框和安裝在過濾框內的過濾層,所述過濾層依次包括蜂窩狀網片、無紡布層、活性炭層、HEPA過濾層、活性炭層、無紡布層和蜂窩狀網片。
4.根據權利要求3所述的一種新型MBBR一體化污水處理設備,其特征在于:所述第二過濾板呈圓形設置,所述第二過濾板固定在位于盒體(91)內的排氣管(10)端部,所述第二過濾板設置有活性炭材質過濾板。
5.根據權利要求4所述的一種新型MBBR一體化污水處理設備,其特征在于:所述沉淀箱(16)包括箱體(161),所述箱體(161)的相對兩側側壁內滑動連接有擋板(162),所述擋板(162)的下端安裝有電動推桿(168),所述箱體(161)的相對兩側側壁開設有供擋板(162)和電動推桿(168)安裝的安裝腔(18),所述安裝腔(18)的一側等距開設有多個排液孔(167),所述安裝腔(18)與排液孔(167)相對的一側開設有供排液孔(167)裸露的讓位槽(17),所述箱體(161)的下端連通有帶有閥體(5)的傳輸管(165),所述傳輸管(165)的一端與排泥管(7)的一端連通。
6.根據權利要求5所述的一種新型MBBR一體化污水處理設備,其特征在于:所述安裝腔(18)靠近讓位槽(17)下端連接處固定有密封塊(166),所述密封塊(166)上開設有供擋板(162)穿過的通孔,所述電動推桿(168)固定在密封塊(166)的下端。
7.根據權利要求6所述的一種新型MBBR一體化污水處理設備,其特征在于:所述箱體(161)與擋板(162)相鄰的一側開設有供液體轉移機構(8)連通的進液口(164),所述箱體(161)的內部安裝有對沉淀物排出時攪拌的攪拌組件(163),所述攪拌組件(163)通過馬達(169)驅動。
8.根據權利要求7所述的一種新型MBBR一體化污水處理設備,其特征在于:每組所述液體轉移機構(8)均包括水泵(801)、第一水管(802)和第二水管(805),所述第一水管(802)和第二水管(805)分別連通在水泵(801)的兩端,所述第一水管(802)的一端連通有可對液體過濾的過濾桶(803),所述過濾桶(803)的側壁開設有多個過濾孔(804),所述過濾孔(804)處均安裝有濾網,位于所述缺氧池(2)上方的第二水管(805)的一端與好氧池(3)的內部連通,位于所述好氧池(3)上方的第二水管(805)的一端與沉淀箱(16)的內部連通。
9.根據權利要求8所述的一種新型MBBR一體化污水處理設備,其特征在于:所述缺氧池(2)、好氧池(3)和沉淀池(4)的相對兩側均設置有透視窗(12),所述設備腔(13)的一側可拆卸安裝有腔門(14)。
10.根據權利要求9所述的一種新型MBBR一體化污水處理設備,其特征在于:所述缺氧池(2)和好氧池(3)內均設置有懸浮填料,所述缺氧池(2)內設置有進行間歇式的攪拌的潛水攪拌裝置,所述好氧池(3)內設置有微孔曝氣管。
發明內容
本發明的目的在于提供一種新型MBBR一體化污水處理設備,通過凈化組件與缺氧池和好氧池的配合,可根據氣體組分處理程度進行一次或二次凈化處理,提高對氣體凈化效果,使排出的氣體符合國家排放標準,降低對環境的污染,以解決上述背景技術中提出的問題。
為實現上述目的,本發明采用了如下技術方案:
一種新型MBBR一體化污水處理設備,包括機架,所述機架的內部依次設置有缺氧池、好氧池、沉淀池和用于放置控制設備的設備腔,所述缺氧池與好氧池之間以及好氧池與沉淀池之間均設置有用于將液體轉移的液體轉移機構,所述缺氧池和好氧池的頂部連通有凈化組件,所述缺氧池的一側連通有帶有閥體的進液管;
所述沉淀池的內部固定有支撐板,所述支撐板上固定有能夠對沉淀后的污水進行泥水分離的沉淀箱,所述支撐板的四周邊緣等距開設有供多個沉淀后液體排出的漏水孔,所述沉淀池位于支撐板的下方側壁分別連通有帶有閥體的排液管和排泥管,且所述排泥管的一端穿過沉淀池與沉淀箱的下端連通;
所述凈化組件包括盒體,所述盒體下端連通有用于氣體進入的連通管,所述盒體的內部設置有可根據氣體組分大小選擇一次凈化或二次凈化的凈化主體,所述盒體的上端連通有帶有氣閥的排氣管,所述排氣管與盒體連接處安裝有第二過濾板。
優選的,所述凈化主體依次連通的第一腔體、第二腔體、第三腔體和第四腔體,所述第二腔體位于第一腔體的上方,所述第三腔體位于第一腔體和第二腔體的一側,且所述第四腔體位于第三腔體和第二腔體的上端,所述第一腔體的第二腔體的內部均安裝有活性炭材質的第一過濾板,所述第一腔體與第二腔體連通處安裝有軸流風機,所述第二腔體通過帶有氣閥的第一出氣管和通風管分別與第四腔體和第三腔體連通,且所述第二腔體的內部和第三腔體的內部均安裝有氣體傳感器,所述第三腔體和第四腔體之間通過帶有氣閥的第二出氣管連通,兩個所述氣體傳感器分別位于第一出氣管和第二出氣管的一側。
優選的,所述第一腔體內的第一過濾板安裝方向與第三腔體內的第一過濾板安裝方向垂直,且所述第一過濾板均包括口字形的過濾框和安裝在過濾框內的過濾層,所述過濾層依次包括蜂窩狀網片、無紡布層、活性炭層、HEPA過濾層、活性炭層、無紡布層和蜂窩狀網片。
優選的,所述第二過濾板呈圓形設置,所述第二過濾板固定在位于盒體內的排氣管端部,所述第二過濾板設置有活性炭材質過濾板。
優選的,所述沉淀箱包括箱體,所述箱體的相對兩側側壁內滑動連接有擋板,所述擋板的下端安裝有電動推桿,所述箱體的相對兩側側壁開設有供擋板和電動推桿安裝的安裝腔,所述安裝腔的一側等距開設有多個排液孔,所述安裝腔與排液孔相對的一側開設有供排液孔裸露的讓位槽,所述箱體的下端連通有帶有閥體的傳輸管,所述傳輸管的一端與排泥管的一端連通。
優選的,所述安裝腔靠近讓位槽下端連接處固定有密封塊,所述密封塊上開設有供擋板穿過的通孔,所述電動推桿固定在密封塊的下端。
優選的,所述箱體與擋板相鄰的一側開設有供液體轉移機構連通的進液口,所述箱體的內部安裝有對沉淀物排出時攪拌的攪拌組件,所述攪拌組件通過馬達驅動。
優選的,每組所述液體轉移機構均包括水泵、第一水管和第二水管,所述第一水管和第二水管分別連通在水泵的兩端,所述第一水管的一端連通有可對液體過濾的過濾桶,所述過濾桶的側壁開設有多個過濾孔,所述過濾孔處均安裝有濾網,位于所述缺氧池上方的第二水管的一端與好氧池的內部連通,位于所述好氧池上方的第二水管的一端與沉淀箱的內部連通。
優選的,所述缺氧池、好氧池和沉淀池的相對兩側均設置有透視窗,所述設備腔的一側可拆卸安裝有腔門。
優選的,所述缺氧池和好氧池內均設置有懸浮填料,所述缺氧池內設置有進行間歇式的攪拌的潛水攪拌裝置,所述好氧池內設置有微孔曝氣管。
本發明提出的一種新型MBBR一體化污水處理設備,與現有技術相比,具有以下優點:
1、本發明通過凈化組件與缺氧池和好氧池的配合,可根據氣體組分處理程度進行一次或二次凈化處理,提高對氣體凈化效果,使排出的氣體符合國家排放標準,降低對環境的污染。
2、本發明通過沉淀箱與支撐板的配合,在對處理后的污水沉淀時,可通過透視窗觀察污水沉淀狀態,并在沉淀后將泥水進行分離,提高污水分離的效果。
3、本發明通過在缺氧池與好氧池之間以及好氧池與沉淀池之間設置的液體轉移機構,便于將缺氧池處理后的污水自動轉入好氧池中,再將好氧池中處理的污水自動轉移至沉淀箱內,提高對污水處理過程中轉移的便捷性。
(發明人:張文波;張一駿;鐘遠標)






