公布日:2024.03.15
申請日:2024.01.08
分類號:B01F33/81(2022.01)I;B01F27/90(2022.01)I;B01F35/12(2022.01)I;B01F35/88(2022.01)I;B01F23/80(2022.01)I;B01J20/20(2006.01)I;C02F1/28(2023.01)I;B01J20
/30(2006.01)I;B07B1/28(2006.01)I
摘要
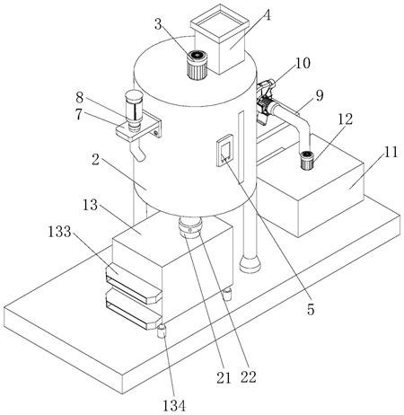
本發明涉及活性炭加工技術領域,尤其為一種市政污水用活性炭制造設備,包括底板,所述底板頂部一側設置有混料桶,所述混料桶頂部中央設置有第一電機,所述混料桶頂部一側設置有入料箱,所述混料桶上設置有控制面板,所述混料桶背部頂側開設有排氣孔,所述混料桶外部左側設置有固定板一,所述固定板一上設置有計量組件,所述混料桶外部右側設置有固定板二,所述固定板二上設置有抽風機,所述混料桶右側設置有水箱,所述水箱頂部設置有第二電機,所述混料桶左側設置有過篩箱,本發明中,利用入料箱、計量組件的結構,通過入料箱和計量組件對活性炭原料以及所需的粉料進行稱重配比,從而適用于各類活性炭的制備。

權利要求書
1.一種市政污水用活性炭制造設備,包括底板(1),其特征在于:所述底板(1)頂部一側設置有混料桶(2),所述混料桶(2)頂部中央設置有第一電機(3),所述混料桶(2)頂部一側設置有入料箱(4),所述混料桶(2)上設置有控制面板(5),所述混料桶(2)背部頂側開設有排氣孔(6),所述混料桶(2)外部左側設置有固定板一(7),所述固定板一(1)上設置有計量組件(8),所述混料桶(2)外部右側設置有固定板二(9),所述固定板二(9)上設置有抽風機(10),所述混料桶(2)右側設置有水箱(11),所述水箱(11)頂部設置有第二電機(12),所述混料桶(2)左側設置有過篩箱(13)。
2.根據權利要求1所述的一種市政污水用活性炭制造設備,其特征在于:所述混料桶(2)底部設置有排料管(21),所述排料管(21)上設置有電磁閥門三(22),且底部與過篩箱(13)頂部進行連通。
3.根據權利要求1所述的一種市政污水用活性炭制造設備,其特征在于:所述第一電機(3)輸出軸延伸至混料桶(2)內部連接有第一轉軸(31)且連接方式為通過聯軸器,且所述第一轉軸(31)兩側均固定連接多組第一攪拌桿(32),且首尾兩側第一攪拌桿(32)遠離第一轉軸(31)的一側端部固定連接有刮板(33)。
4.據權利要求1所述的一種市政污水用活性炭制造設備,其特征在于:所述入料箱(4)內部一側安裝有電動推桿(41),所述電動推桿(41)的輸出端固定連接有推板(42),且所述入料箱(4)內側底部嵌入安轉有重量傳感器(43),并且底部設置有入料管(44),所述入料管(44)上安裝有電磁閥門一(45)。
5.根據權利要求1所述的一種市政污水用活性炭制造設備,其特征在于:所述計量組件(8)由計量筒(81)、入料管(82)和電磁閥門二(83)組成,其中所述計量筒(81)位于固定板一(7)頂部,且底部連通有入料管二(82),且所述入料管(82)上設置有電磁閥門二(83),并貫穿固定板一(7)延伸至混料桶(2)內部一側。
6.根據權利要求1所述的一種市政污水用活性炭制造設備,其特征在于:所述抽風機(10)一側進風管與排氣孔(6)進行連通,且另一側出氣管與水箱(11)頂部一側進行連通。
7.根據權利要求1所述的一種市政污水用活性炭制造設備,其特征在于:所述第二電機(12)輸出軸延伸至水箱(11)內部設置有第二轉軸(121),且所述第二轉軸(121)兩側均固定連接有多組第二攪拌桿(122)。
8.根據權利要求1所述的一種市政污水用活性炭制造設備,其特征在于:所述過篩箱(13)底部固定設置有震動電機(131),且內部從上至下依次設置有過篩板(131)和導料板(132),所述過篩板(131)和導料板(132)對應篩箱(13)外部一側均設置有相應的出料口(133),且所述過篩箱(13)底部四個邊角均設置有穩定組件(134)。
9.根據權利要求8所述的一種市政污水用活性炭制造設備,其特征在于:所述穩定組件(134)由固定柱(1341)、套筒(1342)、限位板(1343)和彈簧(1344)組成,其中所述固定柱(1341)底部與底板(1)頂部進行固定連接,且所述套筒(1342)底部插接在固定柱(1341)內側,且底部固定連接有限位板(1343),所述限位板(1343)底部與固定柱(1341)內側底壁之間固定連接有彈簧(1344),且所述套筒(1342)頂部與過篩箱(13)底部進行固定連接。
10.根據權利要求1所述的一種市政污水用活性炭制造設備,其特征在于:所述控制面板(5)與第一電機(3)、第二電機(12)、電動推桿(41)、電磁閥門一(45)、電磁閥門二(83)、電磁閥門三(22)、重量傳感器(43)和震動電機(131)之間均進行電性連接。
發明內容
本發明的目的在于提供一種市政污水用活性炭制造設備,以解決上述背景技術中提出的問題。
為實現上述目的,本發明提供如下技術方案:一種市政污水用活性炭制造設備,包括底板,所述底板頂部一側設置有混料桶,所述混料桶頂部中央設置有第一電機,所述混料桶頂部一側設置有入料箱,所述混料桶上設置有控制面板,所述混料桶背部頂側開設有排氣孔,所述混料桶外部左側設置有固定板一,所述固定板一上設置有計量組件,所述混料桶外部右側設置有固定板二,所述固定板二上設置有抽風機,所述混料桶右側設置有水箱,所述水箱頂部設置有第二電機,所述混料桶左側設置有過篩箱。
作為本發明優選的方案,所述混料桶底部設置有排料管,所述排料管上設置有電磁閥門三,且底部與過篩箱頂部進行連通。
作為本發明優選的方案,所述第一電機輸出軸延伸至混料桶內部連接有第一轉軸且連接方式為通過聯軸器,且所述第一轉軸兩側均固定連接多組第一攪拌桿,且首尾兩側第一攪拌桿遠離第一轉軸的一側端部固定連接有刮板。
作為本發明優選的方案,所述入料箱內部一側安裝有電動推桿,所述電動推桿的輸出端固定連接有推板,且所述入料箱內側底部嵌入安轉有重量傳感器,并且底部設置有入料管,所述入料管上安裝有電磁閥門一。
作為本發明優選的方案,所述計量組件由計量筒、入料管和電磁閥門二組成,其中所述計量筒位于固定板一頂部,且底部連通有入料管二,且所述入料管上設置有電磁閥門二,并貫穿固定板一延伸至混料桶內部一側。
作為本發明優選的方案,所述抽風機一側進風管與排氣孔進行連通,且另一側出氣管與水箱頂部一側進行連通。
作為本發明優選的方案,所述第二電機輸出軸延伸至水箱內部設置有第二轉軸,且所述第二轉軸兩側均固定連接有多組第二攪拌桿。
作為本發明優選的方案,所述過篩箱底部固定設置有震動電機,且內部從上至下依次設置有過篩板和導料板,所述過篩板和導料板對應篩箱外部一側均設置有相應的出料口,且所述過篩箱底部四個邊角均設置有穩定組件。
作為本發明優選的方案,所述穩定組件由固定柱、套筒、限位板和彈簧組成,其中所述固定柱底部與底板頂部進行固定連接,且所述套筒底部插接在固定柱內側,且底部固定連接有限位板,所述限位板底部與固定柱內側底壁之間固定連接有彈簧,且所述套筒頂部與過篩箱底部進行固定連接。
作為本發明優選的方案,所述控制面板與第一電機、第二電機、電動推桿、電磁閥門一、電磁閥門二、電磁閥門三、重量傳感器和震動電機之間均進行電性連接。
與現有技術相比,本發明的有益效果是:本發明中,通過設置的一種市政污水用活性炭制造設備,利用入料箱、計量組件的結構,實現在使用時,將活性炭原料倒入入料箱中,通過內部的重量傳感器進行稱重并將信息傳達至控制面板上顯示,同時可將需要的粉料倒入計量筒中進行配比,當達到需要的重量后開啟電磁閥門一和電磁閥門二將兩者流入混料桶中,從而實現將活性炭原料以及所需的各類粉料進行稱重配比,適用于各類活性炭的制備。
本發明中,通過設置的一種市政污水用活性炭制造設備,利用抽風機、水箱、第二電機、第二轉軸和第二攪拌桿的結構,實現在使用時,通過抽風機將混料桶內部產生的灰塵吸取至水箱中進行溶解,并開啟第二電機帶動第二轉軸轉動,進而帶動第二攪拌桿在內部進行攪拌,避免灰塵雜質在內部進行沉淀,導致后期難以清理。
本發明中,通過設置的一種市政污水用活性炭制造設備,利用篩選箱的結構,實現在使用中,通過篩選箱底部的震動電機以及內部篩板對制備好的活性炭進行篩選,對其中的雜質進行過篩,從而提高該裝置出料的質量,且期間通過底部的穩定組件可提高該裝置震動篩選時的穩定性。
(發明人:馬寧;張艷;李文鵬;張杰;陳征;胡恩齊;王新哲)






