公布日:2023.09.22
申請日:2023.08.21
分類號:C02F3/00(2023.01)I;C02F1/00(2023.01)I;B01F31/00(2022.01)I;B01F35/12(2022.01)I;B01F35/00(2022.01)I;B01D29/03(2006.01)I;B01D29/72(2006.01)I;C02F103
/20(2006.01)N
摘要
本發明屬于廢水處理技術領域,尤其是一種畜禽養殖廢水的生物脫氮裝置及其脫氮方法,針對為了保證脫氮劑與廢水快速均勻混合,現有技術中一般使用攪拌裝置對脫氮劑與廢水攪拌,僅有的攪拌裝置導致有機廢水脫氮處理的工作效率較低,影響有機廢水的脫氮處理效果,同時脫氮劑容易在攪拌過程中與脫氮桶內壁產生粘附,從而造成脫氮劑與廢水比例失衡,降低反應效率,從而減少對有機廢水中的氮氣回收。本發明公開的一種畜禽養殖廢水的生物脫氮裝置及其脫氮方法,具有可以使得廢水與脫氮劑快速混合發生反應,從而提升脫氮處理效果,同時可以避免脫氮劑與廢水比例失衡,增加有機廢水中氮氣的回收。

權利要求書
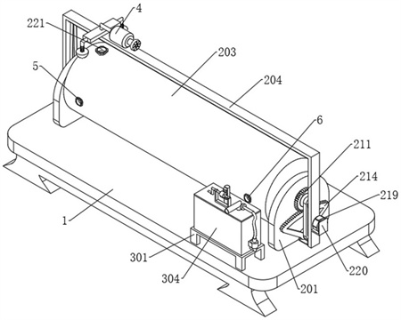
1.一種畜禽養殖廢水的生物脫氮裝置,包括操作平臺,其特征在于:所述操作平臺的上表面固定連接有對稱設置的支撐板,兩個所述支撐板之間設有脫氮筒,所述脫氮筒的兩端均固定連接有與支撐板轉動連接的旋轉柱,其中一個所述旋轉柱穿過支撐板與驅動脫氮筒轉動的往復晃動組件相連接;另一個所述旋轉柱穿過支撐板與檢測組件相連接;所述操作平臺的上表面固定連接有固定框,所述固定框的頂部橫梁上設有沿橫梁往復移動的除氣組件,所述除氣組件位于脫氮筒的上方;所述檢測組件包括轉動連接在固定框頂部橫梁下部的聯動旋轉桿,所述聯動旋轉桿的一端與往復晃動組件傳動連接,所述聯動旋轉桿的另一端傳動連接有旋轉圓柱,所述旋轉圓柱通過旋轉柱穿入脫氮筒的內部,位于所述脫氮筒內部的旋轉圓柱的外壁上設有呈陣列分布的攪拌架,所述攪拌架遠離旋轉圓柱的一端設有呈陣列分布的彈性件,所述彈性件的另一端設有柔性刮板;所述操作平臺的上表面固定連接有過篩組件,所述過篩組件通過傳輸軟管與脫氮筒的內部相連通;所述彈性件包括彈簧,所述彈性件位于脫氮筒內部時,所述彈性件處于正常狀態,不壓縮不拉伸;彈性件上設置壓力傳感器和彎曲度傳感器;所述柔性刮板遠離彈性件的一側與脫氮筒的內部相接觸;所述過篩組件包括與操作平臺固定連接的固定座,所述固定座的頂部固定連接有廢水箱,所述廢水箱的頂部固定連接有蓋板,所述蓋板的頂部滑動連接有滑動齒桿,所述滑動齒桿穿入廢水箱的一端固定連接有橡膠撞擊頭;所述蓋板的頂部固定連接有固定架,所述固定架的頂部轉動連接有轉動軸,所述轉動軸的外壁上固定連接有與滑動齒桿相嚙合的半齒輪,所述轉動軸的端部設有驅動部件;所述廢水箱的內部兩側均等距離固定連接有伸縮彈簧,且多個所述伸縮彈簧的一側固定連接有同一個第一過濾板;所述廢水箱的一側固定連接有泵體,所述泵體的出水端固定連接有傳輸軟管,所述蓋板頂部固定連接有進料管;所述廢水箱的內部固定連接有位于第一過濾板下方的第二過濾板,所述第二過濾板的頂部固定連接有呈陣列分布的錐形筒;在柔性刮板在與脫氮筒內部粘附的脫氮劑接觸后,脫氮劑對柔性刮板進行擠壓,柔性刮板受擠壓的區域上的彈性件發生長度方向上的壓縮,結合旋轉圓柱的轉矩判斷出脫氮劑在脫氮筒內部的位置,從而在往復晃動組件帶動脫氮筒往復晃動時通過控制除氣組件移動到標記位置對脫氮筒內部的脫氮劑進行清除;同時在旋轉圓柱帶動攪拌架在脫氮筒的內部循環轉動時,若廢水中的雜質越多,攪拌架在轉動受到的阻力越大,從而使得彈性件的發生軸向彎曲,通過檢測彈性件的軸向彎曲度判斷出廢水中的雜質含量,進而調節過篩組件的過篩效果。
2.根據權利要求1所述的一種畜禽養殖廢水的生物脫氮裝置,其特征在于:所述往復晃動組件包括與旋轉柱相連接的旋轉齒輪,所述旋轉齒輪的外側嚙合有弧形齒板,所述弧形齒板的底部通過旋轉軸轉動連接有與操作平臺固定連接的固定塊,所述旋轉軸的外壁上固定連接有內部開設有滑槽的擺動框,所述擺動框的內部滑動連接有滑塊,所述滑塊遠離旋轉齒輪的一端轉動連接有旋轉連接桿,所述旋轉連接桿的另一端固定連接有固定軸,所述固定軸的另一端設有驅動電機,所述驅動電機通過安裝座與固定框的外壁固定連接;與所述旋轉齒輪相連接的旋轉柱通過第一鎖止組件與支撐板轉動連接,所述旋轉柱通過第二鎖止組件與旋轉齒輪固定連接。
3.根據權利要求2所述的一種畜禽養殖廢水的生物脫氮裝置,其特征在于:所述驅動電機、旋轉齒輪以及聯動旋轉桿位于同一豎直平面上,所述聯動旋轉桿的兩端均固定連接有帶輪,所述固定軸的外壁以及旋轉圓柱的外壁上同樣固定連接有帶輪,所述聯動旋轉桿與旋轉圓柱上的帶輪均通過皮帶傳動連接,所述聯動旋轉桿與固定軸上的帶輪均通過皮帶傳動連接。
4.根據權利要求1所述的一種畜禽養殖廢水的生物脫氮裝置,其特征在于:所述除氣組件包括中空連接框,所述中空連接框的兩側均固定連接有伸縮件,兩個所述伸縮件的另一端均固定連接有除氣頭,所述固定框的頂部設有吸氣泵,所述吸氣泵的吸氣端通過連接管連接于中空連接框的內部,吸氣泵的排氣端固定連接有過濾頭。
5.根據權利要求4所述的一種畜禽養殖廢水的生物脫氮裝置,其特征在于:所述中空連接框的底部固定連接有對稱設置活動架,所述活動架上設有呈陣列分布的驅動輪。
6.根據權利要求1所述的一種畜禽養殖廢水的生物脫氮裝置,其特征在于:所述脫氮筒的外部開設有出氣口,所述出氣口的內部安裝有收集管,所述脫氮筒的外部開設有兩個安裝孔,兩個所述安裝孔的內部分別固定連接有放料口和廢水口。
7.一種畜禽養殖廢水的生物脫氮裝置的使用方法,該使用方法根據權利要求1所述的一種畜禽養殖廢水的生物脫氮裝置來實現,其特征在于:所述使用方法包括如下步驟:步驟一、在對廢水中加入脫氮劑后,此時啟動驅動電機,通過驅動電機帶動固定軸上的旋轉連接桿進行圓周轉動,使得旋轉連接桿一端的滑塊在擺動框的滑槽內滑動,從而使得擺動框往復擺動,通過擺動框帶動旋轉軸使得弧形齒板帶動旋轉齒輪進行雙向轉動,使得脫氮筒內部的廢水充分晃動與脫氮劑接觸;步驟二、同時固定軸在轉動過程中,通過皮帶帶動聯動旋轉桿轉動,使得旋轉圓柱上的攪拌架同時對脫氮筒內的廢水與脫氮劑進行攪拌;步驟三、攪拌過程中,位于攪拌架一側的彈性件上的刮板轉動對脫氮筒內壁上粘附的脫氮劑進行清除。
發明內容
本發明公開一種畜禽養殖廢水的生物脫氮裝置及其脫氮方法,旨在解決背景技術中的畜禽養殖有機廢水脫氮裝置使用過程中,為了保證脫氮劑與廢水快速均勻混合,現有技術一般使用攪拌裝置對脫氮劑與廢水攪拌,僅有的攪拌裝置導致有機廢水脫氮處理的工作效率較低,影響有機廢水的脫氮處理效果,同時脫氮劑容易在攪拌過程中與脫氮桶內壁產生粘附,從而造成脫氮劑與廢水比例失衡,降低反應效率,從而減少對有機廢水中氮氣回收的技術問題。
本發明提出的一種畜禽養殖廢水的生物脫氮裝置,包括操作平臺,所述操作平臺的上表面固定連接有對稱設置的支撐板,兩個所述支撐板之間設有脫氮筒,所述脫氮筒的兩端均固定連接有與支撐板轉動連接的旋轉柱,其中一個所述旋轉柱穿過支撐板與驅動脫氮筒轉動的往復晃動組件相連接;另一個所述旋轉柱穿過支撐板與檢測組件相連接。
所述操作平臺的上表面固定連接有固定框,所述固定框的頂部橫梁上設有沿橫梁往復移動的除氣組件,所述除氣組件位于脫氮筒的上方。
所述檢測組件包括轉動連接在固定框頂部橫梁下部的聯動旋轉桿,所述聯動旋轉桿的一端與往復晃動組件傳動連接,所述聯動旋轉桿的另一端傳動連接有旋轉圓柱,所述旋轉圓柱通過旋轉柱穿入脫氮筒的內部,位于所述脫氮筒內部的旋轉圓柱的外壁上設有呈陣列分布的攪拌架,所述攪拌架遠離旋轉圓柱的一端設有呈陣列分布的彈性件,所述彈性件的另一端設有柔性刮板。
所述操作平臺的上表面固定連接有過篩組件,所述過篩組件通過傳輸軟管與脫氮筒的內部相連通。
通過設置彈性件與柔性刮板,并在彈性件上設置壓力傳感器和彎曲度傳感器,往復晃動組件帶動脫氮筒往復晃動的過程中,旋轉圓柱同步帶動攪拌架在脫氮筒的內部循環轉動,由于彈性件位于脫氮筒內部時,彈性件處于正常狀態不壓縮也不拉伸,從而在柔性刮板在與脫氮筒內部粘附的脫氮劑接觸后,脫氮劑對柔性刮板進行擠壓,柔性刮板受擠壓的區域上的彈性件發生軸向壓縮,結合旋轉圓柱的轉矩判斷出脫氮劑在脫氮筒內部的位置(標記位置),從而在往復晃動組件帶動脫氮筒往復晃動時通過控制除氣組件移動到標記位置對脫氮筒內部的脫氮劑進行清除。
同時在旋轉圓柱帶動攪拌架在脫氮筒的內部循環轉動時,若廢水中的雜質越多,攪拌架在轉動受到的阻力越大,從而使得彈性件的發生軸向彎曲,通過檢測彈性件的軸向彎曲度判斷出廢水中的雜質含量,進而調節過篩組件的過篩效果。
優選的,所述往復晃動組件包括與旋轉柱相連接的旋轉齒輪,所述旋轉齒輪的外側嚙合有弧形齒板,所述弧形齒板的底部通過旋轉軸轉動連接有與操作平臺固定連接的固定塊,所述旋轉軸的外壁上固定連接有內部開設有滑槽的擺動框,所述擺動框的內部滑動連接有滑塊,所述滑塊遠離旋轉齒輪的一端轉動連接有旋轉連接桿,所述旋轉連接桿的另一端固定連接有固定軸,所述固定軸的另一端設有驅動電機,所述驅動電機通過安裝座與固定框的外壁固定連接。
與所述旋轉齒輪相連接的旋轉柱通過第一鎖止組件與支撐板轉動連接,所述旋轉柱通過第二鎖止組件與旋轉齒輪固定連接。
通過設置有往復晃動組件,在對廢水中加入脫氮劑后,此時啟動驅動電機,通過驅動電機帶動固定軸上的旋轉桿進行圓周轉動,使得旋轉桿一端的滑塊在擺動框的滑槽內滑動,從而使得擺動框往復擺動,通過擺動框帶動旋轉軸使得弧形齒板帶動旋轉齒輪進行雙向轉動,使得脫氮筒內部的廢水充分晃動與脫氮劑接觸。
優選的,所述驅動電機、旋轉齒輪以及聯動旋轉桿位于同一豎直平面上,所述聯動旋轉桿的兩端均固定連接有帶輪,所述固定軸的外壁以及旋轉圓柱的外壁上同樣固定連接有帶輪,所述聯動旋轉桿與旋轉圓柱上的帶輪均通過皮帶傳動連接,所述聯動旋轉桿與固定軸上的帶輪均通過皮帶傳動連接。
固定軸在轉動過程中,通過皮帶帶動聯動旋轉桿轉動,使得旋轉圓柱上的攪拌架同時對脫氮筒內的廢水與脫氮劑進行攪拌,使得廢水與脫氮劑快速混合發生反應,從而提升脫氮處理效果。
優選的,所述彈性件包括彈簧,所述彈性件位于脫氮筒內部時,所述彈性件處于正常狀態,不壓縮不拉伸;所述柔性刮板遠離彈性件的一側與脫氮筒的內部相接觸。
優選的,所述過篩組件包括與操作平臺固定連接的固定座,所述固定座的頂部固定連接有廢水箱,所述廢水箱的頂部固定連接有蓋板,所述蓋板的頂部滑動連接有滑動齒桿,所述滑動齒桿穿入廢水箱的一端固定連接有橡膠撞擊頭;所述蓋板的頂部固定連接有固定架,所述固定架的頂部轉動連接有轉動軸,所述轉動軸的外壁上固定連接有與滑動齒桿相嚙合的半齒輪,所述轉動軸的端部設有驅動部件。
所述廢水箱的內部兩側均等距離固定連接有伸縮彈簧,且多個所述伸縮彈簧的一側固定連接有同一個第一過濾板。
所述廢水箱的一側固定連接有泵體,所述泵體的出水端固定連接有傳輸軟管,所述蓋板頂部固定連接有進料管。
通過設置有過篩組件,在對有機廢水進行脫氮時,通過廢水箱對廢水進行收集,位于廢水箱中的第一過濾板對廢水初步過濾,同時在過濾的同時可以通過驅動部件進行調節,驅動部件帶動半齒輪旋轉,當半齒輪的齒輪端與滑動齒桿嚙合時,此時滑動齒桿上升,半齒輪與滑動齒桿相離時,此時滑動齒桿由于重力下落,通過滑動齒桿上的橡膠撞擊頭對第一過濾板進行撞擊,避免第一過濾板堵塞,影響廢水的收集。
優選的,所述廢水箱的內部固定連接有位于第一過濾板下方的第二過濾板,所述第二過濾板的頂部固定連接有呈陣列分布的錐形筒。
通過設置第二過濾板與錐形筒,在控制系統檢測到脫氮筒的內部雜質含量過多后,控制驅動部件帶動半齒輪旋轉,半齒輪通過滑動齒桿與橡膠撞擊頭進行擠壓,使得第一過濾板向第二過濾板移動,第二過濾板上的錐形筒穿入第一過濾板上的過濾孔,變相的縮小了第一過濾板上的過濾孔的直徑,從而使得第一過濾板的過濾效果得到提升,進而減少后續脫氮筒中的雜質含量。
優選的,所述除氣組件包括中空連接框,所述中空連接框的兩側均固定連接有伸縮件,兩個所述伸縮件的另一端均固定連接有除氣頭,所述固定框的頂部設有吸氣泵,所述吸氣泵的吸氣端通過連接管連接于中空連接框的內部,吸氣泵的排氣端固定連接有過濾頭。
通過設置有除氣組件,在對脫氮筒內的氮氣進行回收時,此時調節伸縮件使得除氣頭對著收集管,而后啟動吸氣泵,通過除氣頭對收集管中的空氣進行吸取,而后通過過濾頭對空氣進行過濾排出,避免在氮氣回收時出現泄漏。
優選的,所述中空連接框的底部固定連接有對稱設置活動架,所述活動架上設有呈陣列分布的驅動輪。
通過設置驅動輪,使得除氣組件可以沿固定框的橫梁往復移動,從而可以移動到控制系統檢測到的標記位置,之后控制伸縮件伸長,使除氣頭隨標記位置進行敲擊,進而使得粘附在脫氮筒內部的脫氮劑得到清除。
優選的,所述脫氮筒的外部開設有出氣口,出氣口的內部安裝有收集管,所述脫氮筒的外部開設有兩個安裝孔,兩個安裝孔的內部分別固定連接有放料口和廢水口。
本發明還公開一種畜禽養殖廢水的生物脫氮裝置的使用方法,該使用方法根據一種畜禽養殖廢水的生物脫氮裝置來實現,所述使用方法包括如下步驟:
步驟一、在對廢水中加入脫氮劑后,此時啟動驅動電機,通過驅動電機帶動固定軸上的旋轉連接桿進行圓周轉動,使得旋轉連接桿一端的滑塊在擺動框的滑槽內滑動,從而使得擺動框往復擺動,通過擺動框帶動旋轉軸使得弧形齒板帶動旋轉齒輪進行雙向轉動,使得脫氮筒內部的廢水充分晃動與脫氮劑接觸;
步驟二、同時固定軸在轉動過程中,通過皮帶帶動聯動旋轉桿轉動,使得旋轉圓柱上的攪拌架同時對脫氮筒內的廢水與脫氮劑進行攪拌;
步驟三、攪拌過程中,位于攪拌架一側的彈性件上的柔性刮板轉動對脫氮筒內壁上粘附的脫氮劑進行清除。
本發明的技術效果和優點:
1.本發明通過設置往復晃動組件,皮帶帶動聯動旋轉桿轉動,使得旋轉圓柱上的攪拌架同時對脫氮桶內的廢水與脫氮劑進行攪拌,攪拌過程中,位于攪拌架一側的彈性件上的柔性刮板轉動對脫氮桶內壁上粘附的脫氮劑刮除,通過往復晃動組件,可以使得廢水與脫氮劑快速混合發生反應,從而提升脫氮處理效果,同時可以避免脫氮劑與廢水比例失衡,增加有機廢水中的氮氣回收。
2.本發明通過設置過篩組件,在對有機廢水進行脫氮時,通過廢水箱對廢水進行收集,位于廢水箱中的第一過濾板對廢水初步過濾,同時在過濾的同時可以通過驅動部件帶動半齒輪旋轉,當半齒輪的齒輪端與滑動齒桿嚙合時,此時滑動齒桿上升,半齒輪與滑動齒桿相離時,此時滑動齒桿由于重力下落,通過滑動齒桿上的橡膠撞擊頭對過濾板進行撞擊,避免過濾板堵塞,影響廢水的收集。
3.本發明通過設置除氣組件,在對脫氮桶內的氮氣進行回收時,此時調節伸縮件使得除氣頭對著收集管,而后啟動吸氣泵,通過除氣頭對收集管的空氣進行吸取,而后通過過濾頭對空氣進行過濾排出,避免在氮氣回收時出現泄漏。
4.本發明通過設置彈性件與柔性刮板,并在彈性件上設置壓力傳感器和彎曲度傳感器,在柔性刮板在與脫氮筒內部粘附的脫氮劑接觸后,脫氮劑對柔性刮板進行擠壓,柔性刮板受擠壓的區域上的彈性件發生長度方向上的壓縮,結合旋轉圓柱的轉矩判斷出脫氮劑在脫氮筒內部的位置,從而在往復晃動組件帶動脫氮筒往復晃動時通過控制除氣組件移動到標記位置對脫氮筒內部的脫氮劑進行清除;同時在旋轉圓柱帶動攪拌架在脫氮筒的內部循環轉動時,若廢水中的雜質越多,攪拌架在轉動受到的阻力越大,從而使得彈性件的發生軸向彎曲,通過檢測彈性件的軸向彎曲度判斷出廢水中的雜質含量,進而調節過篩組件,提高過篩組件的過篩效果。
(發明人:代嘉懿;馬鴻娟;朱斌斌;翟學東;代晉國;鄭文)






