公布日:2024.03.08
申請日:2023.11.30
分類號:E04H5/02(2006.01)I;C02F11/00(2006.01)I;B01D46/12(2022.01)I;B01D53/04(2006.01)I;B01D53/84(2006.01)I;B01D53/44(2006.01)I;B01D53/86(2006.01)I
摘要
本發明提供了一種污水污泥處理設施除臭裝置及使用方法,包括處于微負壓狀態的卸泥車間、料倉、卸泥車、控制電箱以及噴淋系統。所述卸泥車間包括兩組電動卷簾門、電動風閥系統以及手動風閥系統,兩組所述電動卷簾門分別安裝在所述卸泥車間的進出口端,所述電動風閥系統和所述手動風閥系統設置于所述卸泥車間內部。本發明可以在污泥收集的過程中,避免臭氣外溢,提高工作環境,同時,實現卸泥過程臭氣收集的自動化控制,有效地節省末端除臭設備風量,減少固定設備成本投入及日常運行費用。

權利要求書
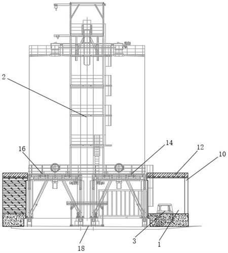
1.一種污水污泥處理設施除臭裝置,其特征在于,包括處于微負壓狀態的卸泥車間(1)、料倉(2)以及卸泥車(3),所述卸泥車間(1)包括兩組電動卷簾門(10)、電動風閥系統(14)以及手動風閥系統(16),兩組所述電動卷簾門(10)分別安裝在所述卸泥車間(1)的進出口端,所述電動風閥系統(14)和所述手動風閥系統(16)設置于所述卸泥車間(1)內部;還設置有控制電箱(114),所述控制電箱(114)控制其中至少一組所述電動卷簾門(10)將所述卸泥車間(1)密閉或者打開時,所述電動風閥系統(14)啟動并開啟強排模式或者關閉。
2.根據權利要求1所述的一種污水污泥處理設施除臭裝置,其特征在于,還設置有噴淋系統(4),所述噴淋系統(4)包括設置于所述卸泥車間(1)內部兩側的主管(42),所述主管(42)連通有若干次管(44)和支管(46),若干所述支管(46)上均設置有噴頭(40),所述主管(42)還連接有一球閥(48)。
3.根據權利要求1所述的一種污水污泥處理設施除臭裝置,其特征在于,所述主管(42)還連接有一與廠區中水連接的加壓設備(110),所述加壓設備(110)配設有一信號閥(112)。
4.根據權利要求1所述的一種污水污泥處理設施除臭裝置,其特征在于,所述電動風閥系統(14)和所述手動風閥系統(16)還包括若干管道,若干所述管道設置在所述卸泥車間(1)的上部并且具有多個抽氣口并且分散延伸到各個角落。
5.根據權利要求1所述的一種污水污泥處理設施除臭裝置,其特征在于,所述卸泥車間(1)頂部設置有不銹鋼蓋板(12)。
6.根據權利要求1所述的一種污水污泥處理設施除臭裝置,其特征在于,所述卸泥車間(1)內部的地面上設置有排水溝(18),所述排水溝(18)上鋪設有格柵蓋板(1802)。
7.一種污水污泥處理設施除臭裝置的使用方法,其特征在于,包括應用于權利要求1-6任一所述的一種污水污泥處理設施除臭裝置,包括以下步驟:S1、開啟所述卸泥間(1)上的所述電動卷簾門(10),電動風閥系統(14)啟動,并切換至強排模式,以此增加所述卸泥車間(1)的除臭換氣次數,隨后,駕駛員駕駛所述卸泥車(3)進入所述卸泥車間(1),卸泥車(3)停滯在所述料倉(2)的下方。S2、當所述卸泥車(3)停放在準確位置后,駕駛員下車并通過所述控制電箱(114)控制所述電動卷簾門(10)封閉卸泥車間(1);S3、開始卸泥,駕駛員通過所述卸泥車間(1)兩側的觀察窗觀察卸泥情況,當卸泥完成后,開啟所述噴淋系統(4),所述噴頭(40)將所述卸泥車(3)上污泥清洗;S4、清洗完成后,駕駛員通過所述控制電箱(114)控制所述卸泥車間(1)的另一出口的所述電動卷簾門(10)抬升,采用手持式沖洗裝置清洗車輛外部殘留污泥,所述卸泥車(3)駛出所述卸泥車間(1);S5、通過所述控制電箱(114)控制所述電動卷簾門(10)下降并密閉所述卸泥車間(1),同時關閉電動風閥系統(14)的強排模式。
8.根據權利要求7所述一種污水污泥處理設施除臭裝置的使用方法,其特征在于,在S1步驟之前,所述手動風閥系統(16)保持常開,使所述卸泥車間(1)內部保持微負壓。
9.根據權利要求7所述一種污水污泥處理設施除臭裝置的使用方法,其特征在于,在S3步驟之后,污泥通過所述排水溝(18)將污水收集排出。
10.根據權利要求1所述的一種污水污泥處理設施除臭裝置,其特征在于,還包括有一設置在所述卸泥車間(1)內部墻面的高壓水槍。
發明內容
本發明提供了一種污水污泥處理設施除臭裝置及使用方法,可以有效解決上述問題。
本發明是這樣實現的:
一種污水污泥處理設施除臭裝置及使用方法,包括處于微負壓狀態的卸泥車間、料倉、卸泥車、控制電箱以及噴淋系統。
所述卸泥車間包括兩組電動卷簾門、電動風閥系統以及手動風閥系統,兩組所述電動卷簾門分別安裝在所述卸泥車間的進出口端,所述電動風閥系統和所述手動風閥系統設置于所述卸泥車間內部;
還設置有控制電箱,所述控制電箱控制其中至少一組所述電動卷簾門將所述卸泥車間密閉或者打開時,所述電動風閥系統啟動并開啟強排模式或者關閉。
還設置有噴淋系統,所述噴淋系統包括設置于所述卸泥車間內部兩側的主管,所述主管連通有若干次管和支管,若干所述支管上均設置有噴頭,所述主管還連接有一球閥。
作為進一步改進的,所述主管還連接有一與廠區中水連接的水管,所述水管配設有一信號閥。
作為進一步改進的,所述電動風閥系統和所述手動風閥系統還包括若干管道,若干所述管道設置在所述卸泥車間的上部并且具有多個抽氣口并且分散延伸到各個角落。
作為進一步改進的,所述卸泥車間頂部設置有不銹鋼蓋板。
作為進一步改進的,所述卸泥車間內部的地面上設置有排水溝,所述排水溝上鋪設有格柵蓋板。
一種污水污泥處理設施除臭裝置的使用方法,包括以下步驟:
S1、開啟所述卸泥間上的所述電動卷簾門,電動風閥系統啟動,并切換至強排模式,以此增加所述卸泥車間的除臭換氣次數,隨后,駕駛員駕駛所述卸泥車進入所述卸泥車間,卸泥車停滯在所述料倉的下方。
S2、當所述卸泥車停放在準確位置后,駕駛員下車并通過所述控制電箱控制所述電動卷簾門封閉卸泥車間;
S3、開始卸泥,駕駛員通過所述卸泥車間兩側的觀察窗觀察卸泥情況,當卸泥完成后,開啟所述噴淋系統,所述噴頭將所述卸泥車上污泥清洗;
S4、清洗完成后,駕駛員通過所述控制電箱控制所述卸泥車間的另一出口的所述電動卷簾門抬升,采用手持式沖洗裝置清洗車輛外部殘留污泥,所述卸泥車駛出所述卸泥車間;
S5、通過所述控制電箱控制所述電動卷簾門下降并密閉所述卸泥車間,同時關閉電動風閥系統的強排模式。
作為進一步改進的,在S1步驟之前,所述手動風閥系統保持常開,使所述卸泥車間內部保持微負壓。
作為進一步改進的,在S3步驟之后,污泥通過所述排水溝將污水收集排出。
作為進一步改進的,還包括有一設置在所述卸泥車間內部墻面的高壓水槍。
本發明的有益效果是:
(1)卸泥車間僅在清運污泥時臭味比較大(平常依舊有臭味,但不會外溢),因此需加大抽風量,平常保持電動卷簾門關閉,保持卸泥車間微負壓無臭氣外溢,在卸泥間內設置手動風閥系統和電動風閥系統,手動風閥系統調好風量后保持常開,保持卸泥間內微負壓(換氣次數:4次/h);當卸泥開始,電動卷簾門封閉時,開啟電動風閥系統,增加卸泥車間內抽風量(換氣次數:8次/h),有效降低了卸料車間的臭氣濃度,卸泥車進出設置快速卷簾門聯動系統(該聯動系統為現有技術,例如在控制電箱內部增設繼電器,從而使兩者聯動),電動卷簾門根據信號反饋可聯動電動風閥系統,在卸泥過程中切換至強排模式,增加除臭換氣次數,實現卸泥過程臭氣收集的自動化控制,有效地節省末端除臭設備風量,減少固定設備成本投入及日常運行費用。
(2)為保持現場衛生清潔,避免卸泥過程中污泥外溢,隨車攜帶影響環境,卸料車間增設無負壓供水自動洗車裝置(現有技術,在此不做詳細贅述),實現卸泥車的沖洗,而卸泥車間內的排水溝,便于沖洗泥水排出,同時配置高壓水槍(現有設備,在此不做詳細贅述)加強清潔,減少了卸泥車卸運過程帶出泥對道路環境的負面影響。
(3)通過設置的除臭噴淋段、氣管除臭結構以及循環凈化裝置,可以將噴淋除臭段預先對卸泥車和卸泥車間進行除臭,可以有效降低粉塵以及卸泥車間內部的臭氣濃度,也可以避免塵土堵塞氣管,同時,對卸泥車間內部氣體進行循環凈化,盡可能的降低卸泥車間內部的臭氣濃度。
(發明人:黃志華;陳向強;李云舒;蔡萬強;馬聰;葉飛;吳偉;李堅;陳奕齊;陳谷;林臻;余淑蓉;陳亮;王筱萌;楊宇強)






