公布日:2024.02.06
申請日:2023.12.19
分類號:C02F3/28(2023.01)I;C02F3/02(2023.01)I;C02F101/16(2006.01)N
摘要
本發明涉及一種低碳氮比污水短程脫氮的裝置,包括外筒,其中外筒內懸空設置有中筒與內筒,且內筒內設置有短程硝化區,所述內筒與中筒之間設置有位于上方的析氣區與位于下方的接觸還原區,所述中筒與外筒之間設置有硫自養反硝化區,所述外筒外側還設置有與其連接的供氧系統。本發明短程硝化、短程反硝化、厭氧氨氧化、沉淀、硫自養反硝化集成于一體,脫氮效率高、設備緊湊、節省占地面積。

權利要求書
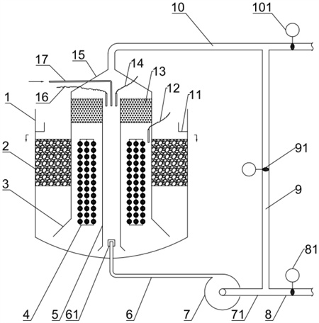
1.一種低碳氮比污水短程脫氮裝置,其特征在于:包括外筒,其中外筒內懸空設置有中筒與內筒,且內筒內設置有短程硝化區,所述內筒與中筒之間設置有位于上方的析氣區與位于下方的接觸還原區,所述中筒與外筒之間設置有硫自養反硝化區,所述外筒外側還設置有與其連接的供氧系統;所述短程硝化區包括曝氣組件、進水管、在線pH計及在線DO計1,其中曝氣組件包括位于內筒內底部的曝氣頭及與曝氣頭連接出氣管,所述進水管、在線pH計及在線DO計1均設置在內筒內頂部開口處;所述析氣區由填料床層、上孔板和下孔板組成,所述上孔板和下孔板固定于內筒與中筒之間;所述接觸還原區由空心球填料、聚氨酯海綿填料、填料支架及在線DO計2組成,所述空心填料球內裝填有所述聚氨酯海綿填料,所述空心填料球由彈性繩依次串聯連接且兩端固定在所述填料支架上,所述在線DO計2安裝于所述接觸還原區上方處;所述硫自養反硝化區由濾料層、承托層和溢流堰組成,所述濾料層由硫自養反硝化濾料與含碳酸鹽固體顆粒混合而成,所述硫自養反硝化濾料是擔載有硫化鈉、和硫代硫酸鈉單質硫等還原態硫源的固體顆粒,所述承托層是由承托板和承托層濾料組成;所述承托板開有均勻分布的孔,所述承托層濾料為含碳酸鹽固體顆粒,所述溢流堰安裝在濾料層上方的外筒內壁上;所述供氧系統包括設置在中筒頂端的集氣罩,其中集氣罩與安裝有貧氧空氣調節閥的貧氧空氣管連接,且貧氧空氣管通過循環管與安裝有富氧空氣調節閥的富氧空氣管連接,該循環管上設置有循環管調節閥,所述富氧空氣管通過進氣管與與風機連接,其中風機與出氣管連接。
2.根據權利要求1所述的一種低碳氮比污水短程脫氮裝置,其特征在于:所述富氧空氣調節閥安裝于所述富氧空氣管與所述循環管連接處的上游,所述貧氧空氣調節閥安裝于所述貧氧空氣管與所述循環管連接處的上游。
3.根據權利要求1所述的一種低碳氮比污水短程脫氮裝置,其特征在于:所述內筒與中筒均由上部的直筒段和下部的喇叭口連接而成,其中內筒與中筒的下部喇叭口角度均為30°~60°,所述內筒的喇叭口底端與外筒底部的間距為1~5cm,所述中筒的喇叭口底端與外筒底部的間距為30~50cm。
4.根據權利要求1所述的一種低碳氮比污水短程脫氮裝置,其特征在于:所述短程硝化區投加了沸石顆粒,其中沸石顆粒的體積占硝化功能區體積的2%~20%,且沸石顆粒的粒徑為40~100目。
5.根據權利要求1所述的一種低碳氮比污水短程脫氮裝置,其特征在于:所述接觸還原區中的空心填料球串在水平面方向呈放射狀布置。
6.根據權利要求1所述的一種低碳氮比污水短程脫氮裝置,其特征在于:所述析氣區的填料為拉西環、鮑爾環、階梯環、弧鞍、矩鞍、金屬環矩鞍、格柵填料、波紋填料中的一種或幾種。
7.一種低碳氮比污水短程脫氮裝置的使用方法,其處理過程如下:首先通過風機向內筒中短程硝化區鼓氣,氧氣溶解在水中并被氨氧化細菌利用進行短程硝化反應將氨氮轉化成亞硝氮,在氣流提升作用下污水流經內筒上部并與進水管中的原水混合后呈輻射狀進入頂部析氣區,污水在析氣區析出氧氣后進入到接觸還原區,在接觸還原區空心填料球表面的反硝化細菌首先利用污水中的碳源通過短程反硝化將上一個循環中厭氧氨氧化反應產生的硝態氮還原為亞硝氮,然后亞硝氮和氨氮被空心填料球內部的厭氧氨氧化細菌直接還原成氮氣,實現氨氮、亞硝氮和硝態氮的去除,流經接觸還原區后的污水一部分從內筒底部的喇叭口回流到短程硝化區,另一部分通過中筒下部的喇叭口流向外圈的硫自養反硝化區,將厭氧氨氧化反應產生的少量硝態氮還原成氮氣,最后通過硫自養反硝化區上方的溢流堰排出;其中在短程硝化區內投加有沸石顆粒,在氣提作用下均勻分布于水中,其中有一部分沸石顆粒在水流循環流經接觸還原區過程中,被空心填料球截留而負載在填料上,沸石顆粒吸附的氨氮為厭氧氨氧化細菌提供一部分氨氮來源,起到穩定緩沖氨氮濃度的作用;同時維持在線DO計1的DO在0.5~2.5mg/L范圍內,當在線DO計2的DO≤0.3mg/L時,各空氣管路的調節閥開度保持不變,當在線DO計2的DO>0.3mg/L時,貧氧空氣管調節閥開度調小、循環管調節閥開度調大、富氧空氣管調節閥開度不變,使得一部分貧氧空氣循環、集氣罩內的負壓增大,從而使析氣區析出更多的氧氣,將在線DO計2的DO維持在0.3mg/L以下。
發明內容
本發明的目的就是提供一種低碳氮比污水短程脫氮裝置及其方法。
本發明的技術問題主要通過下述技術方案得以解決:
一種低碳氮比污水短程脫氮的裝置,包括外筒,其中外筒內懸空設置有中筒與內筒,且內筒內設置有短程硝化區,所述內筒與中筒之間設置有位于上方的析氣區與位于下方的接觸還原區,所述中筒與外筒之間設置有硫自養反硝化區,所述外筒外側還設置有與其連接的供氧系統;
所述短程硝化區包括曝氣組件、進水管、在線pH計及在線DO計1,其中曝氣組件包括位于內筒內底部的曝氣頭及與曝氣頭連接出氣管,所述進水管、在線pH計及在線DO計1均設置在內筒內頂部開口處;
所述析氣區由填料床層、上孔板和下孔板組成,所述上孔板和下孔板固定于內筒與中筒之間;
所述接觸還原區由空心球填料、聚氨酯海綿填料、填料支架及在線DO計2組成,所述空心填料球內裝填有所述聚氨酯海綿填料,所述空心填料球由彈性繩依次串聯連接且兩端固定在所述填料支架上,所述在線DO計2安裝于所述接觸還原區上方處;
所述硫自養反硝化區由濾料層、承托層和溢流堰組成,所述濾料層由硫自養反硝化濾料與含碳酸鹽固體顆粒按一定比例混合而成,所述硫自養反硝化濾料是擔載有硫化鈉、和硫代硫酸鈉單質硫等還原態硫源的固體顆粒,所述承托層是由承托板和承托層濾料組成;所述承托板開有均勻分布的孔,所述承托層濾料為含碳酸鹽固體顆粒,所述溢流堰安裝在濾料層上方的外筒內壁上;
所述供氧系統包括設置在中筒頂端的集氣罩,其中集氣罩與安裝有貧氧空氣調節閥的貧氧空氣管連接,且貧氧空氣管通過循環管與安裝有富氧空氣調節閥的富氧空氣管連接,該循環管上設置有循環管調節閥,所述富氧空氣管通過進氣管與與風機連接,其中風機與出氣管連接。
作為一種優選方案,所述富氧空氣調節閥安裝于所述富氧空氣管與所述循環管連接處的上游,所述貧氧空氣調節閥安裝于所述貧氧空氣管與所述循環管連接處的上游。
作為一種優選方案,所述內筒與中筒均由上部的直筒段和下部的喇叭口連接而成,其中內筒與中筒的下部喇叭口角度均為30°~60°,所述內筒的喇叭口底端與外筒底部的間距為1~5cm,所述中筒的喇叭口底端與外筒底部的間距為30~50cm。
作為一種優選方案,所述短程硝化區投加了沸石顆粒,其中沸石顆粒的體積占硝化功能區體積的2%~20%,且沸石顆粒的粒徑為40~100目。
作為一種優選方案,所述接觸還原區中的空心填料球串在水平面方向呈放射狀布置。
作為一種優選方案,所述析氣區的填料為拉西環、鮑爾環、階梯環、弧鞍、矩鞍、金屬環矩鞍、格柵填料、波紋填料中的一種或幾種。
一種低碳氮比污水短程脫氮裝置的使用方法,其處理過程如下:
首先通過風機向內筒中短程硝化區鼓氣,氧氣溶解在水中并被氨氧化細菌利用進行短程硝化反應將氨氮轉化成亞硝氮,在氣流提升作用下污水流經內筒上部并與進水管中的原水混合后呈輻射狀進入頂部析氣區,污水在析氣區析出氧氣后進入到接觸還原區,在接觸還原區空心填料球表面的反硝化細菌首先利用污水中的碳源通過短程反硝化將上一個循環中厭氧氨氧化反應產生的硝態氮還原為亞硝氮,然后亞硝氮和氨氮被空心填料球內部的厭氧氨氧化細菌直接還原成氮氣,實現氨氮、亞硝氮和硝態氮的去除,流經接觸還原區后的污水一部分從內筒底部的喇叭口回流到短程硝化區,另一部分通過中筒下部的喇叭口流向外圈的硫自養反硝化區,將厭氧氨氧化反應產生的少量硝態氮還原成氮氣,最后通過硫自養反硝化區上方的溢流堰排出;
其中在短程硝化區內投加有沸石顆粒,在氣提作用下均勻分布于水中,其中有一部分沸石顆粒在水流循環流經接觸還原區過程中,被空心填料球截留而負載在填料上,沸石顆粒吸附的氨氮為厭氧氨氧化細菌提供一部分氨氮來源,起到穩定緩沖氨氮濃度的作用;
同時維持在線DO計1的DO在0.5~2.5mg/L范圍內,當在線DO計2的DO≤0.3mg/L時,各空氣管路的調節閥開度保持不變,當在線DO計2的DO>0.3mg/L時,貧氧空氣管調節閥開度調小、循環管調節閥開度調大、富氧空氣管調節閥開度不變,使得一部分貧氧空氣循環、集氣罩內的負壓增大,從而使析氣區析出更多的氧氣,將在線DO計2的DO維持在0.3mg/L以下。
本發明的有益效果是:
1、本發明在內筒中投加了沸石顆粒,通過沸石吸附氨氮及高pH在沸石表面創造高游離氨環境,由于氨氧化細菌(AOB)相對于亞硝酸鹽氧化細菌(NOB)可以耐受更高的游離氨和pH,因而NOB在高游離氨和高pH環境下逐漸被淘汰,達到抑制NOB生長、富集AOB的目的,實現短程硝化反應;同時一部分沸石顆粒被空心填料球截住,當水流中氨氮濃度降低時沸石顆粒釋放氨氮、當水流中氨氮濃度升高時沸石顆粒吸附氨氮,為空心填料球內部的厭氧氨氧化細菌提供穩定的氨氮來源。
2、本發明短程硝化、短程反硝化、厭氧氨氧化、沉淀、硫自養反硝化集成于一體,脫氮效率高、設備緊湊、節省占地面積。
3、本發明通過優化曝氣結構設計,采用上部直筒、下部傘形的結構,使得沸石顆粒、生物菌種在曝氣提升的作用下,既能實現供氧需求,又能起到提升循環的作用,使得微生物更容易接觸到底物,給微生物提供一個較好的生存環境。
4、本發明貧氧空氣再循環,在吸入空氣量保持不變的條件下通過調節貧氧空氣循環量以及曝氣區上方的真空度來調節充氧量,實現精準控氧。
5、本發明在最外圈增加了硫自養反硝化區,將出水中的硝態氮進一步降低,同時反硝化濾料還能起到過濾出水懸浮物的作用,保證出水穩定及清澈無懸浮物,無需設置沉淀池。
6、本發明在析氣區中填充有填料,比表面積大,使得填料表面的氣液接觸面積大,在負壓的作用下有利于氧氣的析出。
7、本發明接觸還原區設置于內筒與中筒之間的回流區,水流自上而下依靠重力自流,空心填料球表面及內部的有效菌種易附著生長、不易被水流直接沖刷脫落,生物膜較厚,可為內部的厭氧氨氧化細菌提供穩定的缺氧環境。
(發明人:徐傳航;陳后興;楊鴻玲;邱根萍;董喬紅;吉康寧;肖建林;鐘翔;劉洋;曾憲花;袁炳發;張春林)






