公布日:2023.09.05
申請日:2023.07.25
分類號:B01D29/03(2006.01)I;B01D29/50(2006.01)I;B01D29/60(2006.01)I;B01D29/68(2006.01)I;B01D29/70(2006.01)I;B01D29/96(2006.01)I
摘要
本發明屬于廢水處理裝置技術領域,公開了一種建筑工地廢水過濾裝置,包括兩個支撐座和轉動連接于兩個支撐座之間的過濾部分,所述過濾部分包括兩個固定板和連接于兩個所述固定板之間的若干個分隔板,所述分隔板的上側轉動連接有濾水板,相鄰兩個所述分隔板之間形成過濾腔,所述過濾腔的內部設有沖洗組件,通過支撐座對過濾部分進行支撐,過濾部分的內部設置多個濾水板,通過驅動電機帶動過濾部分轉動,使多個濾水板交替進行濾水工作,提高建筑工地廢水處理效率,在轉動過程中,通過沖洗組件對濾水板的底面進行高效沖洗,防止濾水板產生堵塞,保障過濾部分的高效工作。

權利要求書
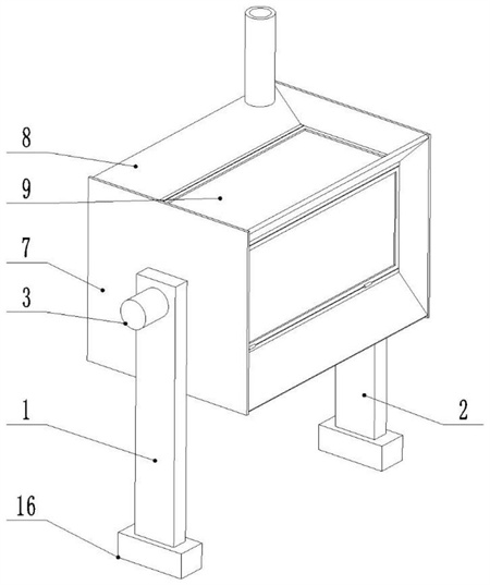
1.一種建筑工地廢水過濾裝置,包括兩個支撐座和轉動連接于兩個支撐座之間的過濾部分,其特征在于:所述過濾部分包括兩個固定板(7)和連接于兩個所述固定板(7)之間的若干個分隔板(8),所述分隔板(8)的上側轉動連接有濾水板(9),相鄰兩個所述分隔板(8)之間形成過濾腔(10),所述過濾腔(10)的內部設有沖洗組件。
2.根據權利要求1所述的建筑工地廢水過濾裝置,其特征在于:兩個所述支撐座分別為第一支撐座(1)和第二支撐座(2),所述第一支撐座(1)的上部固定有驅動電機(3),所述第二支撐座(2)的上部連接有排水盤(4),所述排水盤(4)的外側連接有排水管(5);兩個所述固定板(7)之間連接有驅動軸(6),所述驅動軸(6)的一端穿過所述固定板(7)與所述驅動電機(3)的輸出軸固連,所述驅動軸(6)的另一端穿過所述固定板(7)與所述排水盤(4)轉動連接。
3.根據權利要求2所述的建筑工地廢水過濾裝置,其特征在于:所述固定板(7)為方形,所述分隔板(8)的數量至少為4,所述分隔板(8)沿所述驅動軸(6)的外側圓周陣列設置,所述分隔板(8)和所述固定板(7)之間密封連接,所述過濾腔(10)呈三棱柱狀,所述過濾腔(10)的下部設有水平的擋板(11),所述擋板(11)的一端與相鄰兩個所述分隔板(8)中的一個所述分隔板(8)固定連接,所述擋板(11)的長度方向的一側與相鄰兩個所述分隔板(8)中的另一所述分隔板(8)之間形成進水口,所述沖洗組件的一端連接于所述擋板(11)下側,所述沖洗組件的上部設置于所述濾水板(9)的下側。
4.根據權利要求3所述的建筑工地廢水過濾裝置,其特征在于:所述沖洗組件包括連接水管(12)和噴水頭(13),所述連接水管(12)的一端穿過所述擋板(11)設置于所述過濾腔(10)的下部,所述連接水管(12)的上端設置于所述濾水板(9)的下側,所述連接水管(12)的上端連接有固定座,所述噴水頭(13)與所述固定座轉動連接,所述噴水頭(13)與所述固定座的連接軸上連接有清洗電機(15),所述噴水頭(13)的噴水端朝向所述濾水板(9)的下側設置,所述連接水管(12)上連接有電磁閥(14)。
5.根據權利要求2所述的建筑工地廢水過濾裝置,其特征在于:與所述排水盤(4)相鄰的所述固定板(7)外側設有限位滑塊和若干個排水口,所述排水盤(4)的內側設有限位滑軌,所述限位滑塊與所述限位滑軌滑動連接,所述排水口與所述排水管(5)相對設置。
6.根據權利要求1所述的建筑工地廢水過濾裝置,其特征在于:所述濾水板(9)包括架體和濾網,所述濾網固定于所述架體的內部,所述架體與所述分隔板(8)遠離轉動方向的一側轉動連接。
7.根據權利要求1所述的建筑工地廢水過濾裝置,其特征在于:兩個所述支撐座的底部設有稱重傳感器(16)。
發明內容
本發明的目的在于提供一種建筑工地廢水過濾裝置,能夠提高對建筑工地廢水的處理效率,方便對過濾網進行清理。
為達此目的,本發明采用以下技術方案:
一種建筑工地廢水過濾裝置,包括兩個支撐座和轉動連接于兩個支撐座之間的過濾部分,所述過濾部分包括兩個固定板和連接于兩個所述固定板之間的若干個分隔板,所述分隔板的上側轉動連接有濾水板,相鄰兩個所述分隔板之間形成過濾腔,所述過濾腔的內部設有沖洗組件。
作為優化,兩個所述支撐座分別為第一支撐座和第二支撐座,所述第一支撐座的上部固定有驅動電機,所述第二支撐座的上部連接有排水盤,所述排水盤的外側連接有排水管;
兩個所述固定板之間連接有驅動軸,所述驅動軸的一端穿過所述固定板與所述驅動電機的輸出軸固連,所述驅動軸的另一端穿過所述固定板與所述排水盤轉動連接。
作為優化,所述固定板為方形,所述分隔板的數量至少為4,所述分隔板沿所述驅動軸的外側圓周陣列設置,所述分隔板和所述固定板之間密封連接,所述過濾腔呈三棱柱狀,所述過濾腔的下部設有水平的擋板,所述擋板的一端與相鄰兩個所述分隔板中的一個所述分隔板固定連接,所述擋板的長度方向的一側與相鄰兩個所述分隔板中的另一所述分隔板之間形成進水口,所述沖洗組件的一端連接于所述擋板下側,所述沖洗組件的上部設置于所述濾水板的下側。
作為優化,所述沖洗組件包括連接水管和噴水頭,所述連接水管的一端穿過所述擋板設置于所述過濾腔的下部,所述連接水管的上端設置于所述濾水板的下側,所述連接水管的上端連接有固定座,所述噴水頭與所述固定座轉動連接,所述噴水頭與所述固定座的連接軸上連接有清洗電機,所述噴水頭的噴水端朝向所述濾水板的下側設置,所述連接水管上連接有電磁閥。
作為優化,與所述排水盤相鄰的所述固定板外側設有限位滑塊和若干個排水口,所述排水盤的內側設有限位滑軌,所述限位滑塊與所述限位滑軌滑動連接,所述排水口與所述排水管相對設置。
作為優化,所述濾水板包括架體和濾網,所述濾網固定于所述架體的內部,所述架體與所述分隔板遠離轉動方向的一側轉動連接。
作為優化,兩個所述支撐座的底部設有稱重傳感器。
本方案的有益效果:
通過支撐座對過濾部分進行支撐,過濾部分的內部設置多個濾水板,通過驅動電機帶動過濾部分轉動,使多個濾水板交替進行濾水工作,提高建筑工地廢水處理效率,在轉動過程中,通過沖洗組件對濾水板的底面進行高效沖洗,防止濾水板產生堵塞,保障過濾部分的高效工作。
(發明人:翟寶勇;王瑞杰;李潘;張新濤;梁慶慶;王星輝;崔秀峰)






