公布日:2023.08.29
申請日:2023.01.13
分類號:C02F1/12(2023.01)I;C02F1/04(2023.01)I
摘要
本發明公開了一種用于高鹽廢水的噴霧干燥處理裝置,包括干燥塔,所述干燥塔的內部設有用于高鹽廢水噴霧干燥處理的干燥腔,且干燥塔的頂部安裝有蓋板,蓋板的兩側與內部兩端設有用于蓋板拆卸的拆裝結構,所述蓋板的底部兩端固定連接有卡塊,且干燥塔的頂部表面兩端開設有用于卡塊連接的卡槽,卡槽的內部卡接有卡塊,所述蓋板的底部兩端周邊固定安裝有用于干燥塔側面貼合的卡板,卡板的一側設有螺栓;通過設置蓋板、卡塊、卡槽、卡板、螺栓和螺栓孔等部件,從而便于提高蓋板與干燥塔安裝的穩定性,且也能夠使蓋板快速脫離于干燥塔,以便對干燥塔的內部清理,進而使后續高鹽廢水處理時的效果大大提高。

權利要求書
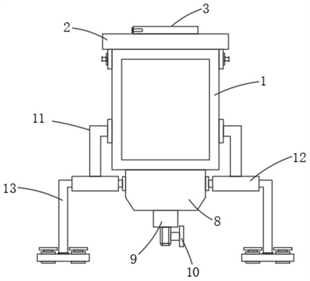
1.一種用于高鹽廢水的噴霧干燥處理裝置,包括干燥塔(1),其特征在于:所述干燥塔(1)的內部設有用于高鹽廢水噴霧干燥處理的干燥腔(5),且干燥塔(1)的頂部安裝有蓋板(2),蓋板(2)的兩側與內部兩端設有用于蓋板(2)拆卸的拆裝結構,拆裝結構包括卡塊(14)、卡槽(15)、卡板(16)、螺栓(17)和螺栓孔(18),所述蓋板(2)的底部兩端固定連接有卡塊(14),且干燥塔(1)的頂部表面兩端開設有用于卡塊(14)連接的卡槽(15),卡槽(15)的內部卡接有卡塊(14),所述蓋板(2)的底部兩端周邊固定安裝有用于干燥塔(1)側面貼合的卡板(16),卡板(16)的一側設有螺栓(17),所述干燥塔(1)的兩側上方表面開設有用于螺栓(17)連接的螺栓孔(18),且螺栓(17)貫穿卡板(16)的一端螺紋連接于螺栓孔(18)的內部。
2.根據權利要求1所述的一種用于高鹽廢水的噴霧干燥處理裝置,其特征在于:所述干燥腔(5)的內部兩側固定安裝有用于高鹽廢水噴出的霧化噴頭(6),所述干燥腔(5)內的底部設有用于高鹽廢水干燥處理后流出的出口(7)。
3.根據權利要求1所述的一種用于高鹽廢水的噴霧干燥處理裝置,其特征在于:所述干燥塔(1)的底部中心固定連接有連接座(8),且連接座(8)的底部固定安裝有用于高鹽廢水排放的排放管(9),所述排放管(9)的一側固定安裝有用于高鹽廢水排放時打開或關閉的閥門(10)。
4.根據權利要求1所述的一種用于高鹽廢水的噴霧干燥處理裝置,其特征在于:所述蓋板(2)的頂部中心固定安裝有可移動密封蓋(3),且蓋板(2)的內部中心開設有用于干燥腔(5)內部觀察的通孔(4)。
5.根據權利要求2所述的一種用于高鹽廢水的噴霧干燥處理裝置,其特征在于:所述干燥塔(1)的兩側下方固定連接有用于干燥塔(1)支撐端固定的支撐桿(11),且支撐桿(11)的一端固定安裝到支撐座(12)上。
6.根據權利要求3所述的一種用于高鹽廢水的噴霧干燥處理裝置,其特征在于:所述連接座(8)的兩側固定安裝有用于干燥塔(1)整體支撐的支架(13),且支架(13)的頂部一端設有支撐座(12)。
7.根據權利要求6所述的一種用于高鹽廢水的噴霧干燥處理裝置,其特征在于:所述支架(13)的底部固定安裝有安裝座(19),且安裝座(19)的頂部兩端安裝有用于按鈕(21)放置安裝的連接塊(20)。
8.根據權利要求7所述的一種用于高鹽廢水的噴霧干燥處理裝置,其特征在于:所述連接塊(20)的頂部活動安裝有按鈕(21),按鈕(21)的一端固定連接有復位彈簧(22),且復位彈簧(22)的一端固定連接有用于地面穩定固定的吸板(23)。
發明內容
本發明的目的在于提供一種用于高鹽廢水的噴霧干燥處理裝置,通過設置蓋板、卡塊、卡槽、卡板、螺栓和螺栓孔等部件,從而便于提高蓋板與干燥塔安裝的穩定性,且也能夠使蓋板快速脫離于干燥塔,以便對干燥塔的內部進行清理,進而使后續高鹽廢水處理時的效果大大提高。
以解決上述背景技術中提出現有技術中不便對其內部進行清理,從而降低后續廢水干燥處理時的效果的問題。
為實現上述目的,本發明采用了如下技術方案:
一種用于高鹽廢水的噴霧干燥處理裝置,包括干燥塔,所述干燥塔的內部設有用于高鹽廢水噴霧干燥處理的干燥腔,且干燥塔的頂部安裝有蓋板,蓋板的兩側與內部兩端設有用于蓋板拆卸的拆裝結構,拆裝結構包括卡塊、卡槽、卡板、螺栓和螺栓孔,所述蓋板的底部兩端固定連接有卡塊,且干燥塔的頂部表面兩端開設有用于卡塊連接的卡槽,卡槽的內部卡接有卡塊,所述蓋板的底部兩端周邊固定安裝有用于干燥塔側面貼合的卡板,卡板的一側設有螺栓,所述干燥塔的兩側上方表面開設有用于螺栓連接的螺栓孔,且螺栓貫穿卡板的一端螺紋連接于螺栓孔的內部。
優選的,所述干燥腔的內部兩側固定安裝有用于高鹽廢水噴出的霧化噴頭,所述干燥腔內的底部設有用于高鹽廢水干燥處理后流出的出口。
優選的,所述干燥塔的底部中心固定連接有連接座,且連接座的底部固定安裝有用于高鹽廢水排放的排放管,所述排放管的一側固定安裝有用于高鹽廢水排放時打開或關閉的閥門。
優選的,所述蓋板的頂部中心固定安裝有可移動密封蓋,且蓋板的內部中心開設有用于干燥腔內部觀察的通孔。
優選的,所述干燥塔的兩側下方固定連接有用于干燥塔支撐端固定的支撐桿,且支撐桿的一端固定安裝到支撐座上。
優選的,所述連接座的兩側固定安裝有用于干燥塔整體支撐的支架,且支架的頂部一端設有支撐座。
優選的,所述支架的底部固定安裝有安裝座,且安裝座的頂部兩端安裝有用于按鈕放置安裝的連接塊。
優選的,所述連接塊的頂部活動安裝有按鈕,按鈕的一端固定連接有復位彈簧,且復位彈簧的一端固定連接有用于地面穩定固定的吸板。
本發明的技術效果和優點:本發明提出的一種用于高鹽廢水的噴霧干燥處理裝置,與現有技術相比,具有以下有點:
本發明通過設置蓋板、卡塊、卡槽、卡板、螺栓和螺栓孔等部件,通過設置蓋板,從而便于使其對干燥塔的頂部起到封閉的作用,且也便于使其拆卸對干燥塔的內部進行清理的作用;通過卡塊與卡槽等部件配合使用,從而便于使蓋板起到拆卸與安裝的作用,且也提高蓋板與干燥塔的密封性;通過卡板、螺栓和螺栓孔等部件配合使用,從而便于對蓋板與干燥塔安裝時,提高其安裝的穩定性,且也能夠使蓋板快速脫離于干燥塔,以便對干燥塔的內部進行清理,進而使后續高鹽廢水處理時的效果大大提高。
(發明人:劉鑫;劉燦明;侯清;徐湧;陳燦龍;高松;肖麗娜;商凈華)






