目前水解酸化池排泥采用靜壓排泥時主要做法有以下幾種:
第一種方案是對水解酸化池進行切割成小的單體并行運行,每個小單體都在底部設錐形排泥斗,這樣造成水解酸化池的土建投資較大;
第二種是采用較為中型水解酸化池,在底部設計集泥溝,敷設穿孔排泥管進行排泥,這種排泥方式往往
造成水解酸化池排泥不均勻,即靠近出口處排泥多,遠端排泥量較少。
第三種是在水解酸化池一端設置集泥斗,通過刮泥設備將污泥集中到集泥斗內,然后通過靜壓排泥,這種設計造成設備投資大,運行維護成本高。
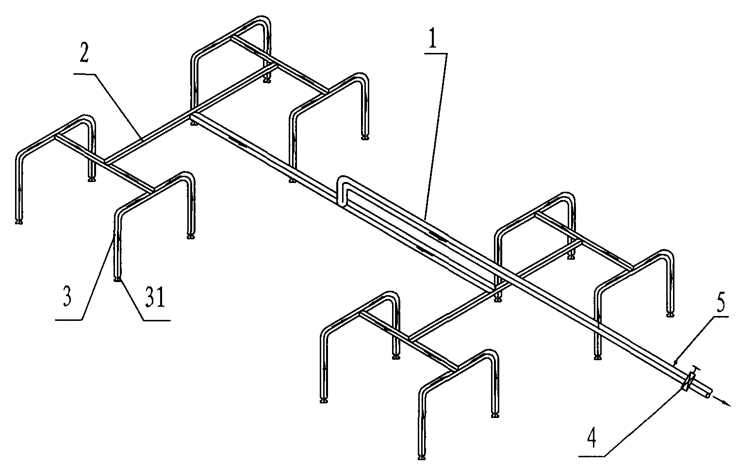
水解酸化池排泥裝置,該裝置包括排泥主管、排泥支管、吸泥管、氣動排泥閥,所述吸泥管的下端開設有可吸取酸化池底部淤泥的吸泥口,其上端與排泥支管連通;所述排泥支管另一端與排泥主管連通;所述氣動排泥閥串接在排泥主管上。本實用新型產品采用靜壓排泥,解決了大規模高濃度污水處理中大面積水解酸化池排泥問題,主要是通過合理的布置污泥斗,科學設置吸泥口,采用新型材料最大限度降低水力損失,實現排泥的等程、同效、小水損、耐腐蝕、易操作、疏通方便。
新型的大面積水解酸化池排泥裝置,其特征在于:該裝置包括有排泥主管、排泥支管、吸泥管、氣動排泥閥,所述吸泥管的下端開設有可吸取酸化池底部淤泥的吸泥口,其上端與排泥支管連通;所述排泥支管另一端與排泥主管連通;所述氣動排泥閥串接在排泥主管上。
【問題】購買能處理的設備要多少錢?
一般需考慮以下因素:
1.廢水水質
2.污水處理程度
3.建設及運行費用
4.工程施工難易程度
5.當地的自然和社會條件
6.污水的水量
7.處理過程是否產生新污染物
綜合以上因素制定合理的方案,才能定出合適的設備報價。
