氧化還原電位(ORP)測量在火電廠的制水系統中應用較多,其可用于監測反滲透進水的氧化還原性能,據此調整殺菌劑和還原劑的投加量。為控制微生物增長,通常會在水的預處理過程中加入殺菌劑,如氯氣、次氯酸鈉、溴化物和過氧化物等。在反滲透進水處,若水體中殘余的殺菌劑含量超標,氧化性過強,容易產生活性自由基,與反滲透膜材料發生鏈引發反應和鏈轉移反應,導致膜氧化和水解,影響膜的性能和壽命。此外,在反滲透進水中通常加入一定量的還原劑,如亞硫酸鈉和亞硫酸氫鈉等,但還原劑的加入并非越多越好,還原劑加入過多,會形成硫酸鹽沉淀。為有效控制殺菌劑和還原劑的加入量,防止反滲透膜的不可逆損害,有必要監測反滲透進水的ORP〔1〕。據調研,較多電廠ORP表的測量值與加藥量不能準確對應,導致ORP表未能發揮應有的作用。而國內現無相關的行業標準,對反滲透進水在線ORP測量的研究也較少。為探究ORP表測量值與加藥量不能準確對應的原因,需對實際工況下ORP測量的影響因素進行研究,包括電極表面狀態,水體的pH、氧分壓、流速和溫度等。
火電廠反滲透進水并未進行除氧,ORP表一般也不具有溫度補償功能。本研究采用NaCl溶液模擬火電廠制水系統中無殘余殺菌劑的反滲透進水,先進行靜態試驗,分析溫度和溶解氧對NaCl溶液中ORP測量的影響,再進行動態試驗,模擬冬夏兩季電廠在線監測反滲透進水ORP的情況,并對ORP電極的正確使用提出建議。
1 試驗
1.1 試驗儀表
UDA2182型ORP表,美國Honeywell公司生產,ORP電極為復合式,其測量電極為鉑電極,參比電極為浸在KCl飽和液中的Ag/AgCl電極。770MAX型溶解氧表,瑞士Mettler?鄄Toledo公司生產。
1.2 試驗溶液
據調研,現今電廠制水系統中所用殺菌劑通常為次氯酸鈉,還原劑為亞硫酸鈉,兩者反應會生成NaCl和Na2SO4.從某3個電廠反滲透進水水質分析報告(見表 1)可知,反滲透進水中含有多種離子,電廠不同,各離子的含量也有較大差異,但其中Na+和Cl-含量都較高。因此,本試驗采用0.001 mol/L的NaCl溶液模擬余氯為0時的反滲透進水,電導率約為130 μS/cm,pH約為7.

1.3 試驗方法
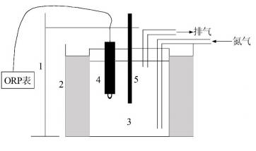
靜態試驗裝置如圖 1所示。

靜態試驗裝置如圖 1所示。
1-鐵架臺;2-水浴鍋;3-試驗溶液;4-復合式ORP電極;5-溫度計。
通過水浴鍋調節試驗溶液的溫度,從室溫(約15 ℃)升高至25、30、35 ℃,觀察ORP表測量值隨溫度的變化。向瓶口密封且恒溫在25 ℃的試驗溶液中連續通入純度不低于99.99%的氮氣,以除去水中的溶解氧,觀察ORP表測量值在此過程中的變化。動態試驗流路如圖 2所示。

圖 2 動態試驗流路
將試驗環境溫度分別控制在14、28 ℃,以模擬電廠反滲透進水在冬夏兩季由于溫度差異而引起的ORP的不同。ORP表的流速用流量計控制在6 L/h.
2 結果與討論
2.1 理論分析
對于某特定的氧化還原電對,ORP的大小遵循能斯特方程。火電廠反滲透進水中所含離子較多,水體較復雜,可能存在多種氧化還原電對,其ORP為所有氧化還原電對達到平衡時的混合電位,與各電對在溶液中的濃度和反應速度均有關系〔2〕,故很難對ORP值進行理論計算。由于反應較多,無法進行自動溫度補償,故溫度對反滲透進水ORP的測量會有一定的影響。
在模擬反滲透進水的NaCl溶液中,主要存在的氧化還原電對為O2/OH-,其平衡反應:
O2/OH-的平衡電位:

式中:Eθ——標準電極電位,V;
R——通用氣體常數,8.315 J/(K·mol);
T——試驗溶液的絕對溫度,K;
F——法拉第常數,96 484.6 C/mol;
P(O2)——氧的絕對壓力,atm(1atm = 0.101 3 MPa);
c(OH-)——OH-濃度,mol/L.
ORP與氧化還原電對的反應速度有關,鉑電極上O2/OH-的反應是一個很慢的反應,即使在氧質量濃度高達10 mg/L時,ORP也不會達到O2/OH-的平衡電位,故NaCl溶液的ORP小于按式(2)計算得出的EOER〔2〕。由式(2)可知,EOER隨著P(O2)的增大而增大,隨著T和pH的增大而減小,ORP也應具有相同的變化趨勢。參照式(2),可對ORP有定性的了解,但定量數據需通過試驗測得。電廠反滲透進水的pH通常控制在7~8,變化不大,而各地電廠通常會由于季節變換其水體溫度發生不同程度的變化,溫度的改變還會引起溶解氧濃度的改變,故需通過模擬試驗研究溫度和溶解氧對ORP的影響。
2.2 靜態試驗
根據電廠反滲透進水處實際測量溫度的可能變化范圍,利用水浴鍋將溶液溫度從15 ℃升至35 ℃,考察溫度對ORP靜態測量值的影響,結果如圖 3所示。

圖 3 ORP靜態測量值和溫度的關系
由圖 3可知,ORP隨著溫度的升高而降低,與2.1中的理論分析相符。表 2為4種溫度下基本趨于穩定的ORP表測量值,從15 ℃到35 ℃,ORP表測量值降低了30 mV,減小約12%.
![]()
通高純氮除氧,考察溶解氧對ORP靜態測量值的影響,結果如圖 4所示。

圖 4 通氮除氧過程中ORP靜態測量值的變化(25 ℃)
由圖 4可以看出,隨著通氮除氧過程的進行,ORP表測量值不斷減小,最小值為104 mV,為除氧前的37%,此變化趨勢也與2.1中的理論分析相符。整個除氧過程中,ORP表測量值減小約170 mV,表明若反滲透進水的溶解氧波動較大,會對ORP測量產生較大影響。
2.3 動態試驗
圖 5為14 ℃和28 ℃下NaCl溶液ORP的動態測量結果,同時監測了溶解氧含量的變化。

圖 5 動態試驗結果
由圖 5可知,2種溫度下溶解氧含量的差異較大,14 ℃下的溶解氧為9.7~9.9 mg/L,28 ℃下的溶解氧為7.1~7.3 mg/L,溫度和溶解氧含量的差異共同導致了ORP表測量值的變化,28 ℃時的ORP較 14 ℃時降低34 mV,減小約17%.ORP表在動態模擬反滲透進水的ORP測量值時穩定性較好,波動范圍不超過15 mV.
2.4 電極表面狀態
在進行ORP靜態試驗時,發現ORP測量值的重現性并不理想,結果如表 3所示。

由表 3可知,ORP的最大測量值與最小測量值之間的差值達25 mV.O2/OH-為反應緩慢的弱平衡體系,ORP電極上若吸附某些雜質或氣泡會影響其電子交換速率,增大測定誤差。此試驗過程中,ORP電極在測量前僅按常規方法用除鹽水進行了沖洗,而ORP電極的測量電極為鉑電極,鉑金屬表面并非完全惰性,會緩慢生成氧化膜,并很難保證表面絕對光潔,通常會存在凹槽或劃痕,容易吸附測試溶液中的物質,即使被反復沖洗也可能無法洗凈,此時電極會有“記憶效應”,尤其當測量完濃度相對較高的溶液后就立即測量濃度相對較低的某溶液〔3〕。為使測試結果準確,當待測溶液的濃度或氧化還原性變化較大時,需使用牙膏等溫和磨料對鉑電極表面進行清洗,并將鉑電極在待測溶液中進行多次浸泡和沖洗。對電極表面進行充分清潔處理后進行了重復測量,結果如表 4所示。具體參見http://www.dongaorq.cn更多相關技術文檔。

由表 4可以看出,重現性較好,4次測量值之間的差值不超過7 mV.
3 結論和建議
(1)靜態試驗結果表明,溫度和溶解氧對電廠反滲透進水ORP的測量具有一定的影響,隨著溫度的升高和溶解氧的降低,ORP測量值降低。當溫度從15 ℃升至35 ℃時,ORP降低了12%;通高純氮除氧,ORP可降低至除氧前的37%。
(2)動態模擬冬夏兩季電廠在線監測反滲透進水ORP,結果表明,溫度為28 ℃時的ORP測量值比溫度為14 ℃時降低了17%,ORP表的動態測量穩定性較好。
(3)ORP電極表面狀態對測量的影響較大,需通過充分清洗保證金屬電極表面的潔凈。
(4)為提高電廠反滲透進水ORP測量的準確性,以正確反映殺菌劑和還原劑含量的波動,宜定期對電極進行清洗,并最好使ORP表測試水樣的溫度和溶解氧基本保持不變;若無法進行恒溫處理,且該地區不同季節的溫差又較大,則需制定對應不同季節的ORP控制值,防止藥劑超標時,因溫度升高導致ORP測量值偏低而誤以為合格。


