申請日2017.09.29
公開(公告)日2017.12.15
IPC分類號C02F9/14; C02F101/30
摘要
本發明涉及污水處理領域,公開了一種進出水自控污水處理系統,污水先從污水池進入,在污水池中進行初步沉淀過濾,然后從污水池兩側滲入到溢流池,污水在污水池和溢流池中經過厭氧處理,再從溢流池溢流到滅菌池,污水在滅菌池經過滅菌處理,然后再從滅菌池抽入到沉淀池進行最后凈化,熱泵裝置對污水池、溢流池、滅菌池和沉淀池內污水進行吸熱并加以利用,進水裝置對沉淀池內污水進行監測,同時控制污水池進水和沉淀池出水,控制污水處理時間,結構和功能合理,污水的凈化效果理想。
權利要求書
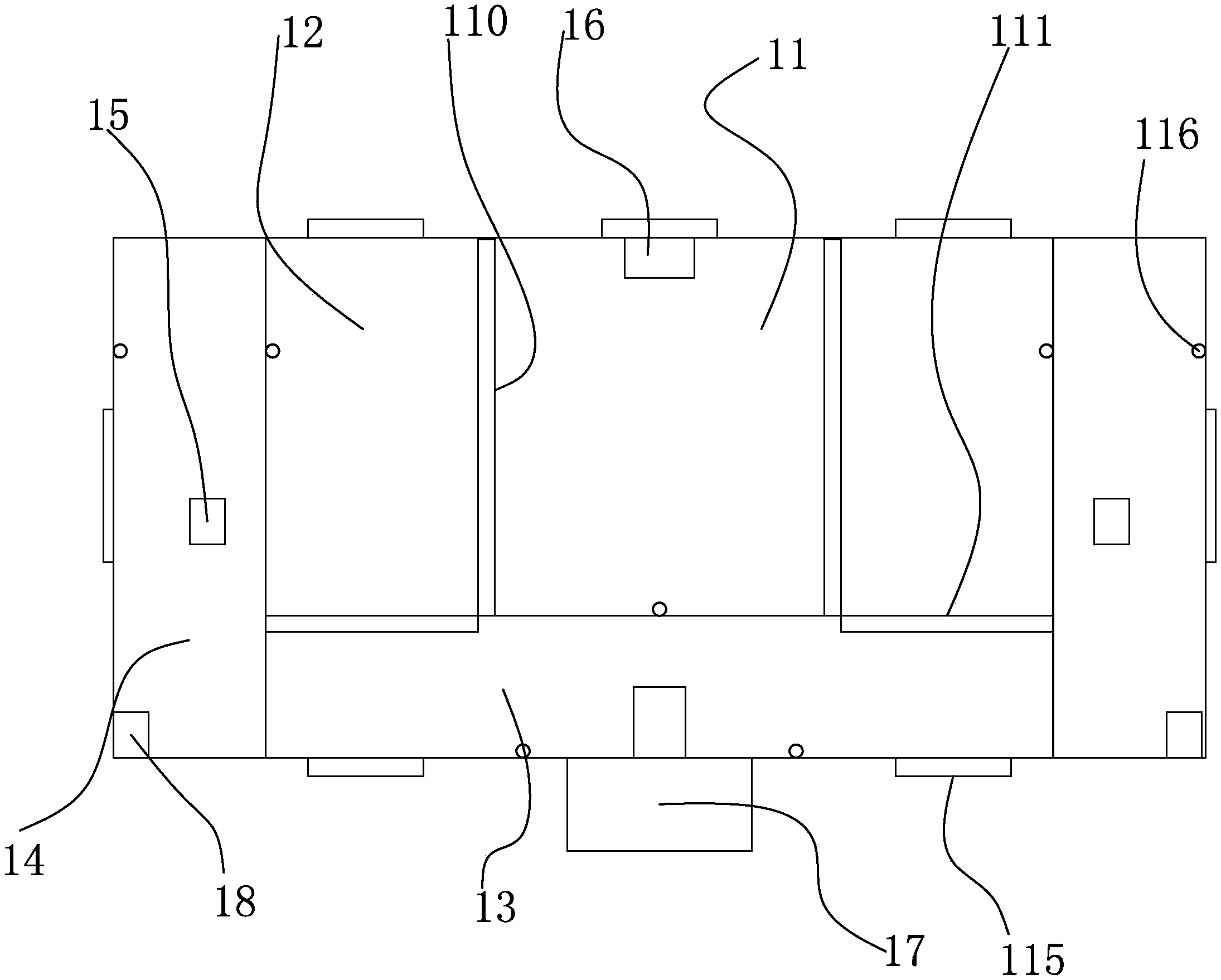
1.一種進出水自控污水處理系統,其特征在于:包括有依次連接的污水槽(20)、固液過濾分離器(21)、氣浮機(22)、一次回收池(23),所述固液過濾分離器(21)與氣浮機(22)之間設有流量調節池(24),所述一次回收池(23)連接有初沉池(25),所述初沉池(25)連接有生化處理池(27),所述生化處理池(27)連接有二沉池(26),所述二沉池(26)設有清水管(28),所述清水管(28)連接有二次回收池(29),所述二沉池(26)與生化處理池(27)連接,所述生化處理池(27)包括有污水池(11)、熱泵裝置和進水裝置,所述污水池(11)兩側連通設置有溢流池(12),所述溢流池(12)前連通設置有滅菌池(13),所述滅菌池(13)兩側連通設置有沉淀池(14),所述熱泵裝置分別與污水池(11)、溢流池(12)、滅菌池(13)、沉淀池(14)相連接,所述進水裝置分別與污水池(11)、沉淀池(14)相連接,所述進水裝置設置有進水控制器(17),所述沉淀池(14)內設置有水質檢測器(15)和抽水閥(18),所述污水池(11)設置有進水控制閥(16),所述進水控制器(17)分別與水質檢測器(15)、進水控制閥(16)、抽水閥(18)相連接,所述熱泵裝置包括有污水源換熱器(19),所述污水源換熱器(19)分別設置在污水池(11)、溢流池(12)、滅菌池(13)、沉淀池(14)內。
2.根據權利要求1所述的一種進出水自控污水處理系統,其特征在于:所述污水池(11)、溢流池(12)、滅菌池(13)、沉淀池(14)分別設置有觀察清理窗(115)。
3.根據權利要求1或2所述的一種進出水自控污水處理系統,其特征在于:所述污水池(11)、溢流池(12)、滅菌池(13)、沉淀池(14)分別設置有溫度傳感器(116),所述溫度傳感器(116)與熱泵裝置相連接。
說明書
一種進出水自控污水處理系統
技術領域
本發明涉及污水處理領域,具體來說是一種進出水自控污水處理系統。
背景技術
污水處理:為使污水達到排水某一水體或再次使用的水質要求對其進行凈化的過程。污水處理被廣泛應用于建筑、農業、交通、能源、石化、環保、城市景觀、醫療、餐飲等各個領域,也越來越多地走進尋常百姓的日常生活,隨著經濟的發展,污水處理問題也越來越嚴峻,對于污水處理,需要經過多道處理工序,如固液過濾分離、回收和流量調節等,其中就有需要將污水引入生化處理池,由生化處理池對污水進行凈化,現有技術中的生化處理池結構和功能單一,污水的凈化效果不理想。
發明內容
為了克服現有技術的不足,本發明提供一種進出水自控污水處理系統,通過污水池、溢流池、滅菌池、沉淀池、熱泵裝置和進水裝置對污水進行處理,結構和功能合理,污水的凈化效果理想。
本發明解決其技術問題所采用的技術方案:
一種進出水自控污水處理系統,包括有依次連接的污水槽、固液過濾分離器、氣浮機、一次回收池,所述固液過濾分離器與氣浮機之間設有流量調節池,所述一次回收池連接有初沉池,所述初沉池連接有生化處理池,所述生化處理池連接有二沉池,所述二沉池設有清水管,所述清水管連接有二次回收池,所述二沉池與生化處理池連接,所述生化處理池包括有污水池、熱泵裝置和進水裝置,所述污水池兩側連通設置有溢流池,所述溢流池前連通設置有滅菌池,所述滅菌池兩側連通設置有沉淀池,所述熱泵裝置分別與污水池、溢流池、滅菌池、沉淀池相連接,所述進水裝置分別與污水池、沉淀池相連接,所述進水裝置設置有進水控制器,所述沉淀池內設置有水質檢測器和抽水閥,所述污水池設置有進水控制閥,所述進水控制器分別與水質檢測器、進水控制閥、抽水閥相連接,所述熱泵裝置包括有污水源換熱器,所述污水源換熱器分別設置在污水池、溢流池、滅菌池、沉淀池內,所述污水池與溢流池間設置有可抽插的濾網板,所述溢流池前端設置有溢流墻,所述滅菌池內設置有培養基,所述沉淀池內設置有蜂窩管,所述溢流池內設置有填料層,所述填料層通過連接繩相連接,所述污水源換熱器連接有壓縮機,所述壓縮機連接有冷凝器,所述冷凝器與沉淀池相連接,所述冷凝器連接有節流閥。
進一步地,所述污水池、溢流池、滅菌池、沉淀池分別設置有觀察清理窗。
更進一步地,所述污水池、溢流池、滅菌池、沉淀池分別設置有溫度傳感器,所述溫度傳感器與熱泵裝置相連接。
本發明的有益效果是:污水先從污水池進入,在污水池中進行初步沉淀過濾,然后從污水池兩側滲入到溢流池,污水在污水池和溢流池中經過厭氧處理,再從溢流池溢流到滅菌池,污水在滅菌池經過滅菌處理,然后再從滅菌池抽入到沉淀池進行最后凈化,熱泵裝置對污水池、溢流池、滅菌池和沉淀池內污水進行吸熱并加以利用,進水裝置對沉淀池內污水進行監測,同時控制污水池進水和沉淀池出水,控制污水處理時間,結構和功能合理,污水的凈化效果理想。



