申請日2016.05.17
公開(公告)日2016.10.05
IPC分類號C02F11/14
摘要
本實用新型公開一種分段式污泥干燥器,包括恒速干燥管、旋風分離器、降速干燥管、分離段等;所述恒速干燥管套接在降速干燥管中,一次蒸汽入口和污泥噴嘴位于恒速干燥管下端,恒速干燥管上端連接旋風分離器入口,旋風分離器下端連接降速干燥管;所述的降速干燥管上端有二次蒸汽入口,下端連接分離段。本實用新型采用過熱蒸汽作為干燥介質,全程封閉,無廢氣無污染,具有干燥速率快、節能環保、占地面積小、安全性高等優點,干燥后的污泥顆粒表面無硬化現象,且具有多孔性特點,有利于后續過程的無害化處理。
權利要求書
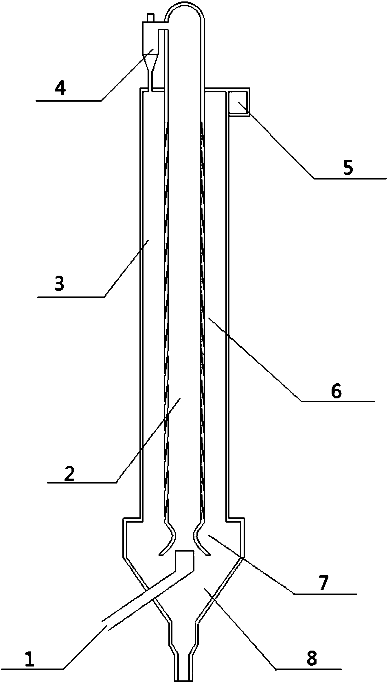
1.一種分段式污泥干燥器,包括:一次蒸汽入口(1)、恒速干燥管(2)、降速干燥管(3)、旋風分離器(4)、二次蒸汽入口(5)、防粘壁開槽(6)、喉管(7)、分離段(8);其特征在于:所述的恒速干燥管(2)固套在降速干燥管(3)中,一次蒸汽入口(1)和污泥噴嘴(圖中未顯示)固定于喉管(7)處,恒速干燥管(2)上端連接旋風分離器(4)入口,旋風分離器(4)下端連接降速干燥管(3),所述的降速干燥管(3)上端接有二次蒸汽入口(5),下端連接分離段(8)。
2.根據權利要求1所述的一種分段式污泥干燥器,其特征在于:干燥介質采用過熱蒸汽,新鮮蒸汽溫度400℃左右,排出的蒸汽在120℃左右。
3.根據權利要求1所述的一種分段式污泥干燥器,其特征在于:恒速干燥管(2)固套在降速干燥管(3)中。
4.根據權利要求1所述的一種分段式污泥干燥器,其特征在于:恒速干燥管(2)、降速干燥管(3)間通過旋風分離器連接。
5.根據權利要求1所述的一種分段式污泥干燥器,其特征在于:恒速干燥管(2)下端接有喉管(7)。
6.根據權利要求1所述的一種分段式污泥干燥器,其特征在于:恒速干燥管(2)管壁上有防粘壁開槽(6)。
說明書
一種分段式污泥干燥器
技術領域
本實用新型涉及一種分段式污泥干燥器,主要是用于造紙污泥的無害化處理,屬于環保污泥處理技術領域。
背景技術
紙作為文明的一種載體,其制造工藝不斷發展,造紙污泥的產生量也日益增加,污泥中一般都含有許多病原菌、寄生蟲、致病微生物,以及難分解的有機毒物,如果得不到合理處理,就會對環境造成巨大的危害。隨著我國環保意識的增強,一些傳統的處理方式因達不到處理要求而被逐漸禁止,因此探索高效環保的處理方式迫在眉睫。
目前我國造紙污泥處理手段以填埋、堆肥、干化、焚燒為主,還包括制造造紙填料、制造活性炭、生產乙酸乙醇等其他利用技術,對于大多數處理方式特別是焚燒和熱解,都要求污泥有較低的含水量。造紙污泥的脫水一般分為機械脫水和干燥兩個過程,機械脫水后的污泥仍然具有較高的含水量,如果采用板帶式壓濾機等深度脫水方式,污泥的含水量也只能降低到70%左右,臥螺式離心機等機械脫水后含水率更高。污泥在高含水量的條件下無法進行進一步無害化處理,因此,機械脫水后的污泥必須采用干燥的方式進一步降低含水量,F有的污泥熱干燥技術可以分為直接加熱式、間接加熱式、直接—間接聯合式。目前常用的直接干燥設備有回轉窯干燥器、流化床干燥器、閃式干燥器、轉筒式干燥器、帶式干燥器和多效蒸發器等。此技術熱傳遞效率和蒸發速率都較高,但是由于熱介質與污泥直接接觸會產生廢氣,排出的廢水和廢氣需要經過無害化處理。薄膜干燥器以及各種各樣的轉盤漿板干燥器屬于間接加熱式的干燥器,此技術雖然熱介質能夠循環使用,運行管理也較為方便,但是熱傳輸效率和蒸發速率不如直接加熱式。
從各種污泥干燥的使用情況看,現有的污泥干燥器仍然存在著一些問題,這些問題制約著污泥的無害化處理,一些單位仍然選擇填埋這種原始的方式處理有機污泥,對環境造成了巨大的污染,因此有必要開發一種新型高效環保的污泥干燥器,為污泥的進一步無害化處理打下基礎。
發明內容
本實用新型的目的在于提供一種分段式污泥干燥器,將過熱蒸汽干燥技術與干燥分段現象相結合,充分發揮過熱蒸汽干燥節能效果好、傳熱傳質效率高、無二次污染等優點;
提供一種分段式污泥干燥器,將噴霧干燥的特點和旋風分離器的流場特點結合起來,降低操作費用;
提供一種分段式污泥干燥器,干燥過程全封閉,干燥器內不含氧,不外排臭氣,安全性高;
提供一種分段式污泥干燥器,干燥過程分為恒速干燥段和降速干燥段進行,整體上增加了污泥的干燥時間,進一步降低污泥含水率;
提供一種分段式污泥干燥器,恒速干燥管套接在降速干燥管中,減小占地面積,節約空間;
本實用新型的目的通過下述技術方案實現:一種分段式污泥干燥器,包括恒速干燥管、旋風分離器、降速干燥管、分離段;所述恒速干燥管套接在降速干燥管中,一次蒸汽入口和污泥噴嘴位于恒速干燥管下端,其上端連接旋風分離器入口,旋風分離器下端連接降速干燥管;所述的降速干燥管上端有二次蒸汽入口,下端連接分離段。進入噴嘴的污泥預先經過機械脫水,含水量為80%左右,霧化后形成的污泥顆粒直徑為1-2mm。
所述的一次蒸汽攜帶著污泥顆粒進入喉管形成一次混合氣,一次混合氣在喉管處產生噴射效應,混合氣流速下降、壓力降低,同時進入恒速干燥管干燥。一次混合氣到達恒速干燥管頂端后,進入旋風分離器進行氣固分離,分離后的蒸汽進入余熱回收系統或再循環系統,分離后的污泥顆粒與二次蒸汽混合形成二次混合氣。二次混合氣進入降速干燥管進行二次干燥,到達降速干燥管底端后,一部分干燥良好的污泥顆粒粉塵和尚有高熱值的二次蒸汽會被吸入喉管,干燥良好的粉塵與新鮮濕污泥顆粒碰撞結合,能減弱濕污泥的粘壁效果;高熱值的二次蒸汽也被再次利用;另一部分結團較大的顆粒降至分離段,隨后排出系統。為防止剛進入恒速干燥管的濕污泥顆粒粘附壁管,恒速干燥管上有防粘壁開槽。



