申請日2016.05.09
公開(公告)日2016.10.12
IPC分類號C02F11/12
摘要
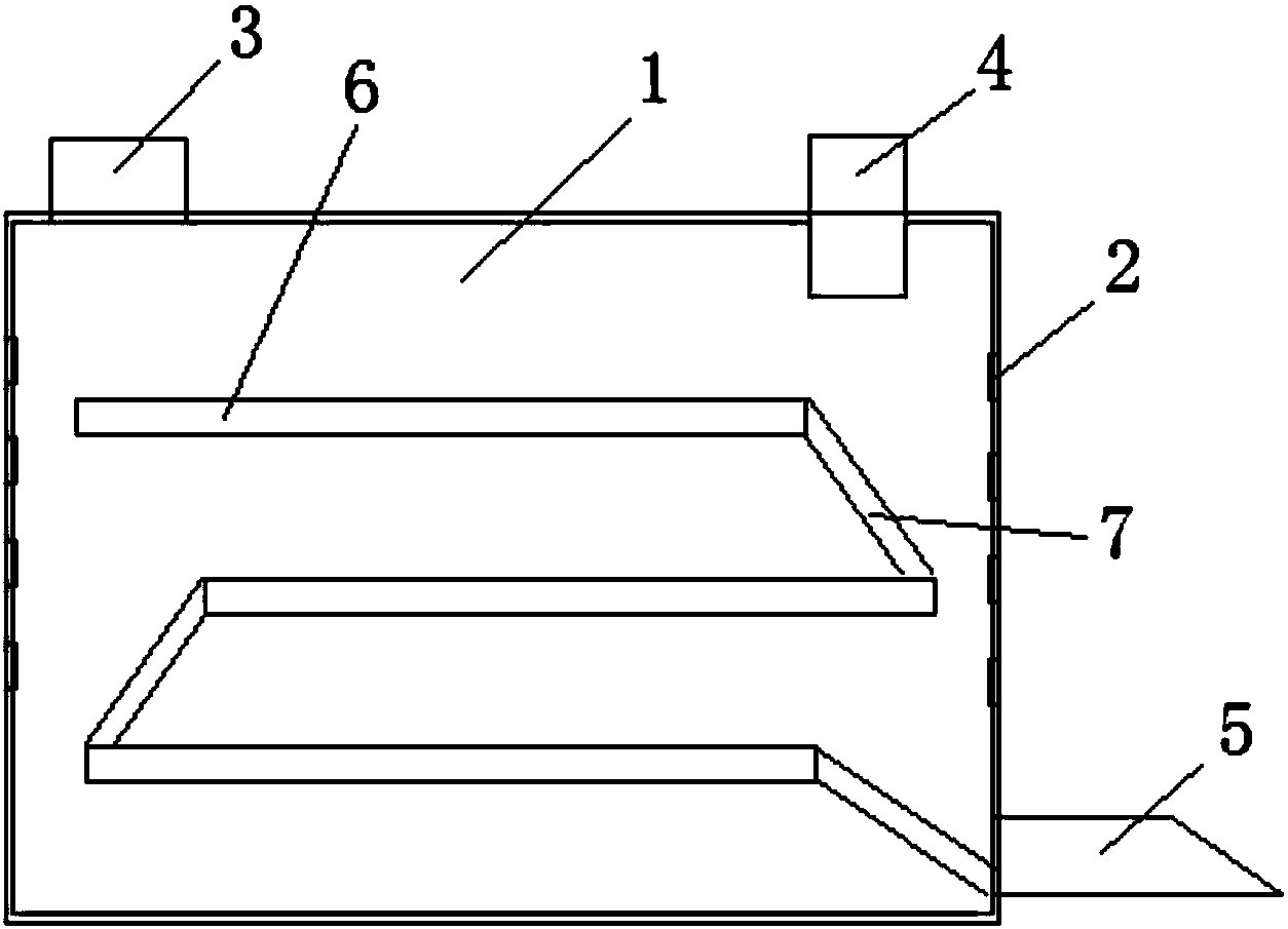
本實用新型涉及一種帶式污泥干化裝置,包括干化箱,以及設于所述干化箱內的帶式輸送系統,所述干化箱的箱體壁為中空結構,所述箱體壁內分布有熱氣輸送管道,所述箱體壁上設有多個與所述熱氣輸送管道連通的熱氣噴射口,所述干化箱的頂部設有入泥口和出風口,所述干化箱的底部設有出泥口,所述帶式輸送系統包括多層平面輸送帶和用于連接所述平面輸送帶的傾斜連接輸送帶,所述平面輸送帶為S型且相鄰上下層的所述平面輸送帶通過所述傾斜連接輸送帶首尾連接。與已有技術相比,本實用新型的有益效果在于:提升壓濾脫水效果且綠色環保,降低能耗量,提高工作效率,節約成本。
權利要求書
1.一種帶式污泥干化裝置,其特征在于,包括干化箱(1),以及設于所述干化箱(1)內的帶式輸送系統,所述干化箱(1)的箱體壁為中空結構,所述箱體壁內分布有熱氣輸送管道,所述箱體壁上設有多個與所述熱氣輸送管道連通的熱氣噴射口(2),所述干化箱(1)的頂部設有入泥口(3)和出風口(4),所述干化箱(1)的底部設有出泥口(5),所述帶式輸送系統包括多層平面輸送帶(6)和用于連接所述平面輸送帶(6)的傾斜連接輸送帶(7),所述平面輸送帶(6)為S型且相鄰上下層的所述平面輸送帶(6)通過所述傾斜連接輸送帶(7)首尾連接。
2.如權利要求1所述帶式污泥干化裝置,其特征在于,所述帶式輸送系統包括三至四層平面輸送帶(6),所述平面輸送帶(6)的表面粗糙。
說明書
一種帶式污泥干化裝置
技術領域
本實用新型涉及污泥處理技術領域,尤其涉及一種帶式污泥干化裝置。
背景技術
隨著工業化、城鎮化的進展,相應的污水、污泥生產量也隨之迅速增加,目前,我國年產生污泥4000萬噸(含水率80%),預計至2020年,我國年產生污泥超過6000萬噸(含水率80%)。污水處理產生的污泥,富含有機質成分,又含有一定量的重金屬、病原體等有害物質,污泥的二次污染問題突出。目前,我國產生的污泥主要去向是垃圾填埋場進行填埋。隨著污水處理率的不斷提高,所產生的大量污泥會占用大量的垃圾填埋場,同時,適宜的垃圾填埋場所也越來越有限,因此,污泥的處理是固體廢棄物處置研究熱點,污泥的減量化、無害化、資源化處理是各國共同努力的目標。降低污泥的含水率和減小污泥體積,首先實現減量化,是實現污泥處理的關鍵,目前的污泥處理技術仍然存在工作效率低,降低含水率效果不明顯且能耗量過大的缺陷。
實用新型內容
有鑒于此,本實用新型的目的是提供一種帶式污泥干化裝置,以解決現有技術中的不足。
為了達到上述目的,本實用新型的目的是通過下述技術方案實現的:
一種帶式污泥干化裝置,其中,包括干化箱,以及設于所述干化箱內的帶式輸送系統,所述干化箱的箱體壁為中空結構,所述箱體壁內分布有熱氣輸送管道,所述箱體壁上設有多個與所述熱氣輸送管道連通的熱氣噴射口,所述干化箱的頂部設有入泥口和出風口,所述干化箱的底部設有出泥口,所述帶式輸送系統包括多層平面輸送帶和用于連接所述平面輸送帶的傾斜連接輸送帶,所述平面輸送帶為S型且相鄰上下層的所述平面輸送帶通過所述傾斜連接輸送帶首尾連接。
上述帶式污泥干化裝置,其中,所述帶式輸送系統包括三至四層平面輸送帶,所述平面輸送帶的表面粗糙。
與已有技術相比,本實用新型的有益效果在于:
提升壓濾脫水效果且綠色環保,降低能耗量,提高工作效率,節約成本。



