申請日2016.05.06
公開(公告)日2016.09.21
IPC分類號C02F9/08
摘要
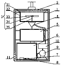
本實用新型公開了一種智能化節能污水處理裝置,包括裝置筒體、裝置翻蓋、初始過濾裝置、漏斗、液體過濾裝置、液體儲存箱、壓力感應器、液體檢測器、泵、紫外線殺菌器和出水口,所述裝置筒體的頂部固定安裝有裝置翻蓋,所述裝置翻蓋的底部活動連接有初始過濾裝置,初始過濾裝置的底部設置有漏斗,所述漏斗的下方固定連接液體過濾裝置,液體過濾裝置的與液體儲存箱相連接,所述液體儲存箱的內腔底部設置有壓力感應器和液體檢測器。本實用新型通過設置初始過濾裝置,可使較大的污染物沉積在其中,便于清理,設置螺旋板、旋轉端和支撐桿相互配合,可使水的沖刷帶動螺旋板旋轉避免初始保存箱底部的污染物堆積堵塞出口。
權利要求書
1.一種智能化節能污水處理裝置,其特征是,包括裝置筒體(1)、裝置翻蓋(2)、初始過濾裝置(3)、漏斗(4)、液體過濾裝置(5)、液體儲存箱(6)、壓力感應器(7)、液體檢測器(8)、泵(9)、紫外線殺菌器(10)和出水口(11),所述裝置筒體(1)的頂部固定安裝有裝置翻蓋(2),所述裝置翻蓋(2)的底部活動連接有初始過濾裝置(3),初始過濾裝置(3)的底部設置有漏斗(4),所述漏斗(4)的下方固定連接液體過濾裝置(5),液體過濾裝置(5)的與液體儲存箱(6)相連接,所述液體儲存箱(6)的內腔底部設置有壓力感應器(7)和液體檢測器(8),所述液體儲存箱(6)通過導管與泵(9)相連接,所述泵(9)通過導管與漏斗(4)相連接,所述導管的中間部位設置有紫外線殺菌器(10),所述裝置筒體(1)的一側開設有出水口(11)。
2.如權利要求1所述的一種智能化節能污水處理裝置,其特征是,所述初始過濾裝置(3)包括支撐板(31)、初始保存箱(32)、螺旋板(33)、旋轉端(34)和支撐桿(35),所述支撐板(31)通過支架固定安裝在裝置筒體(1)內壁頂部,所述支撐板(31)下設置有初始保存箱(32),所述初始保存箱(32)的內部中間位置設置有支撐桿(35),支撐桿(35)通過旋轉端(34)與螺旋板(33)相連接。
3.如權利要求1所述的一種智能化節能污水處理裝置,其特征是,所述液體過濾裝置(5)包括過濾裝置殼體(51)、殼體翻蓋(52)、瀝水口(53)、架板(54)、過濾板(55)和排水口(56),所述濾裝置殼體(51)的頂部設置有殼體翻蓋(52),所述濾裝置殼體(51)的內壁通過架板(54)與多個過濾板(55)相連接,所述殼體翻蓋(52)的頂部設有瀝水口(53),所述濾裝置殼體(51)的底部開設有排水口(56)。
4.一種智能化節能污水處理裝置,其特征是,包括開關系統(12)、水壓感應系統(13)、水泵(14)、紫外線殺毒系統(15)、液體檢測系統(16)、不合格(17)和合格(18),所述開關系統(12)、水壓感應系統(13)、水泵(14)、紫外線殺毒系統(15)和液體檢測系統(16)按順序連接,所述液體檢測系統(16)檢測不合格(17)和合格(18)。
說明書
一種智能化節能污水處理裝置
技術領域
本實用新型涉及一種污水處理裝置,特別是一種智能化節能污水處理裝置。
背景技術
對于工用和民用污水的處理,一種傳統的處理工藝是 :將排出的污水通過沉淀池、平流池、過濾裝置、濃縮池、泥水分離裝置等來完成污水處理的全過程,其中沉淀池是將污水在池中自然沉淀,使污水中的污物沉淀在池中底部,從而便于收集,但這種工藝設備的話占地面積大,建設費用高,設備投資大,運行成本高,對于一般的中小企業很難采用該方法進行排污處理,有一定的局限性。現有的污水處理裝置結構不合理以及智能化程度低,導致電資源的浪費,不適合當今發展需求。
發明內容
為了解決上述技術問題,本實用新型提供一種智能化節能污水處理裝置,以解決現有的污水處理裝置結構不合理以及智能化程度低,導致電資源的浪費,不適合當今發展需求的問題。一種智能化節能污水處理裝置,包括裝置筒體、裝置翻蓋、初始過濾裝置、漏斗、液體過濾裝置、液體儲存箱、壓力感應器、液體檢測器、泵、紫外線殺菌器和出水口,所述裝置筒體的頂部固定安裝有裝置翻蓋,所述裝置翻蓋的底部活動連接有初始過濾裝置,初始過濾裝置的底部設置有漏斗,所述漏斗的下方固定連接液體過濾裝置,液體過濾裝置的與液體儲存箱相連接,所述液體儲存箱的內腔底部設置有壓力感應器和液體檢測器,所述液體儲存箱通過導管與泵相連接,所述泵通過導管與漏斗相連接,所述導管的中間部位設置有紫外線殺菌器,所述裝置筒體的一側開設有出水口。
優選的,所述初始過濾裝置包括支撐板、初始保存箱、螺旋板、旋轉端和支撐桿,所述支撐板通過支架固定安裝在裝置筒體內壁頂部,所述支撐板下設置有初始保存箱,所述初始保存箱的內部中間位置設置有支撐桿,支撐桿通過旋轉端與螺旋板相連接。
優選的,所述液體過濾裝置包括過濾裝置殼體、殼體翻蓋、瀝水口、架板、過濾板和排水口,所述濾裝置殼體的頂部設置有殼體翻蓋,所述濾裝置殼體的內壁通過架板與多個過濾板相連接,所述殼體翻蓋的頂部設有瀝水口,所述濾裝置殼體的底部開設有排水口。
一種智能化節能污水處理裝置,包括開關系統、水壓感應系統、水泵、紫外線殺毒系統、液體檢測系統、不合格和合格,所述開關系統、水壓感應系統、水泵、紫外線殺毒系統和液體檢測系統按順序連接,所述液體檢測系統檢測不合格和合格。
與現有技術相比,本實用新型的有益效果為:
1.本實用新型通過設置初始過濾裝置,可使較大的污染物沉積在其中,便于清理,設置螺旋板、旋轉端和支撐桿相互配合,可使水的沖刷帶動螺旋板旋轉避免初始保存箱底部的污染物堆積堵塞出口。
2.本實用新型通過設置液體過濾裝置可使過濾板便于安放跟換,便捷了裝置的操作方式,提高工作效率。
3.本實用新型通過設置排污系統,優化的裝置工作的方式,降低了能源的消耗。



