申請日2016.05.06
公開(公告)日2016.09.28
IPC分類號C02F9/10; H02J7/35
摘要
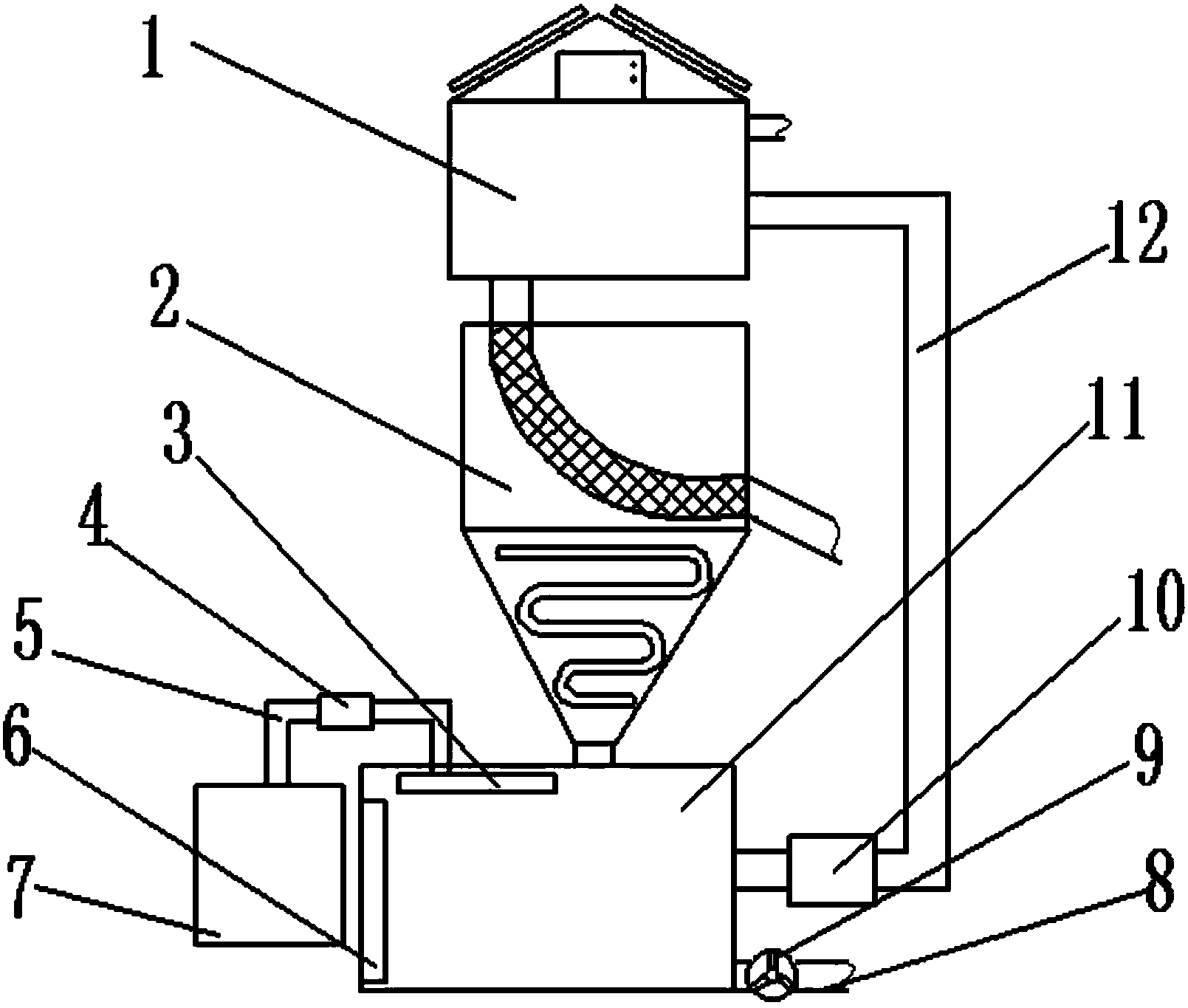
本實用新型公開了一種可循環太陽能餐飲污水處理設備,包括蓄水裝置、排泥加熱裝置、吸油裝置和循環裝置;所述蓄水裝置包括蓄水室、太陽能板、蓄電池、蓄水室頂和進水口;所述排泥加熱裝置包括加熱室、排泥室、污泥過濾層、排泥口和加熱管;所述排泥室設置在蓄水室的下方;所述排泥室內設置有污泥過濾層;所述加熱室設置在排泥室的下方,加熱室與排泥室固定連接;所述吸油裝置設置在加熱室的下方;所述吸油室另一側設置有出水口,出水口上設置有電磁閥;本實用新型的太陽能板可以將太陽能轉化成電能,使整個裝置更加的經濟環保;加熱管可以使污水中的已經凝結結塊的油污化開,處理更加到位;循環裝置使污水得到循環凈化,更加的安全。
權利要求書
1.一種可循環太陽能餐飲污水處理設備,包括蓄水裝置、排泥加熱裝置、吸油裝置和循環裝置;其特征在于,所述蓄水裝置包括蓄水室、太陽能板、蓄電池、蓄水室頂和進水口;所述蓄水室一側設置有進水口;所述排泥加熱裝置包括加熱室、排泥室、污泥過濾層、排泥口和加熱管;所述排泥室設置在蓄水室的下方;所述排泥室內設置有污泥過濾層;所述排泥室一側設置有排泥口,排泥口與污泥過濾層固定連接;所述加熱室設置在排泥室的下方,加熱室與排泥室固定連接;所述加熱室內設置有加熱管;所述吸油裝置設置在加熱室的下方;所述吸油裝置包括吸油器、油泵、吸油管、液面監測器、吸油箱、出水口、電磁閥和吸油室;所述吸油室設置在加熱室的下方;所述吸油室內部上方設置有吸油器;所述吸油器上方設置有吸油管,吸油管與吸油箱固定連接;所述吸油管上設置有油泵;所述吸油室內表面一側設置有液面監測器;所述吸油室另一側設置有出水口,出水口上設置有電磁閥。
2.根據權利要求1所述的可循環太陽能餐飲污水處理設備,其特征在于,所述蓄水室上方設置有蓄水室頂;所述蓄水室頂上設置有太陽能板;所述太陽能板下方設置有蓄電池。
3.根據權利要求1所述的可循環太陽能餐飲污水處理設備,其特征在于,所述循環裝置包括循環管和水泵;所述循環管設置在出水口的上方,循環管與蓄水室固定連接;所述循環管上設置有水泵。
說明書
一種可循環太陽能餐飲污水處理設備
技術領域
本實用新型涉及一種環保設備,具體是一種可循環太陽能餐飲污水處理設備。
背景技術
隨著我國第三產業的興起、人民生活水平的日益提高,城市飲食服務業迅速發展起來,它在繁榮城鄉經濟,豐富人民物質文化生活方面,發揮了積極的作用,隨之而來,由該行業大型廚房產生的含油污水對環境的污染也日益嚴重,餐飲服務業多位于城市鬧市區或居民小區,污染源多而分散,難以集中收集處理,嚴重影響了周圍居民的身體健康和環境衛生,餐飲業含油污水的產生是由于在烹飪過程中使用大量的動物油和植物油,這些油脂經加熱烹炒和高溫煎炸后部分進入食物,而在刷洗餐具、油鍋以及倒掉殘油和殘羹冷炙的過程中,大量油脂與廚間生活污水混合進入下水道而形成的。
實用新型內容
本實用新型的目的在于提供一種可循環太陽能餐飲污水處理設備,以解決上述背景技術中提出的問題。
為實現上述目的,本實用新型提供如下技術方案:
一種可循環太陽能餐飲污水處理設備,包括蓄水裝置、排泥加熱裝置、吸油裝置和循環裝置;所述蓄水裝置包括蓄水室、太陽能板、蓄電池、蓄水室頂和進水口;所述蓄水室一側設置有進水口;所述排泥加熱裝置包括加熱室、排泥室、污泥過濾層、排泥口和加熱管;所述排泥室設置在蓄水室的下方;所述排泥室內設置有污泥過濾層;所述排泥室一側設置有排泥口,排泥口與污泥過濾層固定連接;所述加熱室設置在排泥室的下方,加熱室與排泥室固定連接;所述加熱室內設置有加熱管;所述吸油裝置設置在加熱室的下方;所述吸油裝置包括吸油器、油泵、吸油管、液面監測器、吸油箱、出水口、電磁閥和吸油室;所述吸油室設置在加熱室的下方;所述吸油室內部上方設置有吸油器;所述吸油器上方設置有吸油管,吸油管與吸油箱固定連接;所述吸油管上設置有油泵;所述吸油室內表面一側設置有液面監測器;所述吸油室另一側設置有出水口,出水口上設置有電磁閥。
作為本實用新型進一步的方案:所述蓄水室上方設置有蓄水室頂;所述蓄水室頂上設置有太陽能板;所述太陽能板下方設置有蓄電池。
作為本實用新型再進一步的方案:所述循環裝置包括循環管和水泵;所述循環管設置在出水口的上方,循環管與蓄水室固定連接;所述循環管上設置有水泵。
與現有技術相比,本實用新型的有益效果是:
本實用新型的太陽能板可以將太陽能轉化成電能,使整個裝置更加的經濟環保;污泥過濾層呈圓弧形,可以過濾污泥,污泥由于重力作用和水流的沖刷作用,會向下方排出污泥,從而可以收集污泥,進行再利用;加熱管可以對水流進行加熱,使污水中的已經凝結結塊的油污化開,處理更加到位;循環裝置使污水得到循環凈化,更加的安全。



