申請日2016.05.12
公開(公告)日2016.08.10
IPC分類號C02F9/04; C02F103/44
摘要
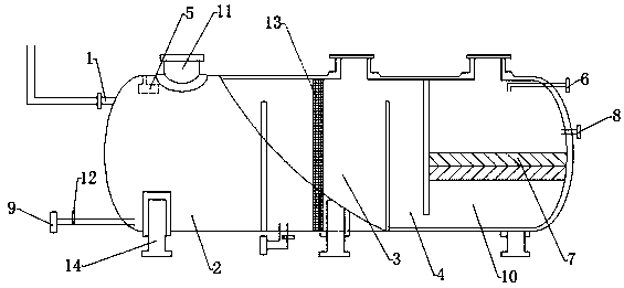
本發明公開了一種洗車廢水的過濾裝置,包括一級凈水箱、二級凈水箱和三級凈水箱,所述一級凈水箱上設有進水管,三級凈水箱上設有出水管,所述二級凈水箱和三級凈水箱之間設有緩沖箱,所述一級凈水箱箱體上部設有絮凝劑放置盒,二級凈水箱箱體內設有活性炭過濾層,三級凈水箱內設有PP棉過濾層,所述一至三級凈水箱的頂部均設有開箱口,三級凈水箱頂部設有消毒管;流入三級凈水箱的水流方式由前兩級箱體的從上端漫出流下變成從下端緩緩入流,減緩了對PP棉的沖擊,對水的凈化也更加充分;方便定時地對箱體內部進行清理,更換箱體內部的過濾裝置;可以有效地出去洗車廢水中的固態雜質,油性物質,和有毒物質,可以實現洗車廢水的循環利用。
權利要求書
1.一種洗車廢水的過濾裝置,其特征在于:所述過濾裝置包括一級凈水箱(2)、二級凈水箱(3)和三級凈水箱(10),所述一級凈水箱(2)上設有進水管(1),三級凈水箱(10)上設有出水管(8),所述二級凈水箱(3)和三級凈水箱(10)之間設有緩沖箱(4),所述緩沖箱(4)靠近三級凈水箱(10)的擋板的上端固定在箱殼上部,擋板的下端設有開口。
2.根據權利要求1所述的一種洗車廢水的過濾裝置,其特征在于:所述一級凈水箱(2)上部設有絮凝劑放置盒(5)。
3.根據權利要求1所述的一種洗車廢水的過濾裝置,其特征在于:所述二級凈水箱(3)內設有豎直放置的活性炭過濾層(13)。
4.根據權利要求1所述的一種洗車廢水的過濾裝置,其特征在于:所述一級凈水箱(2)、二級凈水箱(3)的底部均設置有排污管(9),排污管(9)上設有排污閥(12),二級凈水箱(3)的排污管(9)位于靠近一級凈水箱(2)一側擋板和活性炭過濾層(13)之間。
5.根據權利要求1所述的一種洗車廢水的過濾裝置,其特征在于:所述三級凈水箱(10)內設有水平放置的PP棉過濾層(7)。
6.根據權利要求3所述的一種洗車廢水的過濾裝置,其特征在于:所述三級凈水箱(10)頂部設有消毒管(6),出水管(8)位于消毒管(6)和PP棉過濾層(7)之間的三級凈水箱(10)的側壁上。
7.根據權利要求1-6任一項所述的一種洗車廢水的過濾裝置,其特征在于:所述一級凈水箱(2)、二級凈水箱(3)、三級凈水箱(10)的頂部均設有開箱口(11),開箱口(11)上設有箱蓋。
8.根據權利要求7所述的一種洗車廢水的過濾裝置,其特征在于:所述過濾裝置的底部設有底座(14)。
說明書
一種洗車廢水的過濾裝置
技術領域
本發明涉及污水過濾領域,具體是指一種洗車廢水的過濾裝置。
背景技術
人口的增長、經濟的發展和資源的超量開發,對環境造成了很大的壓力:水資源嚴重缺乏,水污染日益加劇。隨著人民生活水平的提高,單位和家庭擁有的汽車數量也越來越多,這勢必帶來洗車水的大量消耗,對于城市而言,則更加劇了水資源短缺的矛盾。據統計,1座大中城市1年用于洗車的水量則可供6萬人口使用1年,洗車用水的消耗量由此可見一斑。
此外,洗車水的隨意排放造成污水橫流,嚴重影響市容和市民的生活環境。洗車廢水中含有油類、有機物、陰離子合成洗滌劑類等大量污染物質,如不經處理就直接排放,勢必對水體造成污染。
發明內容
本發明的目的在于提供一種節能環保,健康實用,可清洗衣物和鍛煉身體的自行車洗衣機。
本發明通過下述技術方案實現:
一種洗車廢水的過濾裝置,所述過濾裝置包括一級凈水箱、二級凈水箱和三級凈水箱,所述一級凈水箱上設有進水管,三級凈水箱上設有出水管,所述二級凈水箱和三級凈水箱之間設有緩沖箱,所述緩沖箱靠近三級凈水箱的擋板的上端固定在箱殼上部、下端設有開口,所述緩沖箱靠近三級凈水箱的擋板下端的開口可以位于擋板底部,也可以設置在靠近底部的位置,所述開口的上端要低于三級凈水箱的出水擋板的上端面。
進一步地,所述一級凈水箱箱體上部設有絮凝劑放置盒,所述絮凝劑放置盒位于靠近開箱口的位置,絮凝劑放置盒要低于一級凈水箱的出水擋板的上端面。
進一步地,所述二級凈水箱箱體內設有豎直放置的活性炭過濾層,所述活性炭過濾層的上端要高于二級凈水箱出水擋板的上端面。
進一步地,所述一級凈水箱、二級凈水箱的底部均設置有排污管,排污管上設有排污閥,二級凈水箱的排污管位于靠近一級凈水箱一側擋板和活性炭過濾層之間。
進一步地,所述三級凈水箱內設有水平放置的PP棉過濾層,所述PP棉過濾層要低于三級出水擋板的上端面。
進一步地,所述三級凈水箱頂部設有消毒管,出水管位于消毒管和PP棉過濾層之間的三級凈水箱的側壁上。
進一步地,所述一級、二級、三級凈水箱的頂部均設有開箱口,開箱口上設有箱蓋。
進一步地,所述過濾裝置的底部設有底座。
本發明與現有技術相比,具有以下優點及有益效果:
(1)本發明通過設置緩沖箱,將流入三級凈水箱的水流方式由前兩級箱體的從上端漫出流下變成從下端緩緩入流,這樣減緩了對PP棉的沖擊,對水的凈化也更加充分;
(2)本發明通過加入絮凝劑,活性炭過濾層,PP棉過濾層和消毒劑,可以有效地出去洗車廢水中的固態雜質,油性物質,和有毒物質,可以實現洗車廢水的循環利用;
(3)本發明通過設置開箱口,方便定時地對箱體內部進行清理,而且方便更換箱體內部的過濾裝置。







