申請日2016.05.26
公開(公告)日2016.07.27
IPC分類號C02F9/10; C07C69/80; C07C67/48; C07C31/12; C07C29/80; C02F103/36
摘要
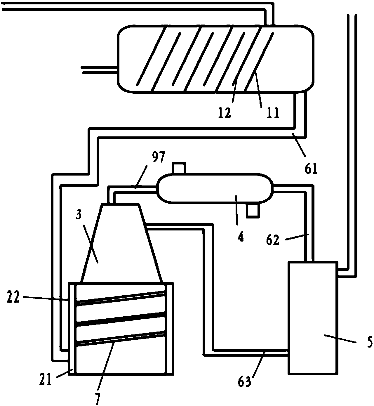
本發明公開一種鄰苯二甲酸二丁酯生產系統的廢水分離裝置,包括臥式分離罐、加熱罐、廢水塔、冷凝器、分液罐;所述臥式分離罐的前端設置進料口,所述臥式分離罐后端的頂部設置有回酯口,所述臥式分離罐后端的底部設置有廢水排出口;所述廢水排出口與加熱罐連通,所述加熱罐的頂部設置有廢水塔,所述廢水塔的頂部與所述冷凝器的進氣口連通,所述冷凝器的出液口與所述分液罐的上端連通;所述分液罐上開設有出水口、出醇口;所述出水口位于所述出醇口的下方。本發明具有有效回收產物、原料以及減少對環境的污染、降低后期水處理成本的優點。
摘要附圖
權利要求書
1.一種鄰苯二甲酸二丁酯生產系統的廢水分離裝置,其特征在于:包括臥式分離罐、加熱罐、廢水塔、冷凝器、分液罐;所述臥式分離罐的前端設置進料口,所述臥式分離罐后端的頂部設置有回酯口,所述臥式分離罐后端的底部設置有廢水排出口;
所述廢水排出口與加熱罐連通,所述加熱罐的頂部設置有廢水塔,所述廢水塔的頂部與所述冷凝器的進氣口連通,所述冷凝器的出液口與所述分液罐的上端連通;
所述分液罐上開設有出水口、出醇口;所述出水口位于所述出醇口的下方;
所述第一隔板、第二隔板均呈傾斜狀;
所述出水口與所述廢水塔連通;
所述加熱罐的外壁包裹有保溫棉,保溫棉外側套設有鋁板。
2.根據權利要求1所述的一種鄰苯二甲酸二丁酯生產系統的廢水處理裝置,其特征在于:所述臥式分離罐的內部空腔設置有若干塊第一隔板、第二隔板;
其中,所述第一隔板的頂部與所述臥式分離罐內頂壁密封,所述第一隔板的底部與所述臥式分離罐內底壁存在間隙;所述第一隔板的底部與所述臥式分離罐內底壁密封,所述第一隔板的頂部與所述臥式分離罐內頂壁存在間隙;
所述若干塊第一隔板、第二隔板沿水平方向從前至后依次間隔錯位設置。
3.根據權利要求1所述的一種鄰苯二甲酸二丁酯生產系統的廢水處理裝置,其特征在于:所述回酯口與鄰苯二甲酸二丁酯生產系統的脫醇釜連通。
4.根據權利要求1所述的一種鄰苯二甲酸二丁酯生產系統的廢水處理裝置,其特征在于:所述出醇口與鄰苯二甲酸二丁酯生產系統的反應釜連通。
5.根據權利要求1所述的一種鄰苯二甲酸二丁酯生產系統的廢水處理裝置,其特征在于:所述冷凝器為列管式冷凝器。
6.根據權利要求1所述的一種鄰苯二甲酸二丁酯生產系統的廢水處理裝置,其特征在于:所述加熱罐的外壁設置有外蒸汽管。
7.根據權利要求6所述的一種鄰苯二甲酸二丁酯生產系統的廢水處理裝置,其特征在于:所述外蒸汽管以所述加熱罐為軸心自上而下或自下而上呈螺旋狀盤繞在所述加熱罐的外壁上。
說明書
一種鄰苯二甲酸二丁酯生產系統的廢水分離裝置
技術領域
本發明涉及鄰苯二甲酸二丁酯生產技術領域,尤其涉及一種鄰苯二甲酸二丁酯生產系統的廢水分離裝置。
背景技術
鄰苯二甲酸二丁酯是聚氯乙烯最常用的增塑劑,可使制品具有良好的柔軟性,但揮發性和水抽出性較大,因而耐久性差。鄰苯二甲酸二丁酯是硝基纖維素的優良增塑劑,凝膠化能力強,用于硝基纖維素涂料,有良好的軟化作用。穩定性、耐撓曲性、黏結性和防水性均優于其他增塑劑。鄰苯二甲酸二丁酯也可用作聚醋酸乙烯、醇酸樹脂、硝基纖維素、乙基纖維素及氯丁橡膠、丁腈橡膠的增塑劑。
鄰苯二甲酸二丁酯的生產工藝:苯酐與醇在硫酸做催化劑加熱反應生產成粗制鄰苯二甲酸二丁酯,再經過中和、水洗、脫醇、壓濾得到精制鄰苯二甲酸二丁酯。
鄰苯二甲酸二丁酯在生產過程中會生產大量的廢水,廢水中含有部分醇、酯,如若不及時回收處理,一方面造成原料的浪費,另一方面污染環境。
發明內容
本發明針對現有技術的不足,提供一種有效回收產物、原料以及減少對環境的污染、降低后期水處理成本的鄰苯二甲酸二丁酯生產系統的廢水分離裝置。
本發明采用以下技術手段解決上述技術問題:一種鄰苯二甲酸二丁酯生產系統的廢水分離裝置,其特征在于:包括臥式分離罐、加熱罐、廢水塔、冷凝器、分液罐;所述臥式分離罐的前端設置進料口,所述臥式分離罐后端的頂部設置有回酯口,所述臥式分離罐后端的底部設置有廢水排出口;
所述廢水排出口與加熱罐連通,所述加熱罐的頂部設置有廢水塔,所述廢水塔的頂部與所述冷凝器的進氣口連通,所述冷凝器的出液口與所述分液罐的上端連通;
所述分液罐上開設有出水口、出醇口;所述出水口位于所述出醇口的下方;
所述第一隔板、第二隔板均呈傾斜狀;
所述出水口與所述廢水塔連通;
所述加熱罐的外壁包裹有保溫棉,保溫棉外側套設有鋁板。
優選地:所述臥式分離罐的內部空腔設置有若干塊第一隔板、第二隔板;
其中,所述第一隔板的頂部與所述臥式分離罐內頂壁密封,所述第一隔板的底部與所述臥式分離罐內底壁存在間隙;所述第一隔板的底部與所述臥式分離罐內底壁密封,所述第一隔板的頂部與所述臥式分離罐內頂壁存在間隙;
所述若干塊第一隔板、第二隔板沿水平方向從前至后依次間隔錯位設置。
優選地:所述回酯口與鄰苯二甲酸二丁酯生產系統的脫醇釜連通。
優選地:所述出醇口與鄰苯二甲酸二丁酯生產系統的反應釜連通。
優選地:所述冷凝器為列管式冷凝器。
優選地:所述加熱罐的外壁設置有外蒸汽管。
優選地:所述外蒸汽管以所述加熱罐為軸心自上而下或自下而上呈螺旋狀盤繞在所述加熱罐的外壁上。
本發明的優點在于:
(1)將生產中產生的廢水通過臥式分離罐的進料口流入臥式分離罐中,進行水、酯的分離,將分層后位于上層的酯通過提料泵的作用從回酯口抽出,供系統二次使用;下層的水從臥式分離罐后端底部的廢水排出口排出至加熱罐中。此時,水中含有一定濃度的醇,對加熱罐加熱至100度,醇、水溶液由液態變為氣態,通過廢水塔流入至冷凝器,在冷凝器的冷凝作用,氣態醇、水液化,流入至分液罐中;由于水的密度大于醇,水沉于下層,醇位于上層,由于水醇溶解需要一定的時間,當醇尚且溶或少量溶于水中時,對上層的醇抽出,供系統二次使用,從而實現有效回收產物、原料以及減少對環境的污染、降低后期水處理成本的技術效果。
(2)通過在臥式分離罐的內部空腔設置本發明的第一隔板、第二隔板,使得廢水呈蛇形狀在臥式分離罐流動,提高分層時間,實現動態分離、回收。
(3)第一隔板、第二隔板呈傾斜狀,進一步增加廢水在分離罐內的流動路徑,提高分層時間。
(4)出水口與所述廢水塔連通,將分離后的水再次流入分離罐中,進行多次蒸餾、分離,提高分離率。
(5)在所述加熱罐的外壁設置有外蒸汽管且以釜體為軸心自上而下或自下而上呈螺旋狀盤繞在釜體的外壁上,通過向外蒸汽管注入熱蒸汽,利用熱傳導效應,更進一步提高釜體內部的溫度,提高熱化效果,提高醇水氣化效率。
(6)加熱罐的外壁包裹有保溫棉,保溫棉外側套設有鋁板,提高釜體的保溫效果。


