申請日2016.05.11
公開(公告)日2016.08.03
IPC分類號C02F1/30
摘要
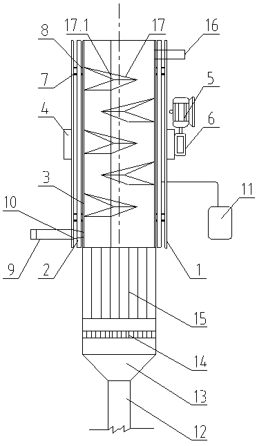
本發明涉及一種等離子體污水處理裝置及其處理方法,所述裝置包括殼體(1),所述殼體(1)內設置有反應筒體(3),所述殼體(1)與反應筒體(3)之間設置有的等離子發生電極(2),所述反應筒體(3)靠近上端處一側設置出水管(16),所述反應筒體(3)下端連接設置有進水管(12),所述反應筒體(3)靠近下端處一側設置有供氣管(9),所述反應筒體(3)的截面呈多邊形,所述多邊形的反應筒體(3)內自上而下設置有多個曝氣擋塊(17)。本發明的有益效果是:可以根據污水情況和出水調節等離子體放電距離,并使等離子體在不同的氣液混相中完成,可有效提高低溫等離子體的處理效率。
權利要求書
1.一種等離子體污水處理裝置,其特征在于:它包括殼體(1),所述殼體(1)內設置有反應筒體(3),所述殼體(1)與反應筒體(3)之間設置有的等離子發生電極(2),所述殼體(1)外部設置有電機(5)和等離子電源(11),所述等離子電源(11)與等離子發生電極(2)相連接,所述電機(5)輸出端設置有主動輪(6),所述殼體(1)外側設置有從動輪(4),所述主動輪(6)與從動輪(4)相互配合,所述反應筒體(3)上端開口,所述反應筒體(3)靠近上端處一側設置出水管(16),所述反應筒體(3)下端連接設置有進水管(12),所述反應筒體(3)靠近下端處一側設置有供氣管(9),所述反應筒體(3)的截面呈多邊形,所述多邊形的反應筒體(3)內自上而下設置有多個曝氣擋塊(17),所述多個曝氣擋塊(17)呈螺旋狀布置于反應筒體(3)的內壁上。
2.根據權利要求1所述的一種等離子體污水處理裝置,其特征在于:所述反應筒體(3)的截面呈正五邊形。
3.根據權利要求1所述的一種等離子體污水處理裝置,其特征在于:所述曝氣擋塊(17)的縱向截面呈三角形,所述三角形的曝氣擋塊(4)由上下兩塊對稱布置的傾斜板(17.1)對接而成。
4.根據權利要求3所述的一種等離子體污水處理裝置,其特征在于:下側的傾斜板(17.1)表面均勻設置有凸點。
5.根據權利要求1所述的一種等離子體污水處理裝置,其特征在于:所述殼體(1)與等離子反應電極(2)之間設置有第一彈性連接件(7),所述等離子發生電極(2)與反應筒體(3)之間設置有第二彈性連接件(8)。
6.根據權利要求1所述的一種等離子體污水處理裝置,其特征在于:所述供氣管(9)與反應筒體(3)之間設置有氣流收縮器(10)。
7.根據權利要求1所述的一種等離子體污水處理裝置,其特征在于:所述進水管(12)與反應筒體(3)之間依次設置有液流擴散器(13)、孔板預整流器(14)和同軸圈式整流器(15)。
8.根據權利要求7所述的一種等離子體污水處理裝置,其特征在于:所述孔板預整流器(14)包括第一外殼(14.1),所述第一外殼(14.1)內設置有孔板(14.2),所述孔板(14.2)上均勻設置有多圈過流孔(14.3)。
9.根據權利要求7所述的一種等離子體污水處理裝置,其特征在于:所述同軸圈式整流器(15)包括第二外殼(15.1),所述第二外殼(15.1)自內而外均勻設置有多層圓形薄板(15.2),相鄰兩層圓形薄板(15.2)之間形成過流層(15.3)。
10.一種如權利要求1所述的等離子體污水處理裝置的處理方法,其特征在于所述方法包括如下步驟:
污水首先通過進水管進入反應筒體,根據污水的類型和出水要求選擇合理的曝氣氣體,將曝氣氣體通過供氣管也接入反應筒體,反應筒體在電機驅動下產生轉動,等離子電源驅動反應筒體外側的等離子發生電極,使反應筒體處于等離子體環境中,污水在曝氣反應的同時進行等離子體反應,最終經過處理后的污水通過排水管排出。
說明書
等離子體污水處理裝置及其處理方法
技術領域
本發明涉及一種等離子體污水處理裝置及其處理方法,屬于污水處理技術領域。
背景技術
隨著工業經濟的的不斷發展,環境問題日益突出并成為了人們關注的焦點。各種工業生產所帶來的水環境污染越來越嚴重,污水中的成分日益復雜,給污水處理技術帶來了很大的挑戰。水資源短缺問題的日漸凸顯和國家對于環境問題的逐漸重視,也使環保部門對于污水處理提出了更高的要求。隨著人們認識的不斷提高和對于環境整體性保護的重視,對于污水處理過程中所產生的二次污染,也一直是環保技術人員在努力解決的問題。
等離子體是在外加電場的作用下,放電產生的大量高能電子轟擊污染物分子,使其電離、解離和激發,然后便引發了一系列復雜的物理、化學反應,使復雜大分子污染物轉變為簡單小分子物質,或使有毒有害物質轉變成無毒無害或低毒低害的物質,從而使污染物得以降解去除。因其電離后產生的電子平均能量在1-10eV,適當控制反應條件可實現一般情況下難以實現或速度很慢的化學反應變得十分快速。該方法不僅處理效果好,不產生二次污染,而且對于一些難降解廢水有著很好的處理效果。
現有的等離子體反應一般是直接在反應器內通過曝氣管進行曝氣,其曝氣均勻性差,曝氣類型單一,不能根據不同類型的污水和出水要求變更曝氣種類,無法進一步提高低溫等離子體的處理效率和放電距離;另外污水中的污染物也容易使曝氣管發生堵塞,并且曝氣管壓力損失大,供氣管動力消耗大。
發明內容
本發明所要解決的技術問題是針對上述現有技術提供一種等離子體污水處理裝置及其處理方法,它可以根據污水情況和出水調節等離子體放電距離,并使等離子體在不同的氣液混相中完成,可有效提高低溫等離子體的處理效率。
本發明解決上述問題所采用的技術方案為:一種等離子體污水處理裝置,它包括殼體,所述殼體內設置有反應筒體,所述殼體與反應筒體之間設置有的等離子發生電極,所述殼體外部設置有電機和等離子電源,所述等離子電源與等離子發生電極相連接,所述電機輸出端設置有主動輪,所述殼體外側設置有從動輪,所述主動輪與從動輪相互配合,所述反應筒體上端開口,所述反應筒體靠近上端處一側設置出水管,所述反應筒體下端連接設置有進水管,所述反應筒體靠近下端處一側設置有供氣管,所述反應筒體的截面呈多邊形,所述多邊形的反應筒體內自上而下設置有多個曝氣擋塊,所述多個曝氣擋塊呈螺旋狀布置于反應筒體的內壁上。
所述反應筒體的截面呈正五邊形。
所述曝氣擋塊的縱向截面呈三角形,所述三角形的曝氣擋塊由上下兩塊對稱布置的傾斜板對接而成。
下側的傾斜板表面均勻設置有凸點。
所述殼體與等離子反應電極之間設置有第一彈性連接件,所述等離子發生電極與反應筒體之間設置有第二彈性連接件。
所述供氣管與反應筒體之間設置有氣流收縮器。
所述進水管與反應筒體之間依次設置有液流擴散器、孔板預整流器和同軸圈式整流器。
所述孔板預整流器包括第一外殼,所述第一外殼內設置有孔板,所述孔板上均勻設置有多圈過流孔。
所述同軸圈式整流器包括第二外殼,所述第二外殼自內而外均勻設置有多層圓形薄板,相鄰兩層圓形薄板之間形成過流層。
一種等離子體污水處理裝置的處理方法,所述方法包括如下步驟:
污水首先通過進水管進入反應筒體,根據污水的類型和出水要求選擇合理的曝氣氣體,將曝氣氣體通過供氣管也接入反應筒體,反應筒體在電機驅動下產生轉動,等離子電源驅動反應筒體外側的等離子發生電極,使反應筒體處于等離子體環境中,污水在曝氣反應的同時進行等離子體反應,最終經過處理后的污水通過排水管排出。
與現有技術相比,本發明的優點在于:
1、可以根據污水情況和出水調節等離子體放電距離,并使等離子體在不同的氣液混相中完成,可有效提高低溫等離子體的處理效率;
2、多邊形反應筒體開口部的口徑大,無需擔心堵塞問題,無論間隙運行還是脫機處理都能夠進行;
3、曝氣壓力損失小,可以大幅削減動力費;
4、槽底的污泥導入反應筒體內后,與曝氣氣體進行翻滾、攪拌和微小化處理,提高了溶解效率的同時實現了清潔處理;
5、結構簡單,維護管理方便。



