申請日2016.05.04
公開(公告)日2016.10.12
IPC分類號E03C1/12; E03C1/122; E03B1/02
摘要
本實用新型公開了一種凈水器廢水回收利用系統,該系統包括:廢水收集部分,用以從居民樓戶內收集凈水器廢水;儲存凈化部分,用以儲存和凈化從所述廢水收集部分得到的凈水器廢水;以及回收水再利用部分,用以對凈水器廢水進行再利用;所述廢水收集部分、儲存凈化部分和回收水再利用部分依次連通。該系統采用預留在居民樓內的回收管路收集凈水器的廢水,并將廢水儲存在居民樓戶外的儲水裝置中,隨后通過供水泵向中水管網、消防水箱、洗車房、綠化管網等各種用水系統供水。本實用新型的廢水凈化系統結構簡單、成本低廉,且不占用居民室內空間;該廢水收集系統可以回收凈水器的全部廢水并分質再利用,提高了凈水器廢水的利用率,達到節約用水的效果。
權利要求書
1.一種凈水器廢水回收利用系統,其特征在于,該系統包括:
廢水收集部分,用以從居民樓戶內收集凈水器廢水;
儲存凈化部分,用以儲存和凈化從所述廢水收集部分得到的凈水器廢水;以及
回收水再利用部分,用以對凈水器廢水進行再利用;
所述廢水收集部分、儲存凈化部分和回收水再利用部分依次連通。
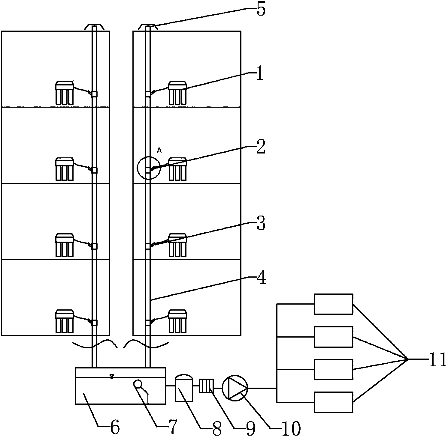
2.根據權利要求1所述的系統,其特征在于,所述廢水收集部分包括設置于居民樓戶內的廢水接口(3)和連接于所述廢水接口(3)的回收管路(4),所述廢水接口(3)用于與居民樓戶內的凈水器(1)連通。
3.根據權利要求2所述的系統,其特征在于,所述廢水接口(3)上設有逆止閥(2)。
4.根據權利要求2或3所述的系統,其特征在于,所述回收管路(4)包括沿所述居民樓的高度方向延伸的主管路,以及從該主管路向各居民戶內延伸的分支管路,所述廢水接口(3)設置在所述分支管路的末端,所述主管路的頂端設有通氣裝置(5)。
5.根據權利要求1所述的系統,其特征在于,所述儲存凈化部分包括與所述廢水收集部分連通的儲水裝置(6)。
6.根據權利要求5所述的系統,其特征在于,所述儲存凈化部分還包括與所述儲水裝置(6)連接的凈化裝置。
7.根據權利要求6所述的系統,其特征在于,所述凈化裝置為過濾裝置(8)和/或消毒裝置(9)。
8.根據權利要求1所述的系統,其特征在于,所述回收再利用部分包括供水泵(10)和與該供水泵(10)連通的多個再利用水箱(11),所述多個再利用水箱(11)分別用作中水儲水箱、消防水箱、綠化水箱和洗車水箱中的一種或幾種。
9.根據權利要求8所述的系統,其特征在于,所述儲存凈化部分包括與所述廢水收集部分連通的儲水裝置(6),所述供水泵(10)連接在該儲水裝置(6)的下游,并且所述儲水裝置(6)中設有液位控制裝置(7)用以控制所述供水泵(10)的開啟和關閉。
10.根據權利要求1所述的系統,其特征在于,所述廢水收集裝置設置在所述居民樓內,所述儲存凈化部分和回收再利用部分設置于居民戶外的公共空間。
說明書
一種凈水器廢水回收利用系統
技術領域
本實用新型涉及節水技術領域,具體地,涉及一種凈水器廢水回收利用系統。
背景技術
隨著各地水污染事件的頻繁發生及人們對飲用水質的要求的提高,居民用凈水器逐漸成為普及商品。目前常用的凈水器按照過濾級別主要分為超濾凈水器、納濾凈水器、反滲透凈水器等種類,其中使用范圍最廣的為反滲透型凈水器。但該凈水器存在廢水量過多的缺陷,采用該凈水器制備1L純凈水需要排放約3L濃水。市場數據顯示,全國在用的居民用凈水機1500萬臺、商用機500萬臺計算,每年浪費自來水約10億噸。這在我國水資源缺乏形勢極為嚴峻的現實中,是很難被接受的。
由于凈水器采用自來水作為凈水原料,凈水器排出的沖洗水及濃水依然比較清澈,除鹽離子、COD、氨氮、濁度略微升高外,消毒后完全可以滿足居民用中水、消防用水、綠化用水、洗車用水等分質供水要求,所以急需一種有效地回收利用凈水器廢水的手段。現有的凈水器廢水回收利用方法主要通過在室內設置水箱儲存廢水作為家庭中水使用。但是這種方法大量占用室內空間,難以獲得消費者認可。
實用新型內容
本實用新型的目的是提供一種凈水器廢水回收利用系統,該系統可以解決現有技術中缺乏回收利用凈水器廢水的有效方法的問題。
為了實現上述目的,本實用新型提供一種凈水器廢水回收利用系統,該系統包括:
廢水收集部分,用以從居民樓戶內收集凈水器廢水;
儲存凈化部分,用以儲存和凈化從所述廢水收集部分得到的凈水器廢水;以及
回收水再利用部分,用以對凈水器廢水進行再利用;
所述廢水收集部分、儲存凈化部分和回收水再利用部分依次連通。
可選地,所述廢水收集部分包括設置于居民樓戶內的廢水接口和連接于所述廢水接口的回收管路,所述廢水接口用于與居民樓戶內的凈水器連通。
可選地,所述廢水接口上設有逆止閥。
可選地,所述回收管路包括沿所述居民樓的高度方向延伸的主管路,以及從該主管路向各居民戶內延伸的分支管路,所述廢水接口設置在所述分支管路的末端,所述主管路的頂端設有通氣裝置。
可選地,所述儲存凈化部分包括與所述廢水收集部分連通的儲水裝置。
可選地,所述儲存凈化部分還包括與所述儲水裝置連接的凈化裝置。
可選地,所述凈化裝置為過濾裝置和/或消毒裝置。
可選地,所述回收再利用部分包括供水泵和與該供水泵連通的多個再利用水箱,所述多個再利用水箱分別用作中水儲水箱、消防水箱、綠化水箱和洗車水箱中的一種或幾種。
可選地,所述儲存凈化部分包括與所述廢水收集部分連通的儲水裝置,所述供水泵連接在該儲水裝置的下游,并且所述儲水裝置中設有液位控制裝置用以控制所述供水泵的開啟和關閉。
可選地,所述廢水收集裝置設置在所述居民樓內,所述儲存凈化部分和回收再利用部分設置于居民戶外的公共空間。
通過上述技術方案,采用預留在居民樓內的回收管路收集凈水器的廢水,并將廢水儲存在居民樓戶外的儲水裝置中,隨后通過供水泵向中水管網、消防水箱、洗車房、綠化管網等各種用水系統供水。本實用新型的廢水凈化系統結構簡單、成本低廉,且不占用居民室內空間;該廢水收集系統可以回收凈水器的全部廢水并分質再利用,提高了凈水器廢水的利用率,達到節約用水的效果。
本實用新型的其他特征和優點將在隨后的具體實施方式部分予以詳細說明。



