申請日2015.07.07
公開(公告)日2015.12.02
IPC分類號C02F9/04
摘要
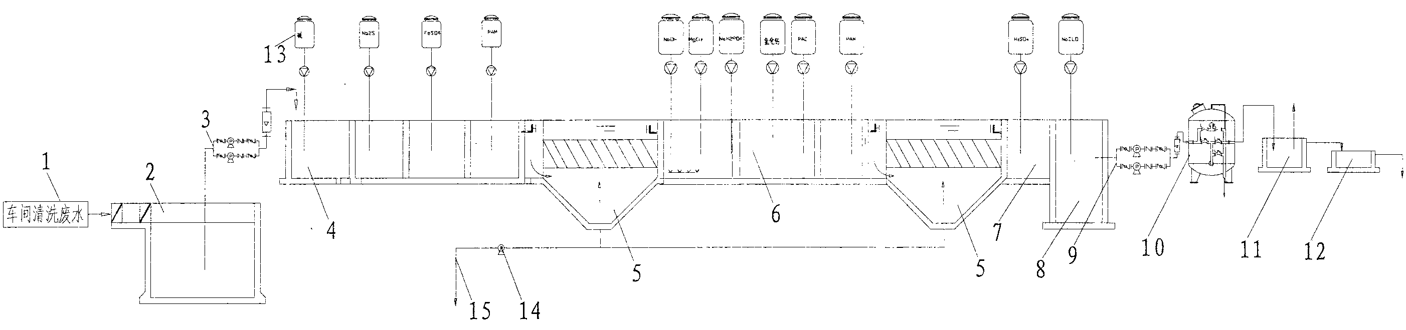
本實用新型公開了一種低有機物生產廢水深度處理系統,其能夠高效可靠的處理清洗廢水。本實用新型中,車間清洗廢水通過廢水收集管輸送至廢水調節池;所述廢水調節池上連通安裝提升管,提升管的遠端伸入至一級反應池;所述一級反應池與斜管沉淀槽連通,斜管沉淀槽的另一端與二級反應池連通,二級反應池的端部與另一個斜管沉淀槽連通;所述另一個斜管沉淀槽的出水口連通有pH回調池和中間池,中間池通過過濾管路與過濾吸附塔連通;所述過濾吸附塔的出水口通過清水管路連通至回用水池,所述回用水池與排放池連通,所述排放池上安裝有達標排放管;所述一級反應池和二級反應池內部均分為四格;所述斜管沉淀槽的槽底通過排污管路連接有排污組件。
權利要求書
1.低有機物生產廢水深度處理系統,用于處理車間清洗廢水,其特征在 于:所述車間清洗廢水通過廢水收集管輸送至廢水調節池;所述廢水調節池 上連通安裝提升管,提升管上安裝有提升泵,提升管的遠端伸入至一級反應 池;
所述一級反應池與斜管沉淀槽連通,斜管沉淀槽的另一端與二級反應池 連通,二級反應池的端部與另一個斜管沉淀槽連通;所述另一個斜管沉淀槽 的出水口連通有pH回調池,pH回調池的出水口連通中間池,中間池通過過濾 管路與過濾吸附塔連通,過濾管路上安裝有過濾泵;所述過濾吸附塔的出水 口通過清水管路連通至回用水池,所述回用水池與排放池連通,所述排放池 上安裝有達標排放管;
所述一級反應池內部分為四格,每一格內連通有加藥管路和加藥罐;沿 著廢水凈化方向所述加藥罐依次為第一格的加堿或加石灰罐,第二格的加硫 化鈉罐,第三格的加硫酸亞鐵罐以及第四格的加PAM罐;
所述二級反應池內部同樣分為四格,每一格均連通有加藥管路和加藥罐; 第一格連通加堿罐、加氯化鎂罐和加磷酸二氫鈉罐;第二格連通加石灰罐, 第三格連通加PAC罐,第四格連通加PAM罐;
所述斜管沉淀槽的槽底為倒椎體結構,兩個斜管沉淀槽的底部通過排污 管路連接有排污組件,所述排污管路上安裝有排污泵。
2.如權利要求1所述的低有機物生產廢水深度處理系統,其特征在于: 所述排污組件包含與排污管路連通的污泥濃縮槽,污泥濃縮槽的底部連通有 污泥管路,污泥管路上安裝有污泥泵,污泥管路的遠端伸入至壓濾機的進料 口;壓濾機排出的泥餅通過污泥轉運裝置轉運;壓濾機的壓濾液通過回流管 路回流至廢水調節池;所述污泥濃縮槽的上清液通過上清液管路回流至廢水 調節池。
3.如權利要求1或2所述的低有機物生產廢水深度處理系統,其特征在 于:所述pH回調池連通有加藥管路和加藥罐,所述加藥罐為加硫酸鈉罐;所 述中間池連通有加藥管路和加藥罐,所述加藥罐為加次氯酸鈉罐。
4.如權利要求1所述的低有機物生產廢水深度處理系統,其特征在于: 所述回用水池上還連通有回用管路。
說明書
低有機物生產廢水深度處理系統
技術領域
本實用新型涉及一種生產廢水處理系統,具體用于車間的清洗生產廢水, 尤其是制鏡片企業的車間清洗廢水的處理。
背景技術
我們實際施工過程中發現一些企業在生產過程中產生一定量的打磨清洗廢 水,尤其是眼鏡制備企業最為常見;其廢水中的主要有CODCr、SS、PH、色度等 污染物。若該類廢水不進行處理,直接排入天然水體,會大量消耗廢水中的溶 解氧,降底水體透明度,導致受納水體的水質發黑發臭;同時大量的懸浮物會 堵塞管道等等;嚴重破壞水體生態環境;
傳統的處理系統不能高效可靠的處理,處理后的水也無法回用和可靠的達 標排放。
實用新型內容
本實用新型所要解決的技術問題在于針對上述現有技術中的不足,提供一 種低有機物生產廢水深度處理系統,其能夠高效可靠的處理清洗廢水,整個系 統連續性好,占地面積小,處理后的水能夠回用和達標排放。
本實用新型解決其技術問題所采用的技術方案是:低有機物生產廢水深度 處理系統,用于處理車間清洗廢水,所述車間清洗廢水通過廢水收集管輸送至 廢水調節池;所述廢水調節池上連通安裝提升管,提升管上安裝有提升泵,提 升管的遠端伸入至一級反應池;
所述一級反應池與斜管沉淀槽連通,斜管沉淀槽的另一端與二級反應池連 通,二級反應池的端部與另一個斜管沉淀槽連通;所述另一個斜管沉淀槽的出 水口連通有pH回調池,pH回調池的出水口連通中間池,中間池通過過濾管路與 過濾吸附塔連通,過濾管路上安裝有過濾泵;所述過濾吸附塔的出水口通過清 水管路連通至回用水池,所述回用水池與排放池連通,所述排放池上安裝有達 標排放管;
所述一級反應池內部分為四格,每一格內連通有加藥管路和加藥罐;沿著 廢水凈化方向所述加藥罐依次為第一格的加堿或加石灰罐,第二格的加硫化鈉 罐,第三格的加硫酸亞鐵罐以及第四格的加PAM罐;
所述二級反應池內部同樣分為四格,每一格均連通有加藥管路和加藥罐; 第一格連通加堿罐、加氯化鎂罐和加磷酸二氫鈉罐;第二格連通加石灰罐,第 三格連通加PAC罐,第四格連通加PAM罐;
所述斜管沉淀槽的槽底為倒椎體結構,兩個斜管沉淀槽的底部通過排污管 路連接有排污組件,所述排污管路上安裝有排污泵。
作為本實用新型的一種優選實施方式,所述排污組件包含與排污管路連通 的污泥濃縮槽,污泥濃縮槽的底部連通有污泥管路,污泥管路上安裝有污泥泵, 污泥管路的遠端伸入至壓濾機的進料口;壓濾機排出的泥餅通過污泥轉運裝置 轉運;壓濾機的壓濾液通過回流管路回流至廢水調節池;所述污泥濃縮槽的上 清液通過上清液管路回流至廢水調節池。
作為本實用新型的一種優選實施方式,所述pH回調池連通有加藥管路和加 藥罐,所述加藥罐為加硫酸鈉罐;所述中間池連通有加藥管路和加藥罐,所述 加藥罐為加次氯酸鈉罐。
作為本實用新型的一種優選實施方式,所述回用水池上還連通有回用管路。
本實用新型與現有技術相比具有以下優點:
本實用新型將車間的廢水收集到綜合廢水調節池,綜合廢水通過提升泵提 升到反應池,在第一格投加堿或石灰調整PH值,第二格投加硫化鈉,使重金屬 生成硫化物沉淀,第三格投加硫酸亞鐵,中和掉多余的硫化鈉及進行混凝反應, 第四格投加PAM進行絮凝反應,使微小的顆粒物形成較大的帆花狀,便于沉淀, 反應后的出水自流至斜管沉淀池進行固液分離,上清液進入二級反應池,在該 池第一格投加堿、氯化鎂、磷酸二氫鈉與廢水中的氨氮反應,第二格投加石灰, 去除磷酸鹽,第三格投加PAC進行混凝反應,第四格投加PAM進行絮凝反應, 使微小的顆粒物形成較大的帆花狀,便于沉淀,反應后的出水自流至斜管沉淀 池進行固液分離,再經PH回調池,通過投加硫酸回調PH至中性,再進入中間 池,在該池通過投入次氯酸鈉氧化劑,氧化掉部分的有機物及氨氮,再經過濾 器過濾吸附,出水自流到回用池回及或排放口達標排放。整個工藝過程連續性 好,效率高,處理效果穩定可靠。
本實用新型還通過排污組件可靠排污,具體對,我們通過將沉淀池底部污 泥定期排至污泥濃縮池,污泥通過污泥泵壓至板框式壓濾機進行固化處理。壓 濾液回流到集水池重新處理,固化的污泥可交由工業廢物處理站處理。







