申請日2015.06.10
公開(公告)日2015.10.28
IPC分類號C02F9/04
摘要
本實用新型一種高濃度難降解廢水的處理裝置,其進水泵通過閥門和流量計與第一和第二氣升式反應器串連;其酸液儲罐與加酸泵串接第二閥門和第二流量計后與第一和第二氣升式反應器連接;設有pH控制器和至少三個pH探頭;其催化劑儲罐與加催化劑泵串接第三閥門和第三流量計后與第一氣升式反應器連接;其氧化劑儲罐與加氧化劑泵串接第四閥門和第四流量計后與第一和第二氣升式反應器連接;第二氣升式反應器通過管道與調節池連接,堿液儲罐與加堿泵串接后通過第五閥門和第五流量計與調節池連接;所述調節池與設有出水泵和出水閥門的沉淀池連接。本實用新型采用分段式催化氧化反應裝置,適合處理COD濃度>大于1000mg/L、BOD5/COD<0.3的高濃度難降解化工廢水。
摘要附圖
權利要求書
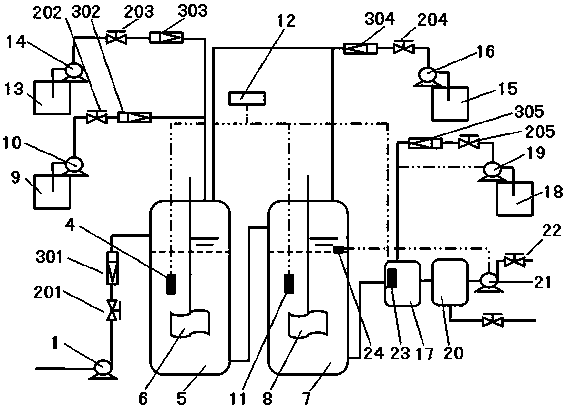
1.一種高濃度難降解廢水的處理裝置,含有進水單元、反應單元、沉淀單元、出水單元和自動控制單元;其特征在于:
所述進水單元包括進水泵(1)、第一閥門(201)和第一流量計(301);
所述反應單元包括第一氣升式反應器(5)和第一攪拌器(6)、第二氣升式反應器(7)和第二攪拌器(8)、酸液儲罐(9)和加酸泵(10)、催化劑儲罐(13)和加催化劑泵(14)、氧化劑儲罐(15)和加氧化劑泵(16)以及第二閥門(202)、第二流量計(302)、第三閥門(203)、第三流量計(303)、第四閥門(204)和第四流量計(304);
所述沉淀單元包括調節池(17)、堿液儲罐(18)和加堿泵(19)、第五閥門(205)、第五流量計(305)和沉淀池(20);
所述出水單元包括出水泵(21)和出水閥門(22);
所述自動控制單元包括pH控制器(12)、第一pH探頭(4)、第二pH探頭(11)、第三pH探頭(23)和液位控制器(24);
所述進水泵(1)通過所述第一閥門(201)、第一流量計(301)和連接管道與所述第一氣升式反應器(5)和第二氣升式反應器(7)串連,在第一氣升式反應器(5)內設有第一攪拌器(6),在第二氣升式反應器(7)內設有第二攪拌器(8);
所述酸液儲罐(9)與加酸泵(10)連接并通過管道串接所述第二閥門202和第二流量計(302)后與所述第一氣升式反應器(5)及所述第二氣升式反應器(7)連接;在所述酸液儲罐(9)與所述第一氣升式反應器(5)及所述第二氣升式反應器(7)的連接管道上設有pH控制器(12),所述pH控制器(12)至少連接有三個pH探頭;
所述催化劑儲罐(13)與加催化劑泵(14)連接并通過管道串接所述第三閥門(203)和第三流量計(303)后與所述第一氣升式反應器(5)連接;
所述氧化劑儲罐(15)與加氧化劑泵(16)連接并通過管道串接所述第四閥門(204)和第四流量計(304)后與所述第一氣升式反應器(5)及所述第二氣升式反應器(7)連接;
所述第二氣升式反應器(7)的下端通過管道與調節池(17)連接,所述堿液儲罐(18)與加堿泵(19)連接并通過管道串接第五閥門(205)和第五流量計(305)后與所述調節池(17)連接;
所述調節池(17)通過管道與沉淀池(20)連接,在所述沉淀池(20)上設有出水泵(21)和出水閥門(22)。
2.根據權利要求1所述的一種高濃度難降解廢水的處理裝置,其特征在于,在所述第一氣升式反應器(5)和第二氣升式反應器(7)的頂端設有若干加藥口,所述酸液儲罐(9)、催化劑儲罐(13)和氧化劑儲罐(15)的連接管道通過所述加藥口與所述第一氣升式反應器(5)和第二氣升式反應器(7)連接。
3.根據權利要求1所述的一種高濃度難降解廢水的處理裝置,其特征在于,在所述第一氣升式反應器(5)的上部設有進水口,下部設有出水口,所述進水泵(1)的連接管道通過所述進水口與所述第一氣升式反應器(5)連接。
4.根據權利要求1或3所述的一種高濃度難降解廢水的處理裝置,其特征在于,在所述第二氣升式反應器(7)的上部設有進水口,下部設有出水口,所述第一氣升式反應器(5)下部的出水口通過連接管道與所述第二氣升式反應器(7)上部的進水口連接,所述第二氣升式反應器(7)的出水口通過連接管道與所述調節池(17)連接。
5.根據權利要求1所述的一種高濃度難降解廢水的處理裝置,其特征在于,在所述調節池(17)的頂端設有加藥口,在所述調節池(17)的一邊設有進水口,所述進水口通過連接管道與所述第二氣升式反應器(7)的出水口連接;在所述調節池(17)的另一邊設有出水口,所述出水口通過連接管道與沉淀池(20)連接。
6.根據權利要求1所述的一種高濃度難降解廢水的處理裝置,其特征在于,在所述沉淀池(20)的一邊設有進水口,所述進水口通過連接管道與所述調節池(17)的出水口連接;在所述沉淀池(20)的另一邊設有出水口,所述出水口通過連接管道與出水泵(21)連接。
7.根據權利要求6所述的一種高濃度難降解廢水的處理裝置,其特征在于,在所述沉淀池(20)的下端設有排泥口和控制閥。
8.根據權利要求1所述的一種高濃度難降解廢水的處理裝置,其特征在于,在所述第二氣升式反應器(7)內設有一個液位控制器(24),所述液位控制器(24)與所述出水泵(21)的開關連接,能根據第二氣升式反應器(7)內液位的情況,控制所述出水泵(21)的開關。
說明書
一種高濃度難降解廢水的處理裝置
技術領域
本實用新型涉及廢水處理技術領域,具體地說,涉及到用分段式催化氧化法處理高濃度難降解廢水的一種處理裝置。
背景技術
現代社會對石油的嚴重依賴使石油化工行業飛速發展。但是,石油化工行業上下游企業所產生的化工廢水多具有化學需氧量(COD)高、鹽度高、毒性大等特點,是目前典型的用生物降解方法難以處理的廢水。此類化工廢水可能會直接威脅到污水處理廠生化處理系統的正常運行,導致污水處理廠的活性污泥死亡;也可能由于其鹽度高、毒性大、生物降解性差的原因導致化工廢水不能實現達標排放。因此,這些化工廢水不宜直接進行生物處理,需要采用預處理工藝先行降低毒性,去除部分污染物以提高廢水的可生化降解性,然后再進入生化處理系統進行處理。
在環境保護的廢水處理技術領域,芬頓氧化工藝是近年來才逐步推廣的一種催化氧化技術,屬于一種高效的預處理工藝。芬頓氧化工藝的原理是:在酸性條件下,Fe2 +催化雙氧水產生強氧化性的羥基自由基(·OH),將廢水中的難降解有機物和有毒物質氧化,從而起到降低毒性、去除污染物、提高化工廢水可生化降解性的作用。目前,芬頓氧化工藝主要用于實驗室的實驗,由于其具有易腐蝕、成本高等不足,在污水處理廠的實際運行中并未得到廣泛運用。因此,如何減小運行風險,降低成本,成為芬頓氧化工藝采用裝備設計的關鍵。
實用新型內容
本實用新型的目的在于克服現有技術的不足,為采用芬頓氧化工藝提供一種處理高濃度難降解廢水的裝置,采用分段式催化氧化反應的方法,適合處理COD濃度大于1000mg/L、BOD5/COD<0.3的化工廢水。
為實現上述目的,本實用新型采取了以下技術方案。
一種高濃度難降解廢水的處理裝置,含有進水單元、反應單元、沉淀單元、出水單元和自動控制單元;其特征在于:所述進水單元包括進水泵、第一閥門和第一流量計;所述反應單元包括第一氣升式反應器和第一攪拌器、第二氣升式反應器和第二攪拌器、酸液儲罐和加酸泵、催化劑儲罐和加催化劑泵、氧化劑儲罐和加氧化劑泵以及第二閥門、第二流量計、第三閥門、第三流量計、第四閥門和第四流量計;所述沉淀單元包括調節池、堿液儲罐和加堿泵、第五閥門、第五流量計和沉淀池;所述出水單元包括出水泵和出水閥門;所述自動控制單元包括pH控制器、第一pH探頭、第二pH探頭、第三pH探頭和液位控制器;所述進水泵通過所述第一閥門、第一流量計和連接管道與所述第一氣升式反應器和第二氣升式反應器串連,在第一氣升式反應器內設有第一攪拌器,在第二氣升式反應器內設有第二攪拌器;所述酸液儲罐與加酸泵連接并通過管道串接所述第二閥門和第二流量計后與所述第一氣升式反應器及所述第二氣升式反應器連接;在所述酸液儲罐與所述第一氣升式反應器及所述第二氣升式反應器的連接管道上設有pH控制器,所述pH控制器至少連接有三個pH探頭;所述催化劑儲罐與加催化劑泵連接并通過管道串接所述第三閥門和第三流量計后與所述第一氣升式反應器連接;所述氧化劑儲罐與加氧化劑泵連接并通過管道串接所述第四閥門和第四流量計后與所述第一氣升式反應器及所述第二氣升式反應器連接;所述第二氣升式反應器的下端通過管道與調節池連接,所述堿液儲罐與加堿泵連接并通過管道串接第五閥門和第五流量計后與所述調節池連接;所述調節池通過管道與沉淀池連接,在所述沉淀池上設有出水泵和出水閥門。
進一步,在所述第一氣升式反應器和第二氣升式反應器的頂端設有若干加藥口,所述酸液儲罐、催化劑儲罐和氧化劑儲罐的連接管道通過所述加藥口與所述第一氣升式反應器和第二氣升式反應器連接。
進一步,在所述第一氣升式反應器的上部設有進水口,下部設有出水口,所述進水泵的連接管道通過所述進水口與所述第一氣升式反應器連接。
進一步,在所述第二氣升式反應器的上部設有進水口,下部設有出水口,所述第一氣升式反應器下部的出水口通過連接管道與所述第二氣升式反應器上部的進水口連接,所述第二氣升式反應器的出水口通過連接管道與所述調節池連接。
進一步,在所述調節池的頂端設有加藥口,在所述調節池的一邊設有進水口,所述進水口通過連接管道與所述第二氣升式反應器的出水口連接;在所述調節池的另一邊設有出水口,所述出水口通過連接管道與沉淀池連接。
進一步,在所述沉淀池的一邊設有進水口,所述進水口通過連接管道與所述調節池的出水口連接;在所述沉淀池的另一邊設有出水口,所述出水口通過連接管道與出水泵連接。
進一步,在所述沉淀池的下端設有排泥口和控制閥。
進一步,在所述第二氣升式反應器內設有一個液位控制器,所述液位控制器與所述出水泵的開關連接,能根據第二氣升式反應器內液位的情況,控制所述出水泵的開關。
本實用新型一種高濃度難降解廢水的處理裝置的積極效果是:
采用分段式催化氧化反應的處理裝置,設置了兩個氣升式反應器并配置了酸液儲罐、催化劑儲罐和氧化劑儲罐,催化劑和氧化劑的利用率高,與普通芬頓氧化法相比,減少了過氧化氫及硫酸亞鐵的投加量,提高了處理效率,降低了藥劑及污泥處理成本,適合處理COD濃度大于1000mg/L、BOD5/COD<0.3的高濃度難降解化工廢水。






