申請日2015.07.23
公開(公告)日2015.12.02
IPC分類號C02F103/10; C02F1/00
摘要
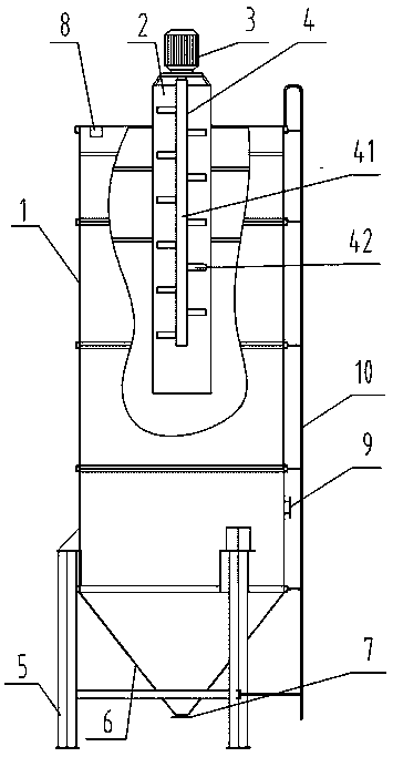
本實用新型公開了一種新型制砂污水處理塔,包括主塔體,固設于主塔體內部的反應部,支撐主塔體的支撐部,設置于主塔體靠近下端的外圓柱面上的泄壓口,設置于該主塔體外圓柱面上從主塔體底端延伸至頂端的梯子,所述主塔體底部為集料部,所述集料部的最底端開有反應物出口,所述主塔體靠近頂部邊緣開有使凈化清水流出的清水出口,其特征在于,所述反應部包括反應通道、電機和攪拌棒,所述電機固設在反應通道上端口上方,所述攪拌棒與電機主軸固定連接,本實用新型制砂污水處理塔,在反應通道內設置攪拌棒,使藥劑和污水的混合更加均勻,加快反應速度,提升污水處理效率。
權利要求書
1.一種新型制砂污水處理塔,包括主塔體(1),固設于主塔體內部的反應部,支撐主塔體的支撐部(5),設置于主塔體(1)靠近下端的外圓柱面上的泄壓口(9),設置于該主塔體(1)外圓柱面上從主塔體(1)底端延伸至頂端的梯子(10),所述主塔體底部為集料部(6),所述集料部(6)的最底端開有反應物出口(7),所述主塔體靠近頂部邊緣開有使凈化清水流出的清水出口(8),其特征在于,所述反應部包括反應通道(2)、電機(3)和攪拌棒(4),所述電機(3)固設在反應通道(2)上端口上方,所述攪拌棒(4)與電機(3)主軸固定連接。
2.如權利要求1所述的一種新型制砂污水處理塔,其特征在于,所述攪拌棒(4)包括攪拌軸(41)與間隔固設在所述攪拌軸(41)上的若干攪拌凸起(42)。
說明書
一種新型制砂污水處理塔
技術領域
本實用新型涉及一種新型制砂污水處理塔,屬于礦山污水處理技術領域。
背景技術
在用水洗方法的機制砂和水洗碎石的過程中會產生大量的污水,污水同過細砂回收裝置處理后,污水還是含有泥漿。傳統的處理方式是通過沉淀池逐級過濾、沉淀讓泥沙和水分離,這種方式占地面積多、沉淀時間長。
實用新型內容
本實用新型公開了一種新型制砂污水處理塔,以解決背景技術中提到的問題。
為了達到上述之目的,本實用新型采用如下具體技術方案:
一種新型制砂污水處理塔,包括主塔體,固設于主塔體內部的反應部,支撐主塔體的支撐部,設置于主塔體靠近下端的外圓柱面上的泄壓口,設置于該主塔體外圓柱面上從主塔體底端延伸至頂端的梯子,所述主塔體底部為集料部,所述集料部的最底端開有反應物出口,所述主塔體靠近頂部邊緣開有使凈化清水流出的清水出口,其特征在于,所述反應部包括反應通道、電機和攪拌棒,所述電機固設在反應通道上端口上方,所述攪拌棒與電機主軸固定連接。
進一步的,所述攪拌棒包括攪拌軸與間隔固設在所述攪拌軸上的若干攪拌凸起。
本實用新型與現有技術相比的優點是:在反應通道內設置攪拌棒,使藥劑和污水的混合更加均勻,加快反應速度,提升污水處理效率。







