申請日2015.07.22
公開(公告)日2015.12.02
IPC分類號C02F11/12
摘要
本實用新型涉及一種列管式MVR污泥干化裝置,包括真空箱體、列管、布濕泥板、除干泥板、MVR蒸汽壓縮機及液壓缸,在真空箱體的四方箱體兩側對稱固裝有液壓缸,該兩個液壓缸下部的柱塞端共同固裝一水平的活動橫板,在活動橫板上固裝列管陣列,在四方箱體內密封固裝布濕泥板,在四方箱體內固裝除干泥板;列管下端連通固裝蒸汽分配器管,該蒸汽分配器管通過管路連通MVR蒸汽壓縮機。本申請通過MVR二次蒸汽壓縮復用技術提供熱源進行污泥的熱干化,可將污泥蒸發出的二次蒸汽全部潛熱回收復用,并冷凝成水,返回污水廠處理,避免了對外界熱源的需求和依賴,減少了二次污染的可能性,具有顯著的節能減排特性,必將成為該領域未來的發展方向。
權利要求書
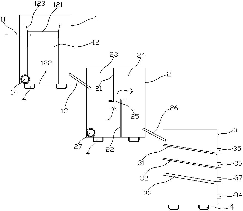
1.一種列管式MVR污泥干化裝置,其特征在于:包括真空箱體、列管、布 濕泥板、除干泥板、MVR蒸汽壓縮機及液壓缸,真空箱體的上部為四方箱體,其 下部為錐形干泥排放箱體,在真空箱體的四方箱體兩側對稱固裝有液壓缸,該兩 個液壓缸下部的柱塞端共同固裝一水平的活動橫板,該水平的活動橫板在真空箱 的四方箱體內上下位移,在活動橫板上均布間隔固裝列管陣列,在活動橫板上方 的四方箱體內密封固裝水平的布濕泥板,在布濕泥板下方的四方箱體內固裝水平 的除干泥板,形成陣列的列管在布濕泥板及除干泥板上穿過;列管為中空,其下 端連通固裝蒸汽分配器管,該蒸汽分配器管通過管路連通MVR蒸汽壓縮機。
2.根據權利要求1所述的列管式MVR污泥干化裝置,其特征在于:所述列 管的徑向制出花型,在表面形成縱向的用以容納污泥的凹槽;布濕泥板所制的花 型棱孔陣列在與列管結合后,布濕泥板的花型棱孔與列管所制的花型凹槽之間留 有存泥間隙,除干泥板上所制的花型棱孔是與列管進行間隙配合。
3.根據權利要求2所述的列管式MVR污泥干化裝置,其特征在于:所述除 干泥板的花型棱孔的內緣是由較軟材料制作的環狀刮刀。
說明書
一種列管式MVR污泥干化裝置
技術領域
本實用新型屬于環保領域,涉及污泥的干化處理裝置,尤其是一種列管式 MVR污泥干化裝置。
背景技術
隨著我國對節能減排的日益重視,作為能源消費總量世界第一的我國,節能 減排的任務十分艱巨。在環境保護主戰場之一的污泥處理領域,傳統的污泥熱干 化過程要能源消耗非常大,并且污泥干化過程中產生的廢氣處理不當又會導致二 次污染,廢氣的處理又額外增加了系統的復雜性和投資成本。此外,現有濕污泥 熱干化技術中投資大、耗能大、占地大、機構復雜、需要外部熱源,且綜合生產 成本過高。
通過檢索,發現如下公開專利文獻:
1、一種機械蒸汽再壓縮熱泵MVR污泥干化系統(CN103708697A),包括空心 槳葉式干燥機和蒸汽壓縮機;濕污泥通過所述的空心槳葉式干燥機干燥處理后產 生二次蒸汽,該二次蒸汽進入蒸汽壓縮機進行壓縮而成為再壓縮蒸汽;然后該再 壓縮蒸汽流回所述的空心槳葉式干燥機內。本實用新型能夠回收污泥干燥過程中 產生的二次蒸汽的全部潛熱,用作污泥的再壓縮蒸汽熱源,節約了一次能源,大 大降低了污泥干化的能源消耗和避免了污染;系統運作穩定,減少操作中能源損 耗,提高了污泥干化系統的工作效率。
2、一種用于高鹽廢水處理行業中機械蒸汽再壓縮蒸發濃縮設備,其特征在 于包括離心蒸汽壓縮機、連接在該壓縮機兩端口的換熱器和結晶分離器、PLC控 制柜、強制循環泵、預熱器和真空泵。本實用新型的有益效果在于提供了一套完 整的用于高鹽廢水處理行業中的MVR蒸發濃縮設備,物料先進入預熱器,利用由 預熱器中的冷凝水預熱至蒸發溫度再進入板式換熱器,進一步減少了能耗;強制 循環泵將分離后的鹽溶液壓入換熱器內繼續進行蒸發濃縮,形成循環,降低了蒸 發過程的能量消耗;防喘振旁通閥的引入避免了離心蒸汽壓縮機開停機或運行過 程中出現的喘振。
3、一種MVR管式蒸發系統(CN203971412U),包括:蒸發裝置,能從溶液中 蒸發出二次蒸汽,其包括一效/至少兩效串聯連接的蒸發部,蒸發部均包括蒸發 器以及與蒸發器的蒸汽出口相連接的分離器;蒸汽壓縮機,用于提高溶液中蒸發 出的二次蒸汽的壓力和溫度;其中,蒸發裝置與蒸汽壓縮機的輸入口相連接。本 實用新型的有益效果為:該MVR管式蒸發系統通過在蒸發裝置的低壓蒸汽出口連 接蒸汽壓縮機,使得從蒸發裝置輸出的低壓蒸汽或高溫溶液中閃蒸產生的二次蒸 汽的壓力和溫度提高,達到生產工藝要求,使蒸汽能夠重復使用,極大的避免了 資源浪費,節約了成本;通過設置多效蒸發部,使得該MVR管式蒸發系統應用領 域更廣,能夠滿足多種生產需求。
通過技術特征對比,上述公開專利文獻與本實用新型申請有較大不同,不會 影響本實用新型申請的創造性。
實用新型內容
本實用新型的目的在于克服現有技術的不足之處,提供一種通過MVR二次蒸 汽壓縮復用技術提供熱源的列管式MVR污泥干化裝置。
本實用新型解決其技術問題是采取以下技術方案實現的:
一種列管式MVR污泥干化裝置,包括真空箱體、列管、布濕泥板、除干泥板、 MVR蒸汽壓縮機及液壓缸,真空箱體的上部為四方箱體,其下部為錐形干泥排放 箱體,在真空箱體的四方箱體兩側對稱固裝有液壓缸,該兩個液壓缸下部的柱塞 端共同固裝一水平的活動橫板,該水平的活動橫板在真空箱的四方箱體內上下位 移,在活動橫板上均布間隔固裝列管陣列,在活動橫板上方的四方箱體內密封固 裝水平的布濕泥板,在布濕泥板下方的四方箱體內固裝水平的除干泥板,形成陣 列的列管在布濕泥板及除干泥板上穿過;列管為中空,其下端連通固裝蒸汽分配 器管,該蒸汽分配器管通過管路連通MVR蒸汽壓縮機。
而且,所述列管的徑向制出花型,在表面形成縱向的用以容納污泥的凹槽; 布濕泥板所制的花型棱孔陣列在與列管結合后,布濕泥板的花型棱孔與列管所制 的花型凹槽之間留有存泥間隙,除干泥板上所制的花型棱孔是與列管進行間隙配 合。
而且,所述除干泥板的花型棱孔的內緣是由較軟材料制作的環狀刮刀。
本實用新型的優點和積極效果是:
本實用新型通過MVR二次蒸汽壓縮復用技術提供熱源進行污泥的熱干化,可 將污泥蒸發出的二次蒸汽全部潛熱回收復用,并冷凝成水,返回污水廠處理,避 免了對外界熱源的需求和依賴,并且極大減少了二次污染的可能性,該技術具有 非常顯著的節能減排特性,必將成為該領域未來的發展方向。







