申請日2014.10.21
公開(公告)日2015.02.11
IPC分類號C02F1/66
摘要
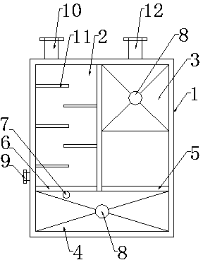
本實用新型公開了一種酸性污水中和池,包括池體,所述池體內設置有中和區、用于沉淀石灰消解液的沉淀區和用于調節石灰乳液pH值的調配區,所述沉淀區與調配區之間設置有第一溢流堰,所述調配區與中和區之間設置有第二溢流堰,且第二溢流堰上設置有pH測試探頭,所述沉淀區底部和調配區底部均設置有排渣口,所述中和區上部設置有酸性污水進入管,下部設置有排水管,中和區內設置有折流板,所述酸性污水進入管設置在第二溢流堰周圍。本實用新型能夠持續中和處理酸性污水,并達到減少酸性污水處理時間的目的。
權利要求書
1.一種酸性污水中和池,包括池體(1),其特征在于:所述池體(1)內設置有中和區(2)、用于沉淀石灰消解液的沉淀區(3)和用于調節石灰乳液pH值的調配區(4),所述沉淀區(3)與調配區(4)之間設置有第一溢流堰(5),所述調配區(4)與中和區(2)之間設置有第二溢流堰(6),且第二溢流堰(6)上設置有pH測試探頭(7),所述沉淀區(3)底部和調配區(4)底部均設置有排渣口(8),所述中和區(2)上部設置有酸性污水進入管(9),下部設置有排水管(10),中和區(2)內設置有折流板(11), 所述酸性污水進入管(9)設置在第二溢流堰(6)周圍。
2.如權利要求1所述的一種酸性污水中和池,其特征在于:所述沉淀區(3)、調配區(4)和中和區(2)均為長方體結構,所述沉淀區(3)上部設置有進液管(12),所述進液管(12)與第一溢流堰(5)分別設置在沉淀區(3)中兩對稱的側壁上;所述中和區(2)內折流板(11)的數量為多塊,多塊折流板(11)分別豎向設置在中和區(2)的兩對稱側壁上,且兩側壁上的折流板(11)錯位相交。
3.如權利要求1或2所述的一種酸性污水中和池,其特征在于:所述沉淀區(3)底部的排渣口(8)和調配區(4)底部的排渣口(8)均為漏斗狀或圓錐狀,且所述沉淀區(3)底部的排渣口(8)設置在靠近進液管(12)的一側。
4.如權利要求1或2所述的一種酸性污水中和池,其特征在于:所述折流板(11)上均勻設置有多個傾斜的擾流片(13)。
5.如權利要求1所述的一種酸性污水中和池,其特征在于:所述調配區(4)上部設置有調節管,所述調節管與pH測試探頭(7)配合調節調配區(4)內石灰乳液的pH值。
6.如權利要求1所述的一種酸性污水中和池,其特征在于:所述第一溢流堰(5)比第二溢流堰(6)高0.3—0.5m。
7.如權利要求1、2、5或6所述的一種酸性污水中和池,其特征在于:所述酸性污水進入管(9)設置在第二溢流堰(6)上方,且酸性污水進入管(9)出水口處酸性污水的流動方向與經第二溢流堰(6)的石灰乳液的流動方向相重合。
說明書
一種酸性污水中和池
技術領域
本實用新型涉及污水處理設備,具體地說涉及一種使用石灰消解后的石灰乳液來中和酸性污水的酸性污水中和池。
背景技術
現有的石油化工、紡織、印染、制藥等企業在生產過程中,均會產生酸性污水,而酸性污水是污染環境的重要污水之一,因此必須對酸性污水進行中和處理,使其pH值達到6—8后才能排放。
目前,一般使用石灰消解后的石灰乳液來中和酸性污水,常使用的設備有中和池或中和塔等。如中國專利號“201120316899.X”公開了一種酸性污水處理系統,其公開日為2012年04月18日,其技術方案為所述酸性污水處理系統包括酸性儲水槽、中和塔和污泥罐;酸性儲水槽和中和塔通過污水進水管相連接,并在污水進水管上設有電動閘I和水泵;中和塔的下部設有凈水出口、排污泥管出口和壓縮空氣進氣口,凈水出口同凈水出水管道相連接;排污泥管出口同污泥排放管道相連接,污泥排放管道的出口延伸到污泥罐中;在所述中和塔附近設有用于投放鎂系粉狀處理劑的處理劑自動上料裝置,處理劑自動上料裝置的投料口同設置在中和塔頂部的處理劑進料口相連接;中和塔的內部還設有攪拌器。
但以上述專利文件為代表的現有技術,在實際使用過程中,仍然存在著如下缺陷:一、該系統中涉及到有水泵、攪拌器和多個電動閘等需要電能驅動的設備,電能消耗較大,導致處理成本較高。二、攪拌器攪拌后,中和塔內混合液的波動較大,難以在短時間內澄清,導致每一次中和處理的時間較長。三、酸性儲水槽、中和塔和污泥罐三者分開設備,存在著占地面積廣和需要管道多的缺陷。四、當中和塔內的酸性污水和處理劑達到一定量時,只有等中和塔內本批次酸性污水處理完成后,才能繼續處理后續污水,不僅導致污水處理時間長,還導致污水的處理過程不連貫。
實用新型內容
本實用新型的目的在于解決現有技術中存在的上述問題,提供一種使用石灰消解后的石灰乳液來中和酸性污水的酸性污水中和池,本實用新型能夠持續中和處理酸性污水,并達到減少酸性污水處理時間的目的。
為實現上述目的,本實用新型采用的技術方案如下:
一種酸性污水中和池,包括池體,其特征在于:所述池體內設置有中和區、用于沉淀石灰消解液的沉淀區和用于調節石灰乳液pH值的調配區,所述沉淀區與調配區之間設置有第一溢流堰,所述調配區與中和區之間設置有第二溢流堰,且第二溢流堰上設置有pH測試探頭,所述沉淀區底部和調配區底部均設置有排渣口,所述中和區上部設置有酸性污水進入管,下部設置有排水管,中和區內設置有折流板, 所述酸性污水進入管設置在第二溢流堰周圍。
所述沉淀區、調配區和中和區均為長方體結構,所述沉淀區上部設置有進液管,所述進液管與第一溢流堰分別設置在沉淀區中兩對稱的側壁上;所述中和區內折流板的數量為多塊,多塊折流板分別豎向設置在中和區的兩對稱側壁上,且兩側壁上的折流板錯位相交。
所述沉淀區底部的排渣口和調配區底部的排渣口均為漏斗狀或圓錐狀,且所述沉淀區底部的排渣口設置在靠近進液管的一側。
所述折流板上均勻設置有多個傾斜的擾流片。
所述調配區上部設置有調節管,所述調節管與pH測試探頭配合調節調配區內石灰乳液的pH值。
所述第一溢流堰比第二溢流堰高0.3—0.5m。
所述酸性污水進入管設置在第二溢流堰上方,且酸性污水進入管出水口處酸性污水的流動方向與經第二溢流堰的石灰乳液的流動方向相重合。
本實用新型的實施過程為:石灰消解液經進液管進入沉淀區,在沉淀區和第一溢流堰的作用下,消解后的石灰渣沉淀到排渣口處,消解后的石灰乳液經第一溢流堰進入調配區,當調配區內的石灰乳液達到一定高度時,石灰乳液經第二溢流堰流向中和區,同時,打開酸性污水進入管向中和區內注入酸性污水,由于酸性污水進入管出水口處酸性污水的流動方向與經第二溢流堰的石灰乳液的流動方向相重合,因此酸性污水與調配區內溢出的石灰乳液在下落過程中就開始中和,當酸性污水與石灰乳液形成的混合液落入中和區底部后,多塊錯位相交的折流板能夠多次改變混合液的流動方向,使混合液進一步融合,當混合液流過最后一塊折流板后,混合液均勻融合,酸性污水的中和處理完成,達到pH值為6—8的排放標準。在上述過程中,第一溢流堰和第二溢流堰配合能夠防止石灰消解液和石灰乳液中的固體不溶物進入中和池,從而保證石灰乳液與酸性污水的中和效果更好;而第二溢流堰上的pH測試探頭則能測試調配區內石灰乳液的pH值是否在8—9之間,如果pH值小于8或大于9,則通過調節管向調配區加入提升堿度的堿液或降低堿度的水,直至pH值在8—9之間。
采用本實用新型的優點在于:
一、本實用新型中,沉淀區、調配區和中和區均設置于同一池體內,具有結構簡單、建造方便和占地面積小的優點。而通過第一溢流堰和第二溢流堰的配合,不僅能夠快速沉淀石灰消解液中的石灰渣,還能夠防止石灰消解液和石灰乳液中的固體不溶物進入中和池,既有利于減少酸性污水的處理時間,還有利于提高酸性污水的中和處理效果。通過調配區能夠對石灰乳液進行二次沉渣,通過pH測試探頭能夠實時測量調配區內石灰乳液的pH值,保證酸性污水的處理效果更好。通過折流板能夠改變酸性污水與石灰乳液在中和區內的流動方向,能進一步提高酸性污水與石灰乳液的中和效果。與中國專利號“201120316899.X”為代表的現有技術相比,本實用新型采用無動力自流方式輸送石灰消解液,不僅能夠持續中和處理酸性污水,還能夠減少酸性污水的處理時間,同時還有利于降低污水處理成本。
二、本實用新型中,由于石灰消解液在進入沉淀區時具有一定的速度,會對沉淀區內原有的石灰消解液造成沖擊,因此將進液管與第一溢流堰分別設置在沉淀區中兩對稱側壁上的結構能夠減小沉淀區內液體的波動,有利于加快石灰消解液中石灰渣的沉淀速度,進而有利于提高酸性污水的中和效果。通過多塊錯位相交的折流板能夠多次改變酸性污水與石灰乳液形成的混合液的流動方向,并使混合液按設定路徑流動,保證混合液的充分融合,從而使酸性污水達到安全排放的標準。
三、本實用新型中,所述沉淀區底部的排渣口和調配區底部的排渣口均為漏斗狀或圓錐狀,且所述沉淀區底部的排渣口設置在靠近進液管的一側,該結構不僅有利于快速排除調配區和沉淀區內的石灰渣,還能夠進一步減小進液管中石灰消解液對沉淀區內液體的沖擊。
四、本實用新型中,所述折流板上均勻設置有多個傾斜的擾流片,通過多個傾斜的擾流片能夠打亂混合液的流動方向,使混合液變成時時改變方向的紊流,有利于提高酸性污水與石灰乳液融合的均勻性。
五、本實用新型中,所述調配區上部設置有調節管,所述調節管與pH測試探頭配合調節調配區內石灰乳液的pH值,該結構能夠隨時調節調配區內石灰乳液的pH值,保證酸性污水達到安全排放標準。
六、本實用新型中,所述第一溢流堰比第二溢流堰高0.3—0.5m,該結構使得石灰消解液能夠自動從沉淀區流向調配區和中和區,并能有效防止石灰渣和固體不溶物進入中和區。
七、本實用新型中,所述酸性污水進入管設置在第二溢流堰上方,且酸性污水進入管出水口處酸性污水的流動方向與經第二溢流堰的石灰乳液的流動方向相重合,該結構提高了酸性污水與石灰乳液的融合力度和融合時間,對酸性污水的中和處理效果更好。







