申請日2013.08.27
公開(公告)日2013.12.11
IPC分類號C02F9/10
摘要
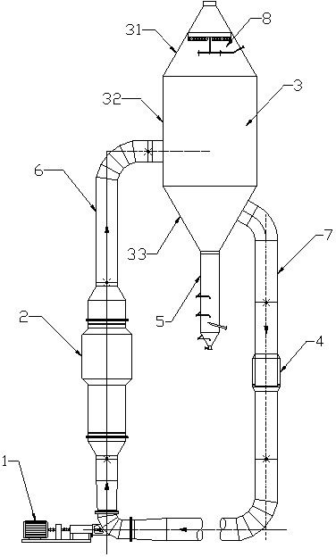
本發明公開了一種天然氣廢水用三相流分離裝置,它包括通過循環管順序連接構成循環體系的循環泵、加熱室、分離器和固液分離裝置,所述的循環管包括上循環管和下循環管,所述的分離器分為上錐段、直段和下錐段,下錐段出口連接帶浮選功能的固體收集器,所述的上循環管連接分離器直段,下循環管連接分離器下錐段,分離器頂部設置自動沖洗氣液分離裝置。本發明三相流分離裝置結構簡單、使用方便,設備能耗低,處理量范圍廣,處理效果好,實現了天然氣廢水處理裝置的大型化生產規模以及天然氣廢水的循環利用,具有較高的環保和經濟價值。
權利要求書
1.一種天然氣廢水用三相流分離裝置,其特征在于:包括通過循環管順序連接構成循環體系的循環泵、加熱室、分離器和固液分離裝置,所述的循環管包括上循環管和下循環管,所述的分離器分為上錐段、直段和下錐段,下錐段出口連接固體收集器,所述的上循環管連接分離器直段,下循環管連接分離器下錐段。
2.根據權利要求1所述的一種天然氣廢水用三相流分離裝置,其特征在于:所述的分離器上錐段設置有氣液分離裝置。
3.根據權利要求2所述的一種天然氣廢水用三相流分離裝置,其特征在于:所述的氣液分離裝置包括絲網捕沫器和沖洗水管,絲網捕沫器設置在沖洗水管上方,沖洗水管設置有數個噴嘴。
4.根據權利要求1所述的一種天然氣廢水用三相流分離裝置,其特征在于:所述的固液分離裝置包括分離筒、夾套和清液排出管,分離筒設置在下循環管內部,夾套套設于分離筒外部與下循環管連接,清液排出管設置在夾套上部。
5.根據權利要求1所述的一種天然氣廢水用三相流分離裝置,其特征在于:所述的固體收集器包括收集桶,收集桶底部設置有頂水管和事故排放管,下端設置有排料管。
6.根據權利要求1所述的一種天然氣廢水用三相流分離裝置,其特征在于:所述的固體收集器內部設置有固體浮選裝置,所述的固體浮選裝置為設置在收集桶內部的進水管,進水管出口端管口向下設置。
說明書
天然氣廢水用三相流分離裝置
技術領域
本發明涉及一種天然氣廢水用三相流分離裝置,屬于化工機械領域。
背景技術
天然氣在開采過程中會產生大量廢水,這類廢水中主要含有石油類、有機質、重金屬、酸堿物、氯離子等環境污染物,如果直接排出對井區周邊會造成極大污染。目前,對于天然氣廢水的治理主要針對石油類、有機質、重金屬和酸堿物,對于高濃度的氯離子一般采用清水稀釋的方法來處理,但是該方法不僅浪費了大量的水資源,而且也沒有回收利用廢水中的氯離子,不經濟環保。對于處理后含有高濃度氯離子的天然氣廢水,可以采用蒸發濃縮結晶脫鹽的方法回收利用廢水中的氯離子,但目前尚無分離裝置用于天然氣廢水處理,天然氣廢水治理無法實現裝置大型化生產處理。
發明內容
本發明的目的就在于針對現有技術的不足,提供一種天然氣廢水用三相流分離裝置。
為了實現上述目的,本發明采用的技術方案是這樣的:
一種天然氣廢水用三相流分離裝置,包括通過循環管順序連接構成循環體系的循環泵、加熱室、分離器和固液分離裝置,所述的循環管包括上循環管和下循環管,所述的分離器分為上錐段、直段和下錐段,下錐段出口連接固體收集器,所述的上循環管連接分離器直段,下循環管連接分離器下錐段。所述的固體收集器包括收集桶,收集桶底部設置有頂水管和事故排放管,下端設置有排料管。頂水管內部通一定流速的水流使收集桶內部流態化,帶動沉降在底部的顆粒流動從排料管排出。
循環泵將待處理的廢水打入加熱室中預熱,然后通過上循環管進入分離器中析出結晶,由于重量的差異,分離出的蒸汽上升至分離器上錐段進入下一道工序,結晶的大顆粒和液體混合的料液落入到固體收集器中進行固液分離得到結晶顆粒,結晶小顆粒料液進入下循環管在固液分離裝置中初步分離,清液進入下一道工序,結晶小顆粒由循環管再次帶入分離器中進行結晶直至得到規定粒度的結晶大顆粒分離出來。
從節能降耗的角度出發,廢水處理三相流分離裝置可以設置為多級使用,上一級分離裝置出來的蒸汽進入到下一級分離裝置的加熱室中作為熱源使用,末級分離裝置的蒸汽冷凝為循環水使用。
由于分離器中出來的蒸汽夾帶著含有氯離子的液沫,如果直接將其排出到下一級加熱室使用,不僅影響傳熱效果,同時也會腐蝕加熱室。末級分離裝置的分離器中由于氣流速度更大,蒸汽夾帶液沫的現象更為嚴重,嚴重影響了循環水的質量,增加了外排氯離子量,污染環境。針對上述不足,作為本發明的進一步改進,所述的分離器上錐段設置有氣液分離裝置,所述的氣液分離裝置包括絲網捕沫器和沖洗水管,絲網捕沫器設置在沖洗水管上方,沖洗水管設置有數個噴嘴。由于絲網捕沫器上的絲網可以使蒸汽通過,而液沫則在絲網上停留,從而將蒸汽與液沫分離,得到更為清潔的蒸汽,提高了循環水的質量,減少了外排氯離子量,降低了對環境的污染。沖洗水管定時沖洗絲網捕沫器,防止液沫堵塞絲網捕沫器,保證絲網捕沫器分離蒸汽與液沫的分離效果。
所述的固液分離裝置包括分離筒、夾套和清液排出管,分離筒設置在下循環管內部,夾套套設于分離筒外部與下循環管連接,清液排出管設置在夾套上部。當有一定固液比的料液從下循環管進入分離筒后,料液在下降過程中,迅速填充夾套,當達到一定重量時,固體顆粒沉降。由于固體顆粒的密度大于液體,上升速度慢,清液在夾套中更早到達清液排出管排出,由于夾套與分離筒之間的間隙存在的面積差,固體顆粒在未達到清液排出管時以達到沉降重量沉降下來,如此往復便實現了固體顆粒和清液的分離。
為了提高固體收集器中分離出的固體顆粒純度,保證分離出來的固體達到產品要求,在所述的固體收集器內部設置有固體浮選裝置,所述的固體浮選裝置為設置在收集桶內部的進水管,進水管出口端管口向下設置。根據雜質、顆粒的密度不同,通過在收集桶不同位置設置進水管,使不同位置的液面呈流態化狀態,從而使重量較輕的雜質漂浮在液面,重量較重的顆粒沉降至排料管排出。
本發明預熱過后的熱料液從分離器直段進入分離器,汽化速度快,分離器內料液液位控制較低,靜液柱壓力損失小,料液波動小,蒸汽帶沫現象輕,同時料液在液面上方開始汽化,氣體影響不到罐內液位檢測。
本發明三相流分離裝置結構簡單、使用方便,設備能耗低,處理范圍廣,實現了天然氣廢水處理裝置的大型化生產規模以及天然氣廢水的循環利用,具有較高的環保和經濟價值。







