公開(公告)日2015.04.01
IPC分類號E03C1/12; E03C1/14; E03C1/182
摘要
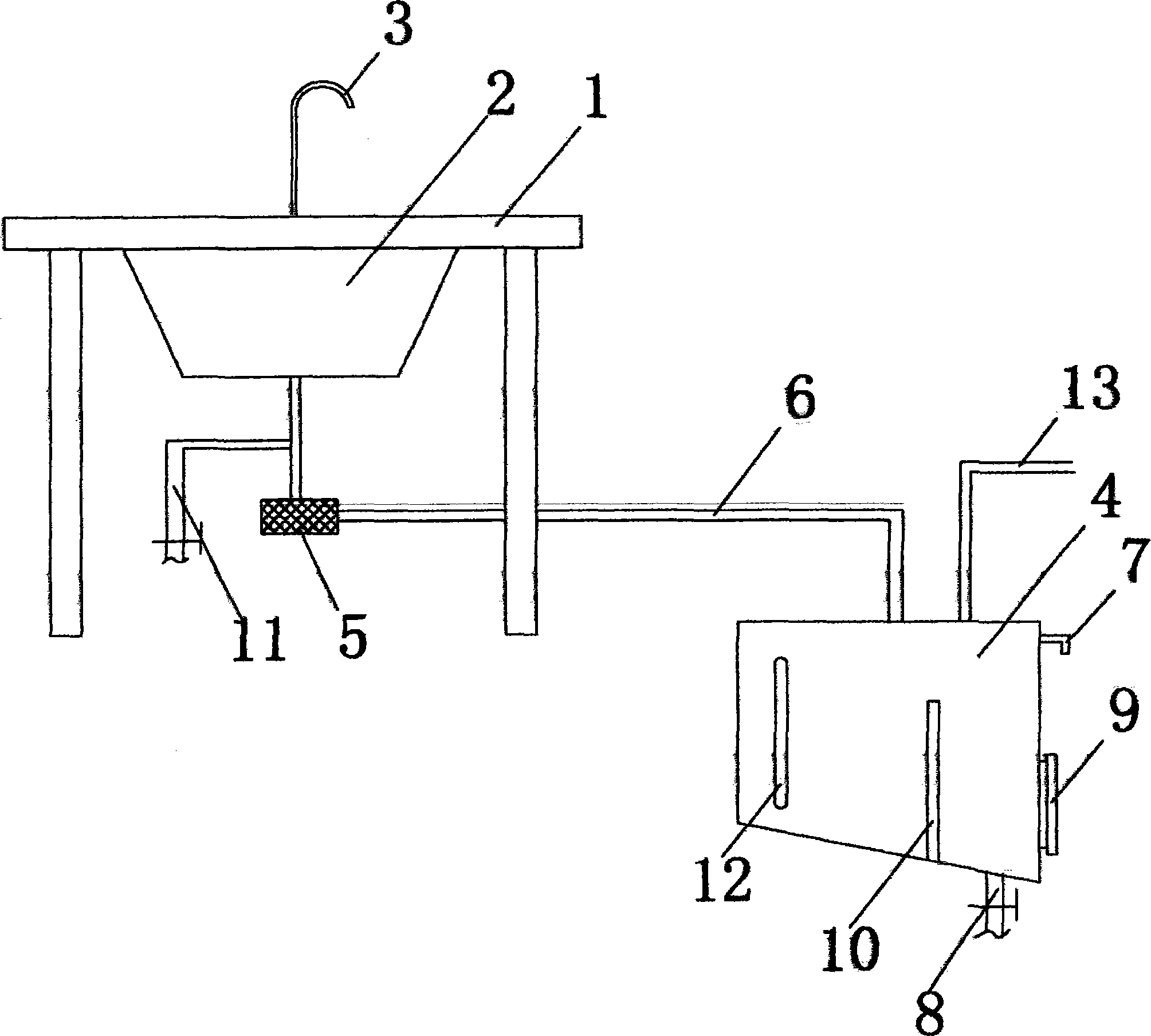
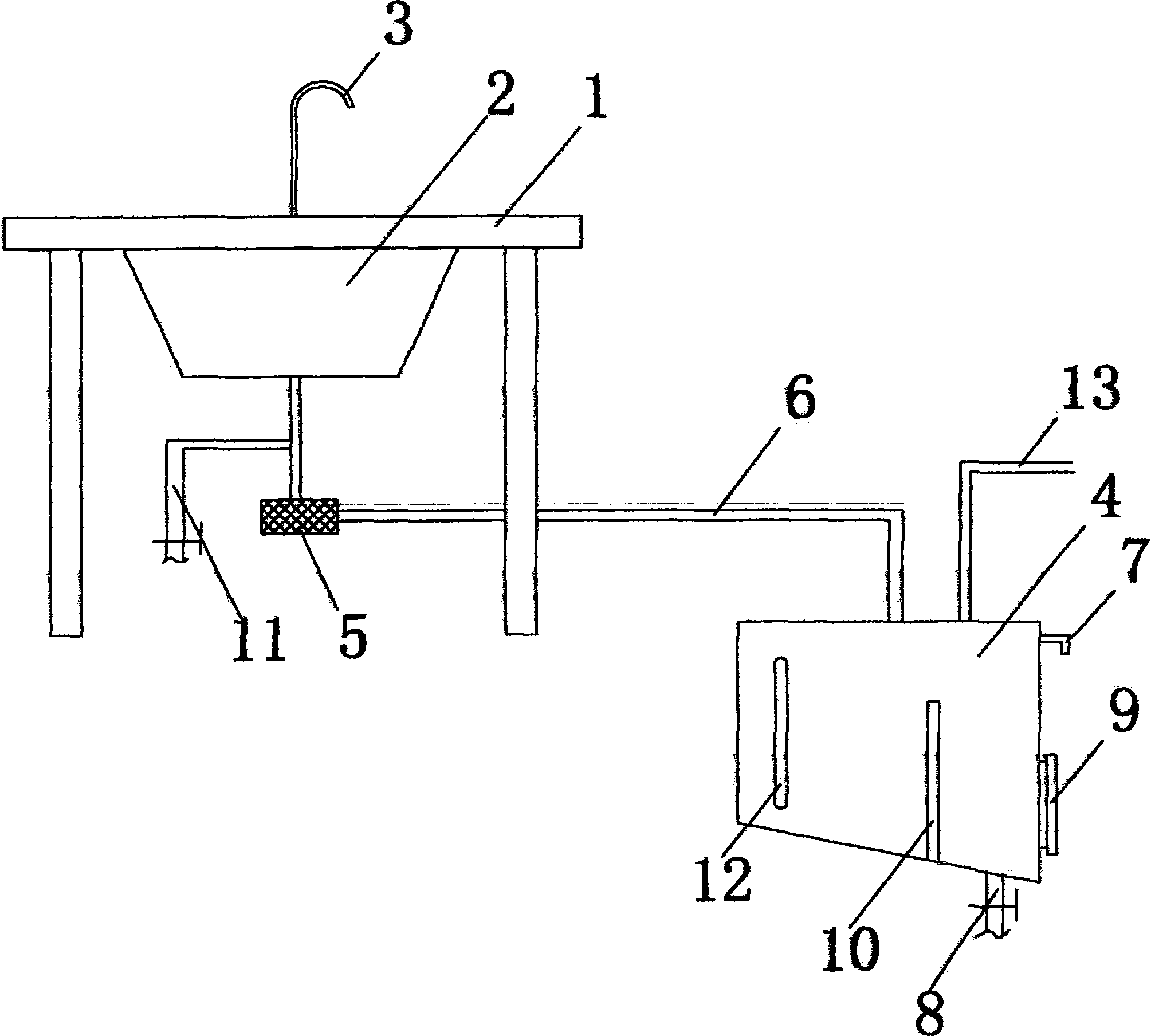
本實用新型涉及一種新型廢水回用設備,其包括水池臺、水池、水龍頭、蓄水箱以及過濾器;其中,所述水池嵌設在水池臺上;所述水龍頭安裝于水池臺上,并位于水池上方;所述水池和蓄水箱通過一排水管連接;所述過濾器安裝于排水管上;所述蓄水箱的上部設有一溢水管,底部呈傾斜設置;于所述蓄水箱的底部設有一出水管,側部設有一清淤口;于所述蓄水箱內設有一隔板;所述排水管、蓄水箱的連接處與出水管、蓄水箱的連接處位于隔板的不同側。本實用新型的新型廢水回用設備具有結構簡單,成本低且使用方便等諸多優點,其能將洗手水、洗衣水等生活廢水進行有效處理,并進行二次利用,大大節約了水資源。
權利要求書
1.一種新型廢水回用設備,其特征在于:包括水池臺、水池、 水龍頭、蓄水箱以及過濾器;其中,所述水池嵌設在水池臺上; 所述水龍頭安裝于水池臺上,并位于水池上方;所述水池和蓄水 箱通過一排水管連接;所述過濾器安裝于排水管上;所述蓄水箱 的上部設有一溢水管,底部呈傾斜設置;于所述蓄水箱的底部設 有一出水管,側部設有一清淤口;于所述蓄水箱內設有一隔板; 所述排水管、蓄水箱的連接處與出水管、蓄水箱的連接處位于隔 板的不同側。
2.如權利要求1所述的新型廢水回用設備,其特征在于:于 所述蓄水箱上豎直設置有一透明有機玻璃觀察柱。
3.如權利要求1所述的新型廢水回用設備,其特征在于:于 所述排水管上連接有一排水支管。
4.如權利要求1所述的新型廢水回用設備,其特征在于:于 所述蓄水箱的頂部連接有一排氣管。
說明書
一種新型廢水回用設備
【技術領域】
本實用新型涉及一種廢水回收利用設備,具體涉及一種新型 廢水回用設備,屬于環保設備技術領域。
【背景技術】
隨著水資源的日益緊張,人們逐漸意識到節水的重要性,因 此,市場上也出現了各種各樣的節水裝置。
然而,在日常生活中,人們通常還是將洗手水、洗衣水等生 活廢水直接排掉,沒有對上述生活廢水進行二次利用,造成了大 量水資源的浪費。
因此,為避免上述技術問題,確有必要提供一種新型的新型 廢水回用設備,以克服現有技術中的所述缺陷。
【實用新型內容】
為解決上述技術問題,本實用新型的目的在于提供一種結構 簡單,成本低且使用方便的新型廢水回用設備。
為實現上述目的,本實用新型采取的技術方案為:一種新型廢水回用設備,其包括水池臺、水池、水龍頭、蓄水箱以及過濾 器;其中,所述水池嵌設在水池臺上;所述水龍頭安裝于水池臺 上,并位于水池上方;所述水池和蓄水箱通過一排水管連接;所 述過濾器安裝于排水管上;所述蓄水箱的上部設有一溢水管,底 部呈傾斜設置;于所述蓄水箱的底部設有一出水管,側部設有一 清淤口;于所述蓄水箱內設有一隔板;所述排水管、蓄水箱的連 接處與出水管、蓄水箱的連接處位于隔板的不同側。
本實用新型的新型廢水回用設備進一步設置為:于所述蓄水 箱上豎直設置有一透明有機玻璃觀察柱。
本實用新型的新型廢水回用設備進一步設置為:于所述排水 管上連接有一排水支管。
本實用新型的新型廢水回用設備還設置為:于所述蓄水箱的 頂部連接有一排氣管。
與現有技術相比,本實用新型具有如下有益效果:本實用新 型的新型廢水回用設備具有結構簡單,成本低且使用方便等諸多 優點,其能將洗手水、洗衣水等生活廢水進行有效處理,并進行 二次利用,大大節約了水資源。







