申請日2014.10.15
公開(公告)日2016.08.10
IPC分類號B01F7/00; B21D53/26; B29C65/00
摘要
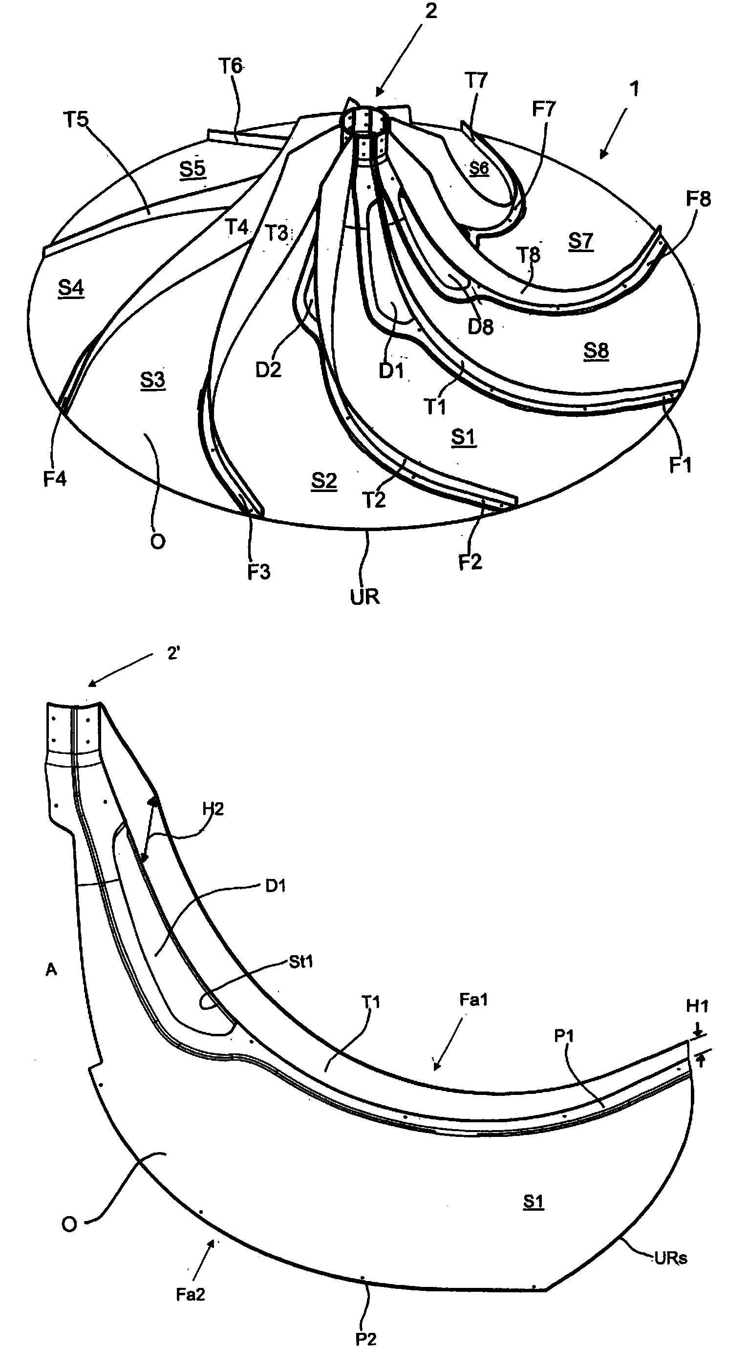
本發明涉及一種攪拌體(1),尤其是用于在污水處理池中產生水流的攪拌體,具有雙曲面形或截頂錐形,并具有用于與攪拌器軸(3)連接的中央連接部(2)。為簡化攪拌體(1)的制造并減少運輸開銷,依據本發明提出的攪拌體(1)由多個部段(S1…S8)構成,所述部段(S1…S8)沿著從圓周邊緣(UR)向所述連接部(2)方向延伸的接合區(F1…F8)彼此連接。
權利要求書
1.一種攪拌體(1),尤其用于在污水處理池中產生水流,具有雙曲面形或截頂錐形,并具有用于與攪拌器軸(3)連接的中央連接部(2),
其特征在于,
所述攪拌體(1)由多個部段(S1…S8)構成,所述部段(S1…S8)沿著從圓周邊緣(UR)向所述連接部(2)的方向延伸的接合區(F1…F8)彼此連接。
2.根據權利要求1所述的攪拌體(1),其中,所述部段(S1…S8)分別具有第一接合部(Fa1)和第二接合部(Fa2),所述第一接合部(Fa1)具有第一接合形狀(P1),所述第二接合部(Fa2)具有與所述第一接合形狀(P1)相對應的第二接合形狀(P2)。
3.根據前述權利要求中任意一項所述的攪拌體(1),其中,所述第一接合形狀(P1)被構造為臺階的形式。
4.根據前述權利要求中任意一項所述的攪拌體(1),其中,所述臺階的高度與所述部段(S1…S8)在所述第二接合部(Fa2)區域中的厚度(D)相對應。
5.根據前述權利要求中任意一項所述的攪拌體(1),其中,在所述第一接合部(Fa1)的范圍內在所述部段(S1…S8)中設置缺口(D1…D8)。
6.根據前述權利要求中任意一項所述的攪拌體(1),其中,所述缺口(D1…D8)在所述部段(S1…S8)的徑向內半部分沿著所述第一接合部(Fa1)延伸。
7.根據前述權利要求中任意一項所述的攪拌體(1),其中,與所述缺口(D1-D8)在切線方向上相對的所述第二接合部(Fa2)的一部分具有邊緣凹部(A)。
8.根據前述權利要求中任意一項所述的攪拌體(1),其中,多個部段(S1…S8),優選全部部段(S1…S8)分別具有從其圓周邊緣段(URs)向其連接部段(2)延伸的傳輸肋(T1…T8)。
9.根據前述權利要求中任意一項所述的攪拌體(1),其中,所述傳輸肋(T1…T8)的高度從所述圓周邊緣段(URs)向所述缺口(D1…D8)增加,并隨后向所述連接部段(2)的方向再減少。
10.根據前述權利要求中任意一項所述的攪拌體(1),其中,所述傳輸肋(T1…T8)從所述第一接合部(Fa1)延伸。
11.根據前述權利要求中任意一項所述的攪拌體(1),其中,所述傳輸肋(T1…T8)部分地限制所述缺口(D1-D8)。
12.根據前述權利要求中任意一項所述的攪拌體(1),其中,所述第一(Fa1)和第二接合部(Fa2)在徑向方向上從所述圓周邊緣(UR)朝向所述連接部(2)的方向彎曲。
13.根據前述權利要求中任意一項所述的攪拌體(1),其中,所述第一(Fa1)和第二接合部(Fa2)上有彼此相對應的配合裝置。
14.根據前述權利要求中任意一項所述的攪拌體(1),其中,所述第一(Fa1)和第二接合部(Fa2)上有彼此相對應的固定裝置。
15.根據前述權利要求中任意一項所述的攪拌體(1),其中,所述連接部(2)具有另外的缺口以供固定裝置通過,以固定至攪拌器軸(3)。
16.根據前述權利要求中任意一項所述的攪拌體(1),其中所述部段(S1…S8)由澆鑄合成材料或者由金屬制成。
17.根據前述權利要求中任意一項所述的攪拌體(1),其中所述合成材料選自:聚烯烴,尤其是PP、PS、PA、POM、EVAC、GFK、NCF、SAN、UP、VPE、Tellene、ABS、HDPE。
18.根據前述權利要求中任意一項所述的攪拌體(1),其中所述連接部(2)上安裝了用于與所述攪拌器軸(3)相連接的連接元件。
19.根據前述權利要求中任意一項所述的攪拌體(1),其中所述部段(S1…S8)彼此擰在一起和/或粘在一起。
20.根據前述權利要求中任意一項所述的攪拌體(1),其中所述部段(S1…S8)構造相同。
21.一種用于在污水處理池中產生水流的攪拌裝置,其中在從驅動裝置延伸出的攪拌器軸(3)上安裝了根據前述權利要求中任意一項所述的攪拌體(1)。
22.根據權利要求21所述的攪拌裝置,其中所述攪拌器軸(3)具有軸向延伸的肋(4),所述肋(4)與所述連接部(2)上與其相對應的槽(5)相嚙合。
說明書
用于在污水處理池中產生水流的攪拌體和攪拌裝置
技術領域
本發明涉及一種根據權利要求1前序部分所述的攪拌體以及一種用于在污水處理池中產生水流的攪拌裝置。
背景技術
例如由DE 91 06 639.5 U1已知一種攪拌裝置,在已知的攪拌裝置中,被實施為雙曲面形的攪拌體實際上一般直徑為1.5至3米。在設置在中間或中央的連接部安裝攪拌軸。
這樣的攪拌體由玻璃纖維增強合成材料制成。為此以手工方式采用合適的模具將由玻璃纖維制成的織物層疊在一起。生產這樣的攪拌體的成本很高。除此之外,攪拌體體積大并需要很大的運輸空間。
發明內容
本發明的任務在于克服現有技術中的缺點。尤其應提出一種能夠盡可能簡單地并以低成本制造的攪拌體和攪拌裝置。根據本發明另一目的,所提出的攪拌體和攪拌裝置應能夠減少運輸開銷。
通過權利要求1和21的特征實現上述目的。由權利要求2-20以及權利要求22的特征給出依據本發明的有利的實施方式。
根據本發明,攪拌體由多個部段構成,所述部段沿著從圓周邊緣向連接部方向延伸的接合區彼此連接。制造這種部段需要的開銷顯著降低。使用小得多的模具就可以制造這些部段。通過用部段構成攪拌體,能夠將其以拆解狀態運輸至使用地點,并現場安裝。這樣節約運輸成本。意外的發現依據本發明的攪拌體具有非常好的機械穩定性,堪比傳統的、一體制造的攪拌體的機械穩定性。
根據本發明的一個有利實施方式,所述部段分別具有第一接合部和第二接合部,所述第一接合部具有第一接合形狀,所述第二接合部具有與所述第一接合形狀相對應的第二接合形狀。第一接合形狀優選地被構造為臺階的形式。臺階的高度優選與部段在第二接合部區域中的厚度相對應。在這種情況下,第二接合形狀能夠有利地被構造為平坦的。
根據本發明的另一個實施方式,在第一接合部的范圍內在部段中設置缺口。缺口有利地在部段的徑向內半部分沿著第一接合部延伸。“部段的徑向內半部分”理解為包括連接部的連接部段的半部分。在切線方向上與缺口相對的第二接合部的一部分具有邊緣凹部。該邊緣凹部在其徑向延伸量上與缺口的徑向延伸量相對應,以使得在安裝好的狀態下,凹部能夠補足相鄰的部段的缺口。
根據本發明的一個特別有利的實施方式,多個部段,優選全部部段分別具有從其圓周邊緣段向其連接部段延伸的傳輸肋。傳輸肋的高度優選從圓周邊緣段向缺口逐漸增加,并隨后向所述連接部段的方向再逐漸減少。傳輸肋在圓周邊緣段區域的最小高度和最大高度之間的比例例如在1:5至1:100之間,優選1:5至1:20。
傳輸肋有利地從第一接合部延伸。傳輸肋優選地與第一接合部一體形成,并且厚度與部段的厚度大致相同。被構造為橋形的傳輸肋有利地具有大致上矩形的截面。傳輸肋能夠部分地限制缺口,并在缺口范圍內具有穿過缺口延伸的橋,在安裝好的狀態下該橋嵌入相鄰部段的第二接合部中的邊緣凹部內。由此以簡單的方式實現與相鄰的部段的精確接合。
在第一和第二接合部上當然也能夠設置其他形狀彼此對應的配合裝置。可以是錐形栓和與其相對應的凹部、橋和與其相對應的槽狀凹部或者類似的。
此外能夠在第一和第二接合形狀上設置彼此相對應的固定裝置。例如可以是螺紋襯套和供螺絲通過的缺口或類似物。
連接部具有另外的缺口以供固定裝置通過,以將攪拌體固定至攪拌器軸。固定裝置可以是例如螺絲、鉚釘或類似物。
根據本發明一個特別有利的實施方式,部段由澆鑄合成材料或者由金屬制成。合成材料能夠由兩種成分組成。能夠使用尤其是聚烯烴,尤其是PP、PS、ABS、PA、POM、EVAC、GFK、NCF、SAN、UP、VPE、Tellene、HDPE或其它適合通過澆鑄或噴鑄方式加工的合成材料作為合成材料。噴鑄加工方式尤其包括熱塑性噴鑄法、熱固性噴鑄法、多成分噴鑄法、尤其是模內法或粉末噴鑄法。澆鑄法尤其包括真空澆鑄法。合成材料中能夠附加短纖維以提高其剛性。
還可能的是,用壓鑄法由金屬尤其是由鋁合金制造部段,合金可以是AlSi9Cu3(Fe),AlSi12Cu1(Fe),AlSi12(Fe)以及AlSi10MgCu。
根據另一實施方式,能夠在連接部上安裝用于與攪拌器軸相連接的連接元件。這樣的連接元件可以被構造為轉接器形式。由此,攪拌體能夠配置有多種市場常見的軸連接件以用于連接。
有利地,第一和第二接合部在徑向方向上從圓周邊緣朝向連接部的方向彎曲。即,第一和第二接合部在圓周邊緣的范圍傾斜延伸,并隨后在徑向方向上彎向連接部的方向。傳輸肋在此有利地與第一接合區平行延伸。傳輸肋的彎曲的走向使得在污水中高效地產生水流成為可能。
根據另一實施方式,部段彼此擰在一起和/或粘在一起。尤其是螺紋連接和膠粘連接的組合實現特別穩定的攪拌體。
每個部段能夠具有至少一個傳輸肋。盡管有利的是,每個部段只具有一個攪拌肋并由此被構造得相對窄,但是每個部段具有多個傳輸肋仍是可能的。
無論如何,非常有利的是,部段構造相同。這樣在制造攪拌體時只需要提供一種形狀。
本發明還提出了一種用于在污水處理池中產生水流的攪拌裝置,其中在從驅動裝置延伸出的攪拌器軸上安裝了根據本發明的攪拌體。這樣的攪拌裝置制造方式簡單,運輸開銷小。
根據一有利的實施方式,攪拌器軸具有軸向延伸的肋,肋與連接部上與其相對應的槽相嚙合。在連接部內圓周上設置的軸向槽有利地通過部段的相鄰的連接部段的第一接合形狀構成。







