申請日2014.10.15
公開(公告)日2015.03.11
IPC分類號C02F1/52; B01D21/02
摘要
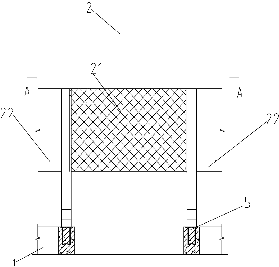
本實用新型公開了一種具有可移動式柔性水下導流墻的污水預處理池,包括長方形污水預處理池,該污水預處理池內設置有第一導流墻和第二導流墻,該第一導流墻設置在進水口的一側,該第二導流墻設置在出水口的一側,第一導流墻和第二導流墻都具有使水流速度減慢,使水中攜帶的泥沙顆粒物有足夠的沉降時間。本實用新型具有建造工藝簡單、建設周期短、更換方便、便于維修,將有效的沉淀沉沙。
權利要求書
1.一種具有可移動式柔性水下導流墻的污水預處理池,其特征在于包括長方形污水預處理池,該污水預處理池內設置有第一導流墻和第二導流墻,該第一導流墻設置在進水口的一側,該第二導流墻設置在出水口的一側,第一導流墻和第二導流墻都具有使水流速度減慢,使水中攜帶的泥沙顆粒物有足夠的沉降時間;
其中,該第一導流墻為柔性導流墻,該第一導流墻包括砼導流墻、地梁以及橡膠導流墻,其中,所述砼導流墻底部與地梁固定連接,所述砼導流墻之間通過橡膠導流墻連接,所述砼導流墻與所述地梁均為預制結構,所述砼導流墻與所述地梁連接成一體結構后沉放到水中。
2.根據權利要求1所述的具有可移動式柔性水下導流墻的污水預處理池,其特征在于,所述第二導流墻包括砼導流墻和地梁,所述砼導流墻底部與地梁固定連接。
3.根據權利要求1所述的具有可移動式柔性水下導流墻的污水預處理池,其特征在于,所述第一導流墻和所述第二導流墻長度均大于污水預處理池的長度的2/3。
4.根據權利要求1所述的具有可移動式柔性水下導流墻的污水預處理池,其特征在于,所述第一導流墻的砼導流墻與橡膠導流墻之間可拆卸連接。
5.根據權利要求1所述的具有可移動式柔性水下導流墻的污水預處理池,其特征在于,所述砼導流墻和所述地梁均采用C25混凝土預制。
6.根據權利要求1所述的具有可移動式柔性水下導流墻的污水預處理池,其特征在于,所述砼導流墻柱腳與所述地梁之間焊接連接。
7.根據權利要求1所述的具有可移動式柔性水下導流墻的污水預處理池,其特征在于,所述第一導流墻中的砼導流墻之間的的距離為1-2m。
8.根據權利要求1所述的具有可移動式柔性水下導流墻的污水預處理池,其特征在于,所述橡膠導流墻包括兩層柔性鐵絲網和橡膠墊,所述兩層柔性鐵絲網將橡膠墊加持固定。
說明書
一種具有可移動式柔性水下導流墻的污水預處理池
技術領域
本實用新型涉及一種導流墻,尤其是涉及一種具有可移動式柔性水下導流墻的污水預處理池。
背景技術
目前,采用江河湖泊等地表水為水源的污水處理池,為了避免污水處理進行粗處理,首先避免污水處理池內產生死水區,避免污水池內導致藻類繁殖水質變壞;其次,污水處理池中需要對流入污水處理池內的泥沙進行除去,需要依靠導流墻實現該功能,若沒有導流墻,水流走的路徑太短,塵沙不會充分沉淀,若設置導流墻會使流水的路徑較長,從而使水中的沉沙充分沉淀,目前使用的導流墻都是實體不可移動的導流墻,造價高,施工難度大,使用壽命短,維修率頻率高,而且都是實體導流墻,導流墻不能發揮作用,沉降的塵沙,后期由于導流墻固定在污水池內,不能移動,因此,不容易對導流墻進行移動,除去沉降的泥沙。
實用新型內容
本實用新型的目的是提供一種具有可移動式柔性水下導流墻的污水處理池,使其具有建造工藝簡單、建設周期短、更換方便、便于維修,將有效的沉淀沉沙,有效防止在水池中產生死水區的優點。
為解決上述技術問題,本實用新型一種具有可移動式柔性水下導流墻的污水預處理池,包括長方形污水預處理池,該污水預處理池內設置有第一導流墻和第二導流墻,該第一導流墻設置在進水口的一側,該第二導流墻設置在出水口的一側,第一導流墻和第二導流墻都具有使水流速度減慢,使水中攜帶的泥沙顆粒物有足夠的沉降時間;
其中,該第一導流墻為柔性導流墻,該第一導流墻包括砼導流墻、地梁以及橡膠導流墻,其中,所述砼導流墻底部與地梁固定連接,所述砼導流墻之間通過橡膠導流墻連接,所述砼導流墻與所述地梁均為預制結構,所述砼導流墻與所述地梁連接成一體結構后沉放到水中。
所述第二導流墻包括砼導流墻和地梁,所述砼導流墻底部與地梁固定連接。
所述第一導流墻和所述第二導流墻長度均大于污水預處理池的長度的2/3。
所述第一導流墻的砼導流墻與橡膠導流墻之間可拆卸連接。
所述砼導流墻和所述地梁均采用C25混凝土預制。
所述砼導流墻柱腳與所述地梁之間焊接連接。
所述第一導流墻中的砼導流墻之間的的距離為1-2m.
所述橡膠導流墻包括兩層柔性鐵絲網和橡膠墊,所述兩層柔性鐵絲網將橡膠墊加持固定。
本實用新型具有可移動式柔性水下導流墻的污水預處理池具有施工工藝較簡單,建設周期短,可適用于水下地形平緩的不同水深,投資較低,更換方便,便于維修等特點,可移動性好,其中實用的導流墻可移動性好,該污水預處理池可隨時將導流墻拆卸后,方便將預處理池中的污泥除去。
下面通過附圖和實施例,對本實用新型的技術方案做進一步的詳細描述。







