公布日:2023.12.05
申請日:2023.09.25
分類號:C02F9/00(2023.01)I;C02F1/00(2023.01)I;B01D36/04(2006.01)I;B01D21/24(2006.01)I;B01F27/90(2022.01)I;C02F1/42(2023.01)I;C02F101/14(2006.01)N;C02F103
/34(2006.01)N
摘要
本發明涉及一種半導體生產加工用廢水處理裝置,包括底架、沉淀室、過濾室、濾網、清除組件、攪拌組件、出料組件,所述沉淀室位于底架上方,所述沉淀室的外部固定連接有出水管,所述過濾室位于底架上方,所述過濾室與沉淀室之間設有輸送管,所述輸送管的外部設有水泵,所述過濾室的頂部安裝有進水管,所述濾網固定連接在過濾室內,所述清除組件設置在過濾室內,用于將濾網上的雜質吸走,所述攪拌組件設置在沉淀室中;本發明中,通過設置的過濾室,能夠對含氟廢水中的雜質進行過濾處理,通過沉淀室的設置,能夠在含氟廢水進入沉淀室內時,對廢水中的氟進行處理,實現沉淀,使得處理后的水液達到排放標準。

權利要求書
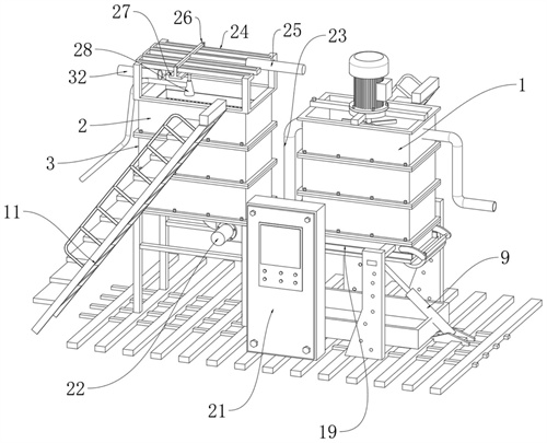
1.一種半導體生產加工用廢水處理裝置,其特征在于,包括底架(4);沉淀室(1),所述沉淀室(1)位于底架(4)上方,所述沉淀室(1)的外部固定連接有出水管(5);過濾室(2),所述過濾室(2)位于底架(4)上方,所述過濾室(2)與沉淀室(1)之間設有輸送管(23),所述輸送管(23)的外部設有水泵(22),所述過濾室(2)的頂部安裝有進水管(32);濾網(29),所述濾網(29)固定連接在過濾室(2)內;清除組件,所述清除組件設置在過濾室(2)內,用于將濾網(29)上的雜質吸走;攪拌組件,所述攪拌組件設置在沉淀室(1)中,用于對廢水和處理藥劑進行攪拌處理;出料組件,所述出料組件設置在沉淀室(1)的底部,用于將沉淀物排出。
2.根據權利要求1所述的一種半導體生產加工用廢水處理裝置,其特征在于,所述過濾室(2)的頂部固定連接有支撐架(24),所述清除組件包括滑動設置在支撐架(24)外部的滑動框(26)以及設置在滑動框(26)底部的吸管(28),所述支撐架(24)上固定連接有電動推桿(25),所述電動推桿(25)的活塞桿與滑動框(26)固定連接,所述吸管(28)的外部固定連接有負壓管(31),所述負壓管(31)的一端與設置在底架(4)上的吸塵風機的輸入端固定連接。
3.根據權利要求2所述的一種半導體生產加工用廢水處理裝置,其特征在于,所述支撐架(24)的底部固定連接有電動滑軌(27),所述吸管(28)與電動滑軌(27)中的滑塊固定連接。
4.根據權利要求3所述的一種半導體生產加工用廢水處理裝置,其特征在于,所述攪拌組件包括固定連接在沉淀室(1)頂部的電機(6)、固定連接在電機(6)驅動軸上的轉桿(7)以及固定連接在轉桿(7)外部的多組攪拌軸(8)。
5.根據權利要求4所述的一種半導體生產加工用廢水處理裝置,其特征在于,所述沉淀室(1)的底部為開口結構,所述出料組件包括轉動設置在沉淀室(1)底部的阻擋板(19)以及鉸接在底架(4)上的第一液壓缸(9),所述第一液壓缸(9)的活塞桿與阻擋板(19)鉸接,所述沉淀室(1)的外部固定連接有固定架(12),所述固定架(12)上轉動連接有轉柱(13),所述阻擋板(19)與轉柱(13)固定連接。
6.根據權利要求5所述的一種半導體生產加工用廢水處理裝置,其特征在于,所述底架(4)上還設有箱體(21),所述箱體(21)內固定連接有第二液壓缸(14),所述第二液壓缸(14)的活塞桿的外部固定連接有齒條(16),所述箱體(21)內還轉動連接有齒輪(15),所述齒輪(15)的外部固定連接有轉軸(17),所述轉軸(17)的一端延伸至箱體(21)的外部后固定連接有支撐塊(18),所述箱體(21)的底部還固定連接有接近傳感器(20),所述箱體(21)的外部設有控制器(30),所述第一液壓缸(9)、第二液壓缸(14)、接近傳感器(20)以及電動推桿(25)均與控制器(30)電性耦接。
7.根據權利要求6所述的一種半導體生產加工用廢水處理裝置,其特征在于,所述沉淀室(1)以及過濾室(2)均由多組回字框(3)疊加固定組成。
8.根據權利要求7所述的一種半導體生產加工用廢水處理裝置,其特征在于,所述沉淀室(1)以及過濾室(2)的外部均安裝有樓梯(11),所述沉淀室(1)的底部設有收集框(10)。
發明內容
針對現有專利中都是對廢水進行過程處理,而沒有對廢水中的氟進行處理,所以過濾后還是不符合排放標準的技術問題,本發明提供一種半導體生產加工用廢水處理裝置。
本發明所采用的技術方案是:一種半導體生產加工用廢水處理裝置,包括底架、沉淀室、過濾室、濾網、清除組件、攪拌組件、出料組件,所述沉淀室位于底架上方,所述沉淀室的外部固定連接有出水管,所述過濾室位于底架上方,所述過濾室與沉淀室之間設有輸送管,所述輸送管的外部設有水泵,所述過濾室的頂部安裝有進水管,所述濾網固定連接在過濾室內,所述清除組件設置在過濾室內,用于將濾網上的雜質吸走,所述攪拌組件設置在沉淀室中,用于對廢水和處理藥劑進行攪拌處理,所述出料組件設置在沉淀室的底部,用于將沉淀物排出。
通過采用上述技術方案,能夠對含氟廢水進行處理,通過設置的過濾室,能夠對含氟廢水中的雜質進行過濾處理,通過沉淀室的設置,能夠在含氟廢水進入沉淀室內時,對廢水中的氟進行處理,實現沉淀,使得處理后的水液達到排放標準。
進一步的是,所述過濾室的頂部固定連接有支撐架,所述清除組件包括滑動設置在支撐架外部的滑動框以及設置在滑動框底部的吸管,所述支撐架上固定連接有電動推桿,所述電動推桿的活塞桿與滑動框固定連接,所述吸管的外部固定連接有負壓管,所述負壓管的一端與設置在底架上的吸塵風機的輸入端固定連接。
通過采用上述技術方案,能夠通過吸管將濾網上的雜質進行吸收去除,避免雜質的堆積對濾網造成堵塞。
進一步的是,所述支撐架的底部固定連接有電動滑軌,所述吸管與電動滑軌中的滑塊固定連接。
通過采用上述技術方案,能夠通過電動滑軌控制吸管進行前后移動,實現吸管對濾網的全方位吸附處理。
進一步的是,所述攪拌組件包括固定連接在沉淀室頂部的電機、固定連接在電機驅動軸上的轉桿以及固定連接在轉桿外部的多組攪拌軸。
通過采用上述技術方案,能夠通過電機帶動轉桿和攪拌軸的轉動,實現對沉淀室中的廢水進行攪拌使其與處理劑能夠充分反應,從而實現快速沉淀,提升處理效率。
進一步的是,所述沉淀室的底部為開口結構,所述出料組件包括轉動設置在沉淀室底部的阻擋板以及鉸接在底架上的第一液壓缸,所述第一液壓缸的活塞桿與阻擋板鉸接,所述沉淀室的外部固定連接有固定架,所述固定架上轉動連接有轉柱,所述阻擋板與轉柱固定連接。
通過采用上述技術方案,能夠在阻擋板打開時,然后在重力的作用下,所以沉淀物能夠掉落在收集框內實現沉淀物的自動排放。
進一步的是,所述底架上還設有箱體,所述箱體內固定連接有第二液壓缸,所述第二液壓缸的活塞桿的外部固定連接有齒條,所述箱體內還轉動連接有齒輪,所述齒輪的外部固定連接有轉軸,所述轉軸的一端延伸至箱體的外部后固定連接有支撐塊,所述箱體的底部還固定連接有接近傳感器,所述箱體的外部設有控制器,所述第一液壓缸、第二液壓缸、接近傳感器以及電動推桿均與控制器電性耦接。
通過采用上述技術方案,能夠在第二液壓缸帶動齒條向下運動,且運動接近箱體的內底部時,所以能夠被接近傳感器檢測到,然后接近傳感器將信號發送給控制器后,控制器啟動第一液壓缸運動;第一液壓缸帶動阻擋板翻轉打開,從而能夠將沉淀室的底部開口打開,然后在重力的作用下,所以沉淀物能夠掉落在收集框內,實現聯動控制。
進一步的是,所述沉淀室以及過濾室均由多組回字框疊加固定組成。
通過采用上述技術方案,能夠方便安裝。
進一步的是,所述沉淀室以及過濾室的外部均安裝有樓梯,所述沉淀室的底部設有收集框。
通過采用上述技術方案,能夠方便工人上去修護。
本發明的有益效果是:
1.與現有技術相比,本發明中,通過設置的過濾室,能夠對含氟廢水中的雜質進行過濾處理,通過沉淀室的設置,能夠在含氟廢水進入沉淀室內時,對廢水中的氟進行處理,實現沉淀,使得處理后的水液達到排放標準。
2.與現有技術相比,本發明中,通過設置的攪拌組件,能夠對沉淀室中的廢水進行攪拌使其與處理劑能夠充分反應,從而實現快速沉淀,提升處理效率。
3.與現有技術相比,本發明中,通過出料組件的設置,能夠在沉淀室對廢水處理后,對沉淀物進行實現快速排出。
(發明人:劉永華;壽浙瓊;張羽豐)






