公布日:2023.12.08
申請日:2023.07.28
分類號:C02F11/00(2006.01)I;B02C1/12(2006.01)I;C02F103/28(2006.01)N
摘要
本發明提供了一種防泥鈣化的水處理系統,涉及污泥防鈣化技術領域,包括:污水處理塔和噴淋部分;所述污水處理塔底部焊接有四根支撐腿,四根支撐腿均與地面接觸;所述污水處理塔內安裝有噴淋部分。又因每個所述連接板上均安裝有一個彈簧桿,兩個彈簧桿的上方一端分別與兩個頂板的底端面接觸,當彈簧桿彈性伸展時,此時破碎桿與污水處理塔內壁底端面之間的距離為5cm,在使用過程中通過彈簧桿可實現破碎桿的向上復位,解決了在噴淋過程中如果噴淋范圍不夠全面容易的導致部分泥土鈣化,當泥土出現結塊時,此時接近鈣化,且當泥土結塊時不容易吸收水分,進而導致防鈣化效果降低的問題。

權利要求書
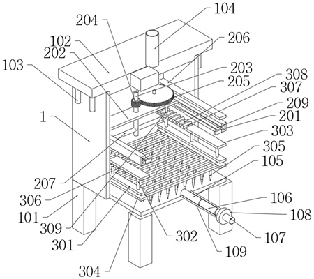
1.一種防泥鈣化的水處理系統,其特征在于,包括:污水處理塔(1)和噴淋部分(2);所述污水處理塔(1)底部焊接有四根支撐腿(101),四根支撐腿(101)均與地面接觸;所述污水處理塔(1)內安裝有噴淋部分(2);所述噴淋部分(2)由軌道(201)、滑動塊(202)、送水管(203)、第一齒輪(204)、第二齒輪(205)、齒排(206)、噴淋管(207)、噴孔(208)和電動伸縮桿(209)組成,軌道(201)共設有兩個,兩個軌道(201)對稱固定在污水處理塔(1)內部,兩個軌道(201)上滑動連接有一個滑動塊(202),滑動塊(202)上轉動連接有一根送水管(203),送水管(203)下方一端連接有噴淋管(207);所述噴淋管(207)為圓柱形管狀結構,噴淋管(207)外壁底端面呈環形陣列狀開設有噴孔(208)。
2.如權利要求1所述一種防泥鈣化的水處理系統,其特征在于:所述送水管(203)上安裝有一個第一齒輪(204);滑動塊(202)上轉動連接有一個第二齒輪(205),第二齒輪(205)與第一齒輪(204)嚙合,污水處理塔(1)內壁右端面安裝有齒排(206),齒排(206)與第一齒輪(204)嚙合;右側一個軌道(201)上安裝有一根電動伸縮桿(209),電動伸縮桿(209)后側一端固定在滑動塊(202)上,當電動伸縮桿(209)伸縮時滑動塊(202)呈前后移動狀態,此時在第二齒輪(205)、第一齒輪(204)以及齒排(206)的傳動下送水管(203)呈轉動狀態。
3.如權利要求1所述一種防泥鈣化的水處理系統,其特征在于:所述污水處理塔(1)頂端面扣接有一個蓋板(102),蓋板(102)上安裝有進液管(104),蓋板(102)為階梯狀結構,蓋板(102)下半部分以及階梯處分別與污水處理塔(1)的內壁以及頂端面接觸。
4.如權利要求3所述一種防泥鈣化的水處理系統,其特征在于:所述蓋板(102)左端面以及右端面分別位于污水處理塔(1)左端面的左側以及右端面的右側位置;蓋板(102)底端面呈矩形陣列狀焊接有八根支撐桿(103),當支撐桿(103)與放置位置接觸時,蓋板(102)的底端面不與放置位置接觸。
5.如權利要求1所述一種防泥鈣化的水處理系統,其特征在于:所述污水處理塔(1)上安裝有破碎部分(3);破碎部分(3)由連接板(301)、滑動桿(302)、頂板(303)、第二安裝座(304)、破碎桿(305)、彈簧桿(306)、凹槽(307)、凸起(308)和擠壓桿(309)組成,連接板(301)共設有兩塊,兩塊連接板(301)分別焊接在污水處理塔(1)的內壁左端面以及內壁右端面,每塊連接板(301)上均焊接有兩根滑動桿(302),左側兩根滑動桿(302)的上方一端均與一塊頂板(303)焊接相連,右側兩根滑動桿(302)的上方一端與另外一塊頂板(303)焊接相連,四根滑動桿(302)的下方一端均與第二安裝座(304)焊接相連,第二安裝座(304)底端面呈矩形陣列狀焊接有破碎桿(305),破碎桿(305)與污水處理塔(1)內壁底端面之間的距離為5cm,破碎桿(305)下方一端為尖狀結構。
6.如權利要求5所述一種防泥鈣化的水處理系統,其特征在于:每個所述連接板(301)上均安裝有一個彈簧桿(306),兩個彈簧桿(306)的上方一端分別與兩個頂板(303)的底端面接觸,當彈簧桿(306)彈性伸展時,此時破碎桿(305)與污水處理塔(1)內壁底端面之間的距離為5cm。
7.如權利要求5所述一種防泥鈣化的水處理系統,其特征在于:每個所述頂板(303)頂端面均呈線性陣列狀開設有凹槽(307),凹槽(307)為半圓柱形槽狀結構;滑動塊(202)底端面對稱焊接有兩根擠壓桿(309),兩根擠壓桿(309)均為圓柱形桿狀結構,兩根擠壓桿(309)下方一端均經過打磨處理,經過打磨處理后擠壓桿(309)下方一端為弧形結構,兩根擠壓桿(309)分別與兩個頂板(303)上的凹槽(307)卡接,當滑動塊(202)前后移動時在擠壓桿(309)的擠壓下頂板(303)呈上下往復運動狀態,此時破碎桿(305)也呈上下往復運動狀態。
8.如權利要求6所述一種防泥鈣化的水處理系統,其特征在于:每塊所述頂板(303)上均呈線性陣列狀焊接有凸起(308),凸起(308)為半圓柱型結構,凸起(308)與凹槽(307)呈交錯狀設置,當滑動塊(202)前后移動時擠壓桿(309)與凸起(308)呈連續彈性接觸狀態。
9.如權利要求3所述一種防泥鈣化的水處理系統,其特征在于:所述蓋板(102)上安裝有控制盒(4),控制盒(4)內安裝有微處理器(401)和計時器(402),微處理器(401)和計時器(402)電性相連,微處理器(401)與電動伸縮桿(209)電性相連;計時器(402)內設置有計時參數,計時器(402)內的計時參數為20秒。
10.如權利要求1所述一種防泥鈣化的水處理系統,其特征在于:所述污水處理塔(1)上連接有排液管(105),排液管(105)上連接有連接管(106),連接管(106)上連接有排放管(107),排放管(107)上焊接有第一安裝座(108),第一安裝座(108)通過兩根連接桿(109)與排液管(105)焊接相連,連接管(106)為橡膠材質。
發明內容
有鑒于此,本發明提供一種防泥鈣化的水處理系統,其具有噴淋部分的破碎部分,通過噴淋部分和破碎部分的設置,能夠在噴淋的同時實現泥土的破碎,進而降低了泥土鈣化的幾率。
本發明一種防泥鈣化的水處理系統的目的與功效,由以下具體技術手段所達成:
本發明提供了一種防泥鈣化的水處理系統,具體包括:污水處理塔和噴淋部分;所述污水處理塔底部焊接有四根支撐腿,四根支撐腿均與地面接觸;所述污水處理塔內安裝有噴淋部分;所述噴淋部分由軌道、滑動塊、送水管、第一齒輪、第二齒輪、齒排、噴淋管、噴孔和電動伸縮桿組成,軌道共設有兩個,兩個軌道對稱固定在污水處理塔內部,兩個軌道上滑動連接有一個滑動塊,滑動塊上轉動連接有一根送水管,送水管下方一端連接有噴淋管,使用時當滑動塊左右滑動時噴淋管也呈左右移動狀態,此時可擴展噴淋范圍,降低了泥土鈣化的幾率;所述噴淋管為圓柱形管狀結構,噴淋管外壁底端面呈環形陣列狀開設有噴孔,此時可提高噴淋范圍,也就降低了泥土感化的幾率。
進一步的,所述送水管上安裝有一個第一齒輪;
滑動塊上轉動連接有一個第二齒輪,第二齒輪與第一齒輪嚙合,污水處理塔內壁右端面安裝有齒排,齒排與第一齒輪嚙合;
右側一個軌道上安裝有一根電動伸縮桿,電動伸縮桿后側一端固定在滑動塊上,當電動伸縮桿伸縮時滑動塊呈前后移動狀態,此時在第二齒輪、第一齒輪以及齒排的傳動下送水管呈轉動狀態,此時可進一步實現噴灑范圍的擴展,也就降低了泥土鈣化的幾率。
進一步的,所述污水處理塔頂端面扣接有一個蓋板,蓋板上安裝有進液管,蓋板為階梯狀結構,蓋板下半部分以及階梯處分別與污水處理塔的內壁以及頂端面接觸,此時可提高污水處理塔與蓋板之間的密封性能。
進一步的,所述蓋板左端面以及右端面分別位于污水處理塔左端面的左側以及右端面的右側位置;
蓋板底端面呈矩形陣列狀焊接有八根支撐桿,當支撐桿與放置位置接觸時,蓋板的底端面不與放置位置接觸,此時可避免蓋板在放置時出現磕碰,進而導致后續安裝時密封效果降低。
進一步的,所述污水處理塔上安裝有破碎部分;
破碎部分由連接板、滑動桿、頂板、第二安裝座、破碎桿、彈簧桿、凹槽、凸起和擠壓桿組成,連接板共設有兩塊,兩塊連接板分別焊接在污水處理塔的內壁左端面以及內壁右端面,每塊連接板上均焊接有兩根滑動桿,左側兩根滑動桿的上方一端均與一塊頂板焊接相連,右側兩根滑動桿的上方一端與另外一塊頂板焊接相連,四根滑動桿的下方一端均與第二安裝座焊接相連,第二安裝座底端面呈矩形陣列狀焊接有破碎桿,破碎桿與污水處理塔內壁底端面之間的距離為5cm,破碎桿下方一端為尖狀結構,當第二安裝座向下移動時通過破碎桿可實現泥土的破碎,此時可方便泥土吸收水分,也就降低了泥土鈣化的幾率。
進一步的,每個所述連接板上均安裝有一個彈簧桿,兩個彈簧桿的上方一端分別與兩個頂板的底端面接觸,當彈簧桿彈性伸展時,此時破碎桿與污水處理塔內壁底端面之間的距離為5cm,在使用過程中通過彈簧桿可實現破碎桿的向上復位。
進一步的,每個所述頂板頂端面均呈線性陣列狀開設有凹槽,凹槽為半圓柱形槽狀結構;
滑動塊底端面對稱焊接有兩根擠壓桿,兩根擠壓桿均為圓柱形桿狀結構,兩根擠壓桿下方一端均經過打磨處理,經過打磨處理后擠壓桿下方一端為弧形結構,兩根擠壓桿分別與兩個頂板上的凹槽卡接,當滑動塊前后移動時在擠壓桿的擠壓下頂板呈上下往復運動狀態,此時破碎桿也呈上下往復運動狀態,此時可完成泥土對的初步破碎。
進一步的,每塊所述頂板上均呈線性陣列狀焊接有凸起,凸起為半圓柱型結構,凸起與凹槽呈交錯狀設置,當滑動塊前后移動時擠壓桿與凸起呈連續彈性接觸狀態,此時破碎桿的上下移動距離得到擴展,也就完成了泥土的破碎效果。
進一步的,所述蓋板上安裝有控制盒,控制盒內安裝有微處理器和計時器,微處理器和計時器電性相連,微處理器與電動伸縮桿電性相連;
計時器內設置有計時參數,計時器內的計時參數為20秒,在使用過沖中,每過20秒計時器向微處理器發送一次信號,此時微處理器控制電動伸縮桿完成一次伸縮,此時也就完成了自動化的噴淋。
進一步的,所述污水處理塔上連接有排液管,排液管上連接有連接管,連接管上連接有排放管,排放管上焊接有第一安裝座,第一安裝座通過兩根連接桿與排液管焊接相連,連接管為橡膠材質,當需要對排液管進行清堵時,此時只需要擠壓排液管即可完成回流清堵。
有益效果
通過噴淋部分的破碎部分的設置,一方面,因軌道共設有兩個,兩個軌道對稱固定在污水處理塔內部,兩個軌道上滑動連接有一個滑動塊,滑動塊上轉動連接有一根送水管,送水管下方一端連接有噴淋管,使用時當滑動塊左右滑動時噴淋管也呈左右移動狀態,此時可擴展噴淋范圍,降低了泥土鈣化的幾率;又因所述噴淋管為圓柱形管狀結構,噴淋管外壁底端面呈環形陣列狀開設有噴孔,此時可提高噴淋范圍,也就降低了泥土感化的幾率;又因所述送水管上安裝有一個第一齒輪;滑動塊上轉動連接有一個第二齒輪,第二齒輪與第一齒輪嚙合,污水處理塔內壁右端面安裝有齒排,齒排與第一齒輪嚙合;右側一個軌道上安裝有一根電動伸縮桿,電動伸縮桿后側一端固定在滑動塊上,當電動伸縮桿伸縮時滑動塊呈前后移動狀態,此時在第二齒輪、第一齒輪以及齒排的傳動下送水管呈轉動狀態,此時可進一步實現噴灑范圍的擴展,也就降低了泥土鈣化的幾率;
另一方面,因連接板共設有兩塊,兩塊連接板分別焊接在污水處理塔的內壁左端面以及內壁右端面,每塊連接板上均焊接有兩根滑動桿,左側兩根滑動桿的上方一端均與一塊頂板焊接相連,右側兩根滑動桿的上方一端與另外一塊頂板焊接相連,四根滑動桿的下方一端均與第二安裝座焊接相連,第二安裝座底端面呈矩形陣列狀焊接有破碎桿,破碎桿與污水處理塔內壁底端面之間的距離為5cm,破碎桿下方一端為尖狀結構,當第二安裝座向下移動時通過破碎桿可實現泥土的破碎,此時可方便泥土吸收水分,也就降低了泥土鈣化的幾率;又因每個所述連接板上均安裝有一個彈簧桿,兩個彈簧桿的上方一端分別與兩個頂板的底端面接觸,當彈簧桿彈性伸展時,此時破碎桿與污水處理塔內壁底端面之間的距離為5cm,在使用過程中通過彈簧桿可實現破碎桿的向上復位;又因每個所述頂板頂端面均呈線性陣列狀開設有凹槽,凹槽為半圓柱形槽狀結構;滑動塊底端面對稱焊接有兩根擠壓桿,兩根擠壓桿均為圓柱形桿狀結構,兩根擠壓桿下方一端均經過打磨處理,經過打磨處理后擠壓桿下方一端為弧形結構,兩根擠壓桿分別與兩個頂板上的凹槽卡接,當滑動塊前后移動時在擠壓桿的擠壓下頂板呈上下往復運動狀態,此時破碎桿也呈上下往復運動狀態,此時可完成泥土對的初步破碎;又因每塊所述頂板上均呈線性陣列狀焊接有凸起,凸起為半圓柱型結構,凸起與凹槽呈交錯狀設置,當滑動塊前后移動時擠壓桿與凸起呈連續彈性接觸狀態,此時破碎桿的上下移動距離得到擴展,也就完成了泥土的破碎效果。
通過蓋板和支撐桿的設置,因污水處理塔頂端面扣接有一個蓋板,蓋板上安裝有進液管,蓋板為階梯狀結構,蓋板下半部分以及階梯處分別與污水處理塔的內壁以及頂端面接觸,此時可提高污水處理塔與蓋板之間的密封性能;又因所述蓋板左端面以及右端面分別位于污水處理塔左端面的左側以及右端面的右側位置;蓋板底端面呈矩形陣列狀焊接有八根支撐桿,當支撐桿與放置位置接觸時,蓋板的底端面不與放置位置接觸,此時可避免蓋板在放置時出現磕碰,進而導致后續安裝時密封效果降低。
通過進液管、排液管、連接管和排放管的設置,因污水處理塔上連接有排液管,排液管上連接有連接管,連接管上連接有排放管,排放管上焊接有第一安裝座,第一安裝座通過兩根連接桿與排液管焊接相連,連接管為橡膠材質,當需要對排液管進行清堵時,此時只需要擠壓排液管即可完成回流清堵。
(發明人:陳歡歡;李彩鵬;周凱;張帥;韓勇)






