公布日:2023.11.24
申請日:2023.09.01
分類號:C02F1/52(2023.01)I;C02F1/00(2023.01)I;B01D33/03(2006.01)I;B01D33/76(2006.01)I;B01D33/54(2006.01)I
摘要
本發明屬于廢水處理領域,具體的說是一種芯片生產線的廢水聯合處理裝置及其方法,包括廢水箱;所述廢水箱底端固接有L形塊;所述L形塊的水平面上通過彈簧固接有反應箱,反應箱側壁滑動連接在L形塊豎直內側壁上,且反應箱位于廢水箱下方;所述廢水箱和反應箱底端相對于位置處分別開設有第一出水口和第二出水口;所述第一出水口通過第一開關件開合,第二出水口通過第二開關件開合;所述反應箱底端開設有放料件;以解決現有的研磨廢水處理,多數是一次性對大量的廢水進行處理,其倒入混凝劑進行攪拌反應處理,由于廢水量較大,倒入的混凝劑進行攪拌,易出現反應不充分情況,導致廢水有害物殘留過多,排放后影響環境的技術問題。

權利要求書
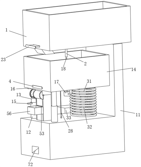
1.一種芯片生產線的廢水聯合處理裝置,其特征在于:包括廢水箱(1);所述廢水箱(1)底端固接有L形塊(11);所述L形塊(11)的水平面上通過彈簧固接有反應箱(14),反應箱(14)側壁滑動連接在L形塊(11)豎直內側壁上,且反應箱(14)位于廢水箱(1)下方;所述廢水箱(1)和反應箱(14)底端相對于位置處分別開設有第一出水口(19)和第二出水口(191);所述第一出水口(19)通過第一開關件開合,第二出水口(191)通過第二開關件開合;所述反應箱(14)底端開設有放料件;所述反應箱(14)底端通過L形柱固接有電機(17),且電機(17)的輸出端設有轉動軸(18),轉動軸(18)貫穿伸入反應箱(14)內并固接有一組攪拌桿(181);所述反應箱(14)的升降帶動第一開關件的開合;所述轉動軸(18)的轉動帶動第二開關件的開合;所述L形塊(11)的水平面上固接有第一固定柱(12),且第一固定柱(12)內部為空腔設置;所述反應箱(14)底端固接有第二固定柱(13),且第二固定柱(13)貫穿伸入第一固定柱(12)的空腔內;所述第一固定柱(12)側壁固接有正極板(15);所述反應箱(14)底端固接有負極板(16);所述正極板(15)和負極板(16)相互貼合時,電機(17)通電工作。
2.根據權利要求1所述的一種芯片生產線的廢水聯合處理裝置,其特征在于:所述第一開關件包括第一擋水板(23);所述廢水箱(1)的底部開設有第一凹槽(21);所述第一出水口(19)內壁上開設有第一回形槽(22);所述第一回形槽(22)內滑動連接有第一擋水板(23),且第一擋水板(23)一端伸出廢水箱(1)外;所述第一凹槽(21)內通過轉軸轉動連接有第一Z形板(25);所述第一Z形板(25)端部上固接有第一直角三角塊(24);所述第一擋水板(23)的一側固接有第一連接柱(29),且第一連接柱(29)伸入第一凹槽(21)內并固接有第一倒直角梯形塊(26),且第一倒直角梯形塊(26)與第一直角三角塊(24)的斜面相互平行,且位置相對應;所述第一倒直角梯形塊(26)的底端開設有第一卡位槽;所述第一凹槽(21)的槽底設有第一導向輪(27);所述轉動軸(18)頂端轉動連接有拉桿(2);所述拉桿(2)和第一倒直角梯形塊(26)的一側之間固接有第一拉繩(28),且第一拉繩(28)的貫穿第一Z形板(25)并通過第一導向輪(27)導向;所述第一Z形板(25)的頂部與第一凹槽(21)的槽底通過彈簧固接;所述第一擋水板(23)通過螺栓連接在廢水箱(1)側壁上。
3.根據權利要求1所述的一種芯片生產線的廢水聯合處理裝置,其特征在于:所述放料件包括T形噴頭(3);所述反應箱(14)底壁固接有T形噴頭(3);所述反應箱(14)底端固接有滑動筒(31),且滑動筒(31)內壁上密封滑動有活塞筒(32);所述活塞筒(32)底端固接在L形塊(11)水平面上;所述滑動筒(31)頂端和T形噴頭(3)相互連通;所述L形塊(11)側壁上固接有物料箱(33);所述活塞筒(32)通過軟管(34)和物料箱(33)相互連通;所述軟管(34)和T形噴頭(3)內均設有單向閥。
4.根據權利要求1所述的一種芯片生產線的廢水聯合處理裝置,其特征在于:所述第二開關件包括第二擋水板(4)和推動單元;所述反應箱(14)的底部開設有第二凹槽(41);所述第二出水口(191)內壁上開設有第二回形槽(42);所述第二回形槽(42)內滑動連接有第二擋水板(4),且第二擋水板(4)一端伸出反應箱(14)外;所述第二凹槽(41)內通過轉軸轉動連接有第二Z形板(44);所述第二Z形板(44)端部上固接有第二直角三角塊(43);所述第二擋水板(4)的一側固接有第二連接柱(48),且第二連接柱(48)伸入第二凹槽(41)內并固接有第二倒直角梯形塊(47),且第二倒直角梯形塊(47)與第二直角三角塊(43)的斜面相互平行,且位置相對應;所述第二倒直角梯形塊(47)的底端開設有第二卡位槽;所述第二凹槽(41)的槽底設有第二導向輪(46);所述L形塊(11)的水平面和第二倒直角梯形塊(47)的一側之間固接有第二拉繩(45),且第二拉繩(45)的貫穿第二Z形板(44)并通過第二導向輪(46)導向;所述第二Z形板(44)的頂部與第二凹槽(41)的槽底通過彈簧固接;所述第二Z形板(44)下方通過推動單元向上推動;所述第二擋水板(4)通過螺栓連接在反應箱(14)側壁上。
5.根據權利要求4所述的一種芯片生產線的廢水聯合處理裝置,其特征在于:所述推動單元包括第一摩擦環(36);所述反應箱(14)底端內開設有圓形腔(35);所述轉動軸(18)貫穿圓形腔(35),且轉動軸(18)位于圓形腔(35)內的軸上固接有第一摩擦環(36);所述圓形腔(35)內壁上固接有空心環(37);所述第一摩擦環(36)外壁和空心環(37)內壁相互貼合;所述空心環(37)底端固接有U形管(38),且空心環(37)和U形管(38)相互連通;且U形管(38)的另一端部位于第二Z形板(44)下方,且U形管(38)端部內壁上密封滑動連接有頂柱(39),且頂柱(39)和第二Z形板(44)底端相互貼合;所述U形管(38)和空心環(37)內充入氣體。
6.根據權利要求5所述的一種芯片生產線的廢水聯合處理裝置,其特征在于:所述第一固定柱(12)空腔內充滿液壓油;所述第二固定柱(13)伸入第一固定柱(12)內的端部上固接有密封板(7),且密封板(7)上密封滑動連接在第一固定柱(12)的中空腔內壁上;所述密封板(7)上開設有一組第一通孔(71)。
7.根據權利要求4所述的一種芯片生產線的廢水聯合處理裝置,其特征在于:所述第二出水口(191)底部固接有出料筒(5),且出料筒(5)側壁上轉動連接有固定柱(52),且固定柱(52)伸入出料筒(5)內并固接有一組弧形葉片(51);所述出料筒(5)的一側開設有出料通槽(53);所述出料筒(5)內側壁開設有弧形槽(54);所述出料筒(5)內鉸接有過濾板(55),且過濾板(55)一端與弧形槽(54)位置相對應;所述固定柱(52)通過聯動件帶動過濾板(55)轉動;所述出料筒(5)的一側固接有收集箱(56),且收集箱(56)與出料通槽(53)位置相對應;所述L形塊(11)的水平面上開設有折形通槽(72),且出料筒(5)滑動連接在折形通槽(72)內。
8.根據權利要求7所述的一種芯片生產線的廢水聯合處理裝置,其特征在于:所述聯動件包括圓盤(57);所述固定柱(52)的一端貫穿出料筒(5)并固接有圓盤(57),且圓盤(57)一側固接有一組三角斜塊(58),且一組三角斜塊(58)呈圓形;所述弧形槽(54)的側壁開設有弧形通槽(59),且弧形通槽(59)與過濾板(55)位置相對應;所述過濾板(55)的一側固接有擺動柱(60),且擺動柱(60)的一端伸出弧形通槽(59)轉動連接有L形擺動桿(61);所述L形擺動桿(61)的一端轉動連接有三角塊(62),且三角塊(62)位置與三角斜塊(58)位置相對應。
9.根據權利要求8所述的一種芯片生產線的廢水聯合處理裝置,其特征在于:所述出料筒(5)側壁鉸接有刮板(63),且刮板(63)底端和過濾板(55)頂端相互接觸。
10.一種芯片生產線的廢水聯合處理方法,該方法適用于操控上述權利要求1-9的任意一項的一種芯片生產線的廢水聯合處理裝置,其特征在于:該方法步驟如下:S1:芯片產生線的廢水通過第一擋水板(23)打開第一出水口(19)流入反應箱(14)內,增加反應箱(14)重量,使反應箱(14)向下移動,通過反應箱(14)帶動拉桿(2)向下運動,帶動第一拉繩(28)對第一擋水板(23)形成拉力從而使第一擋水板(23)關閉第一出水口(19);從而使廢水箱(1)內廢水定量流入反應箱(14)內,并通過反應箱(14)向下運動,帶動活塞筒(32)與滑動筒(31)形成擠壓,使滑動筒(31)內的混凝劑按照反應箱(14)內廢水量進行配比放入,以此來對廢水反應的混凝劑精準配比;S2:通過電機(17)帶動攪拌桿(181)轉動,攪拌混凝劑和廢水形成固體雜質,同時電機(17)帶動轉動軸(18)轉動,使第二擋水板(4)打開第二出水口(191),反應完全的廢水從第二出水口(191)流出;S3:通過廢水從第二出水口(191)流到導向筒內,經過弧形葉片(51),從而帶動弧形葉片(51)轉動,從而帶動圓盤(57)轉動,從而帶動過濾板(55)上下擺動振動,加快固體雜質滾動到收集箱(56)內,同時將過濾后的廢水排出。
發明內容
為了彌補現有技術的不足,以解決現有的研磨廢水處理,多數是一次性對大量的廢水進行處理,其倒入混凝劑進行攪拌反應處理,由于廢水量較大,倒入的混凝劑進行攪拌,易出現反應不充分情況,導致廢水有害物殘留過多,影響環境的技術問題。
本發明解決其技術問題所采用的技術方案是:本發明所述的一種芯片生產線的廢水聯合處理裝置,包括廢水箱;所述廢水箱底端固接有L形塊;所述L形塊的水平面上通過彈簧固接有反應箱,反應箱側壁滑動連接在L形塊豎直內側壁上,且反應箱位于廢水箱下方;所述廢水箱和反應箱底端相對于位置處分別開設有第一出水口和第二出水口;所述第一出水口通過第一開關件開合,第二出水口通過第二開關件開合;所述反應箱底端開設有放料件;所述反應箱底端通過L形柱固接有電機,且電機的輸出端設有轉動軸,轉動軸貫穿伸入反應箱內并固接有一組攪拌桿;所述反應箱的升降帶動第一開關件的開合;所述轉動軸的轉動帶動第二開關件的開合;所述L形塊的水平面上固接有第一固定柱,且第一固定柱內部為空腔設置;所述反應箱底端固接有第二固定柱,且第二固定柱貫穿伸入第一固定柱的中空腔內;所述第一固定柱側壁固接有正極板;所述反應箱底端固接有負極板;所述正極板和負極板相互貼合時,電機通電工作。
優選的,所述第一開關件包括第一擋水板;所述廢水箱的底部開設有第一凹槽;所述第一出水口內壁上開設有第一回形槽;所述第一回形槽內滑動連接有第一擋水板,且第一擋水板一端伸出廢水箱外;所述第一凹槽內通過轉軸轉動連接有第一Z形板;所述第一Z形板端部上固接有第一直角三角塊;所述第一擋水板的一側固接有第一連接柱,且第一連接柱伸入第一凹槽內并固接有第一倒直角梯形塊,且第一倒直角梯形塊與第一直角三角塊的斜面相互平行,且位置相對應;所述第一倒直角梯形塊的底端開設有第一卡位槽;所述第一凹槽的槽底設有第一導向輪;所述轉動軸頂端轉動連接有拉桿;所述拉桿和第一倒直角梯形塊的一側之間固接有第一拉繩,且第一拉繩的貫穿第一Z形板并通過第一導向輪導向;所述第一Z形板的頂部與第一凹槽的槽底通過彈簧固接;所述第一擋水板通過螺栓連接在廢水箱側壁上。
優選的,所述反應箱底壁固接有T形噴頭;所述反應箱底端固接有滑動筒,且滑動筒內壁上密封滑動有活塞筒;所述活塞筒底端固接在L形塊水平面上;所述滑動筒頂端和T形噴頭相互連通;所述L形塊側壁上固接有物料箱;所述活塞筒通過軟管和物料箱相互連通;所述軟管和T形噴頭內均設有單向閥。
優選的,所述第二開關件包括第二擋水板和推動單元;所述反應箱的底部開設有第二凹槽;所述第二出水口內壁上開設有第二回形槽;所述第二回形槽內滑動連接有第二擋水板,且第二擋水板一端伸出反應箱外;所述第二凹槽內通過轉軸轉動連接有第二Z形板;所述第二Z形板端部上固接有第二直角三角塊;所述第二擋水板的一側固接有第二連接柱,且第二連接柱伸入第二凹槽內并固接有第二倒直角梯形塊,且第二倒直角梯形塊與第二直角三角塊的斜面相互平行,且位置相對應;所述第二倒直角梯形塊的底端開設有第二卡位槽;所述第二凹槽的槽底設有第二導向輪;所述L形塊的水平面和第二倒直角梯形塊的一側之間固接有第二拉繩,且第二拉繩的貫穿第二Z形板并通過第二導向輪導向;所述第二Z形板的頂部與第二凹槽的槽底通過彈簧固接;所述第二Z形板下方通過推動單元向上推動;所述第二擋水板通過螺栓連接在反應箱側壁上。
優選的,所述推動單元包括第一摩擦環;所述反應箱底端內開設有圓形腔;所述轉動軸貫穿圓形腔,且轉動軸位于圓形腔內的軸上固接有第一摩擦環;所述圓形腔內壁上固接有空心環;所述第一摩擦環外壁和空心環內壁相互貼合;所述空心環底端固接有U形管,且空心環和U形管相互連通;且U形管的另一端部位于第二Z形板下方,且U形管端部內壁上密封滑動連接有頂柱,且頂柱和第二Z形板底端相互貼合;所述U形管和空心環內充入氣體。
優選的,所述第一固定柱空腔內充滿液壓油;所述第二固定柱伸入第一固定柱內的端部上固接有密封板,且密封板上密封滑動連接在第一固定柱的中空腔內壁上;所述密封板上開設有一組第一通孔。
優選的,所述第二出水口底部固接有出料筒,且出料筒側壁上轉動連接有固定柱,且固定柱伸入出料筒內并固接有一組弧形葉片;所述出料筒的一側開設有出料通槽;所述出料筒內側壁開設有弧形槽;所述出料筒內鉸接有過濾板,且過濾板一端與弧形槽位置相對應;所述固定柱通過聯動件帶動過濾板轉動;所述出料筒的一側固接有收集箱,且收集箱與出料通槽位置相對應;所述L形塊的水平面上開設有折形通槽,且出料筒滑動連接在折形通槽內。
優選的,所述聯動件包括圓盤;所述固定柱的一端貫穿出料筒并固接有圓盤,且圓盤一側固接有一組三角斜塊,且一組三角斜塊呈圓形;所述弧形槽的側壁開設有弧形通槽,且弧形通槽與過濾板位置相對應;所述過濾板的一側固接有擺動柱,且擺動柱的一端伸出弧形通槽轉動連接有L形擺動桿;所述L形擺動桿的一端轉動連接有三角塊,且三角塊位置與三角斜塊位置相對應。
優選的,所述弧形槽側壁鉸接有刮板,且刮板底端和過濾板頂端相互接觸。
一種芯片生產線的廢水聯合處理方法,該方法適用于操控上述的一種芯片生產線的廢水聯合處理裝置,該方法步驟如下:
S1:芯片產生線的廢水通過第一擋水板打開第一出水口流入反應箱內,增加反應箱重量,使反應箱向下移動,通過反應箱帶動拉桿向下運動,帶動第一拉繩對第一擋水板形成拉力從而使第一擋水板關閉第一出水口;從而使廢水箱內廢水定量流入反應箱內,并通過反應箱向下運動,帶動活塞筒與滑動筒形成擠壓,使滑動筒內的混凝劑按照反應箱內廢水量進行配比放入,以此來對廢水反應的混凝劑精準配比;
S2:通過電機帶動攪拌桿轉動,攪拌混凝劑和廢水形成固體雜質,同時電機帶動轉動軸轉動,使第二擋水板打開第二出水口,反應完全的廢水從第二出水口流出;
S3:通過廢水從第二出水口流到導向筒內,經過弧形葉片,從而帶動弧形葉片轉動,從而帶動圓盤轉動,從而帶動過濾板上下擺動振動,加快固體雜質滾動到收集箱內,同時將過濾后的廢水排出。
本發明的有益效果如下:
1.本發明所述的一種芯片生產線的廢水聯合處理裝置及其方法,讓廢水箱的廢水能夠分批下料操作,同時廢水箱的下降程度能夠決定放料件的通入的混凝劑的量,讓廢水和混凝劑處于等比狀態,保證反應充分,且不會出現浪費的情況,上述操作能夠達到循環自動放水、反應、進料和排出的操作,保證對廢水的處理質量和處理效率,且無需人工在一旁進行輔助,操作方便,大大節約人工,同時利用防呆法避免人為的失誤的情況。
2.本發明所述的一種芯片生產線的廢水聯合處理裝置及其方法,通過第二出水口打開,帶動反應完的廢水流入出料筒,其中出料筒為方形,廢水流過弧形葉片,其弧形葉片為弧形,廢水對弧形葉片施加重力,從而帶動弧形葉片轉動,從而帶動固定柱轉動,從而帶動聯動件,使過濾板上下擺動,通過過濾板呈度斜面鉸接在出料通槽內,廢水通過過濾板過濾,其固體雜質通過過濾板上下擺動形成振動,加快固體滾動到收集箱內,從而防止過濾板堆積過多固體雜質形成堵塞。
(發明人:陳振國;李一凡;于偉;李云超;梁家婷;張恒;李力)






